Думаю фрезер 300х300х100
- alexg-nn
- Мастер
- Сообщения: 793
- Зарегистрирован: 08 фев 2015, 12:45
- Репутация: 127
- Настоящее имя: Алексей
- Откуда: Нижний Новгород
- Контактная информация:
Re: Думаю фрезер 300х300х100
Товарисчи-умельцы, подскажите, пожалуйста, на какой максимальный вылет фрезы ориентироваться при обработке, скажем, алюминия торцевой фрезой 6мм? Прикидываю высоту шпинделя над столом...
- Дрюня
- Почётный участник

- Сообщения: 2040
- Зарегистрирован: 25 ноя 2013, 00:19
- Репутация: 1504
- Настоящее имя: Андрей
- Откуда: Днепр
- Контактная информация:
Re: Думаю фрезер 300х300х100
Я думаю нужно ориентироваться на толщину будующих заготовок, высоту тисков...
У меня к примеру клиренс между столом и порталом 100 мм, а шпиндель в самом хомуте поднимаю/опускаю в зависимости от задачи.
У меня к примеру клиренс между столом и порталом 100 мм, а шпиндель в самом хомуте поднимаю/опускаю в зависимости от задачи.
- alexg-nn
- Мастер
- Сообщения: 793
- Зарегистрирован: 08 фев 2015, 12:45
- Репутация: 127
- Настоящее имя: Алексей
- Откуда: Нижний Новгород
- Контактная информация:
Re: Думаю фрезер 300х300х100
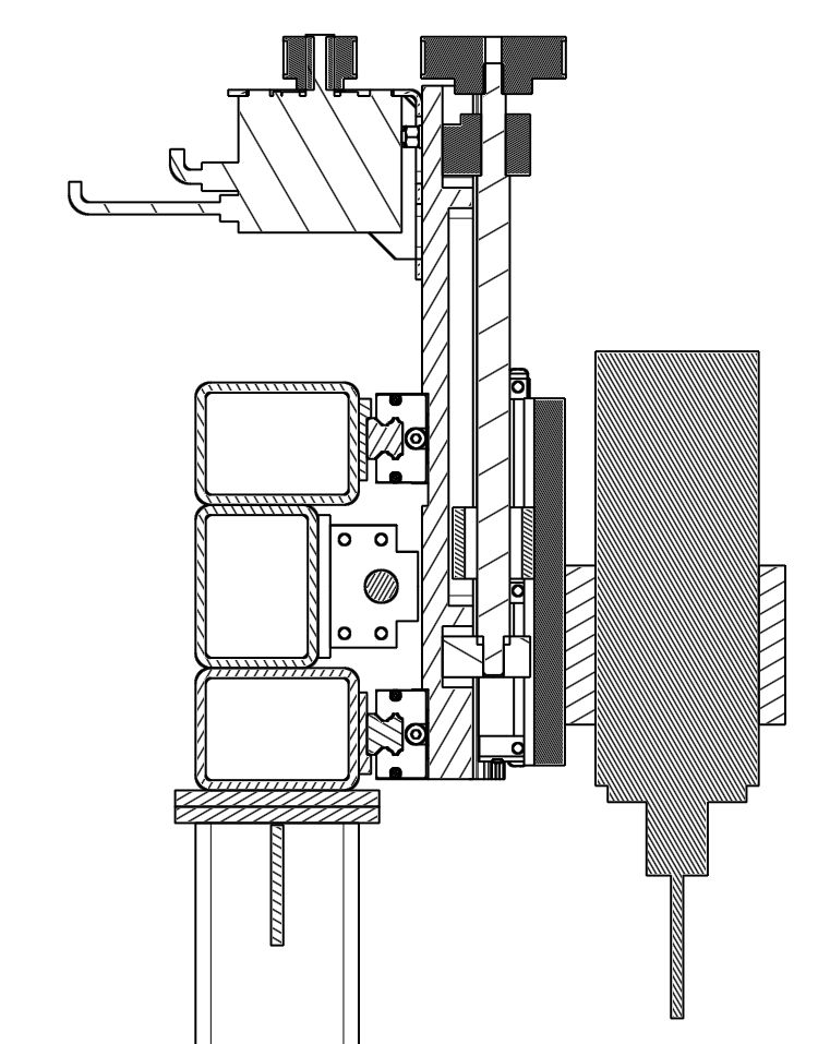
Продолжаю проектирование.
В муках родились суппорта Y и Z
Суппорт Y из листа дюрали 25-30мм. Рельсы на суппорте Y, суппорт Z - просто плита дюраля 16-20мм. Такая компоновка мне больше подошла, хотя изначально задумывал перевернутый вариант. В разрезе это выглядит как то так (не обращайте внимания на штриховку, там всё считается цельными телами) В пространстве между мотором и верхней трубой я полагаю пустить кабельканал.
Общая компоновка выглядит таким образом Первоначально я планировал сделать суппорт Y длиной 300мм и ходом по Z 100мм, но стандартная длина рельса или 280мм или 340мм, я выбрал второе - будет место под гофрозащиту, например.
Правда вылет суппорта вверх мне не совсем нравится, ЦТ по моим расчётам всё равно будет ближе к опоре за счёт некого противовеса мотора.
Рад буду услышать комментарии
В муках родились суппорта Y и Z
Суппорт Y из листа дюрали 25-30мм. Рельсы на суппорте Y, суппорт Z - просто плита дюраля 16-20мм. Такая компоновка мне больше подошла, хотя изначально задумывал перевернутый вариант. В разрезе это выглядит как то так (не обращайте внимания на штриховку, там всё считается цельными телами) В пространстве между мотором и верхней трубой я полагаю пустить кабельканал.
Общая компоновка выглядит таким образом Первоначально я планировал сделать суппорт Y длиной 300мм и ходом по Z 100мм, но стандартная длина рельса или 280мм или 340мм, я выбрал второе - будет место под гофрозащиту, например.
Правда вылет суппорта вверх мне не совсем нравится, ЦТ по моим расчётам всё равно будет ближе к опоре за счёт некого противовеса мотора.
Рад буду услышать комментарии
- verser
- Мастер
- Сообщения: 1905
- Зарегистрирован: 21 июл 2013, 22:28
- Репутация: 1282
- Настоящее имя: Сергей
- Откуда: Тбилиси
- Контактная информация:
Re: Думаю фрезер 300х300х100
А видели как здорово сделал защиту frezeryga? Пыль не забивается в гофру, требует минимум места.alexg-nn писал(а):...будет место под гофрозащиту...
Концепция Вашего станка нравится. Заливать пустоты в трубах планируете?
- alexg-nn
- Мастер
- Сообщения: 793
- Зарегистрирован: 08 фев 2015, 12:45
- Репутация: 127
- Настоящее имя: Алексей
- Откуда: Нижний Новгород
- Контактная информация:
Re: Думаю фрезер 300х300х100
Да, конечно видел. Но у меня вряд ли выйдет приделать подобное.
Пропущено "как"? )
Что то я недопонялverser писал(а):Пыль не забивается в гофру, требует минимум места.
- verser
- Мастер
- Сообщения: 1905
- Зарегистрирован: 21 июл 2013, 22:28
- Репутация: 1282
- Настоящее имя: Сергей
- Откуда: Тбилиси
- Контактная информация:
Re: Думаю фрезер 300х300х100
простоalexg-nn писал(а): Что то я недопонялПропущено "как"? )
- alexg-nn
- Мастер
- Сообщения: 793
- Зарегистрирован: 08 фев 2015, 12:45
- Репутация: 127
- Настоящее имя: Алексей
- Откуда: Нижний Новгород
- Контактная информация:
Re: Думаю фрезер 300х300х100
А, вы о X. Ну, тут ещё можно подумать, смотря как двигатель встанет внизу. Но на Y и Z - не залезет.
Про заливку труб - я оставлю отверстия, если придумаю чем и как заливать - может будет. Даже склоняюсь к варианту не заливать, а засыпать - песком или дробью. Ну или пеной просто монтажной.
Про заливку труб - я оставлю отверстия, если придумаю чем и как заливать - может будет. Даже склоняюсь к варианту не заливать, а засыпать - песком или дробью. Ну или пеной просто монтажной.
- verser
- Мастер
- Сообщения: 1905
- Зарегистрирован: 21 июл 2013, 22:28
- Репутация: 1282
- Настоящее имя: Сергей
- Откуда: Тбилиси
- Контактная информация:
Re: Думаю фрезер 300х300х100
Это расстояние я бы спрятал вниз, и снизил бы за этот счет высоту вылета всей стойки YZ(в Вашем понимании YZ, а в моём - это XZ
), этот вылет чем меньше - тем лучше
- alexg-nn
- Мастер
- Сообщения: 793
- Зарегистрирован: 08 фев 2015, 12:45
- Репутация: 127
- Настоящее имя: Алексей
- Откуда: Нижний Новгород
- Контактная информация:
Re: Думаю фрезер 300х300х100
А как в таком случае будет выглядеть рама, как вы думаете?verser писал(а):Это расстояние я бы спрятал вниз
Я, разумеется, рад бы уменьшить "ноги", но никак не придумал вариант, где бы направляющие стола были ниже уровня опор портала.
В данный момент рама такая На мой взгляд, вполне жёсткая и какая-никакая, но пространственная.
Я, честно сказать, не вдавался в подробности, обычно считая, что портал - это Y, ось фрезы - Z, значит на стол остаётся Xverser писал(а):в Вашем понимании YZ, а в моём - это XZ
ЗЫ
Пл раме - был у меня ещё вариант вывернуть её наоборот - продольные трубы сомкнуть ближе и на них крепить рельсы, а швеллера наоборот разнести по краям и на них опереть "ноги" портала.
Может быть рассмотреть его получше...
Re: Думаю фрезер 300х300х100
Там рельсы от кая до края.Если просто опустить стыки под рельсом будут,середину оставь как есть,добавь по бакам две трубы на всю длину.verser писал(а):Это расстояние я бы спрятал вниз
Да гранаты у него не той системы.
- ukr-sasha
- Мастер
- Сообщения: 3401
- Зарегистрирован: 21 мар 2011, 07:47
- Репутация: 2181
- Настоящее имя: Украинец Александр Григорьевич
- Откуда: Киев, Украина
- Контактная информация:
Re: Думаю фрезер 300х300х100
Для такой компоновки стойки слабоваты.alexg-nn писал(а):Общая компоновка выглядит таким образом
Делайте укосы в сторону шпинделя, хотя бы до его центра.
Сделайте симуляцию в СолидВоркс, как будет гнуться у вас станина.
И плита, которая держит шпиндель - слабое место. Нужно делать в форме короба.
- alexg-nn
- Мастер
- Сообщения: 793
- Зарегистрирован: 08 фев 2015, 12:45
- Репутация: 127
- Настоящее имя: Алексей
- Откуда: Нижний Новгород
- Контактная информация:
Re: Думаю фрезер 300х300х100
Пардон, не совсем понял? Может набросаете эскизно на моей картинке?ukr-sasha писал(а):Делайте укосы в сторону шпинделя, хотя бы до его центра.
По идее, стойку можно усилить просто второй трубой рядом. Меня же в моей версии больше смущает крепление балки портала к стойкам )ukr-sasha писал(а):Для такой компоновки стойки слабоваты.
Вроде, с одной стороны - удобно, поставил и притянул. А с другой - вроде площадь контакта балки меньше её высоты, может опрокинуть.
Работаю в катии и, честно говоря, как сделать статический анализ сборки - не знаю, нагружал только отдельные детали. Но попробую так или иначе.ukr-sasha писал(а):Сделайте симуляцию в СолидВоркс, как будет гнуться у вас станина.
Суппорт Z можно усилить, согласен.ukr-sasha писал(а):И плита, которая держит шпиндель - слабое место. Нужно делать в форме короба.
- frezeryga
- Почётный участник

- Сообщения: 13713
- Зарегистрирован: 18 авг 2013, 16:08
- Репутация: 5069
- Откуда: Жуковский
- Контактная информация:
Re: Думаю фрезер 300х300х100
как вариант вашего исполнения.
email frezeryga@yandex.ru
instagram https://www.instagram.com/frezeryga
telegram https://t.me/md_cnc_frezeryga https://t.me/frezeryga
instagram https://www.instagram.com/frezeryga
telegram https://t.me/md_cnc_frezeryga https://t.me/frezeryga
- alexg-nn
- Мастер
- Сообщения: 793
- Зарегистрирован: 08 фев 2015, 12:45
- Репутация: 127
- Настоящее имя: Алексей
- Откуда: Нижний Новгород
- Контактная информация:
Re: Думаю фрезер 300х300х100
frezeryga, здорово! Что-то мне такая в голову не приходила
Приму в разработку.
- frezeryga
- Почётный участник

- Сообщения: 13713
- Зарегистрирован: 18 авг 2013, 16:08
- Репутация: 5069
- Откуда: Жуковский
- Контактная информация:
Re: Думаю фрезер 300х300х100
и правильно говорят все что плоское должно быть с ребрами. плита дюраля 30мм гнетса только впуть и жесткости не имеет.
email frezeryga@yandex.ru
instagram https://www.instagram.com/frezeryga
telegram https://t.me/md_cnc_frezeryga https://t.me/frezeryga
instagram https://www.instagram.com/frezeryga
telegram https://t.me/md_cnc_frezeryga https://t.me/frezeryga
- ukr-sasha
- Мастер
- Сообщения: 3401
- Зарегистрирован: 21 мар 2011, 07:47
- Репутация: 2181
- Настоящее имя: Украинец Александр Григорьевич
- Откуда: Киев, Украина
- Контактная информация:
Re: Думаю фрезер 300х300х100
Красным отмечена слабая зона. В таком варианте, думаю ,кончик фрезы с легкостью вибрировал бы +\- 0,1мм.alexg-nn писал(а):Может набросаете эскизно на моей картинке?
- alexg-nn
- Мастер
- Сообщения: 793
- Зарегистрирован: 08 фев 2015, 12:45
- Репутация: 127
- Настоящее имя: Алексей
- Откуда: Нижний Новгород
- Контактная информация:
Re: Думаю фрезер 300х300х100
Ну, плиту Z усилить всегда можно. Меня с этой позиции больше волнует суппорт Y. По идее на нём ещё и рельсы, должен пожёсче быть из-за этого.
Это, конечно, здорово, но в моей конструкции слабо реализуемо - все же опора портала не из листа, который можно сделать любой формы. Размышляю дальше.ukr-sasha писал(а):Красным отмечена слабая зона.
- frezeryga
- Почётный участник

- Сообщения: 13713
- Зарегистрирован: 18 авг 2013, 16:08
- Репутация: 5069
- Откуда: Жуковский
- Контактная информация:
Re: Думаю фрезер 300х300х100
и ненадо экономить металл. я бы сделал так.
email frezeryga@yandex.ru
instagram https://www.instagram.com/frezeryga
telegram https://t.me/md_cnc_frezeryga https://t.me/frezeryga
instagram https://www.instagram.com/frezeryga
telegram https://t.me/md_cnc_frezeryga https://t.me/frezeryga
- frezeryga
- Почётный участник

- Сообщения: 13713
- Зарегистрирован: 18 авг 2013, 16:08
- Репутация: 5069
- Откуда: Жуковский
- Контактная информация:
Re: Думаю фрезер 300х300х100
рельсы жесткость недают забудьте про них 20й рельс рукой гнетса на несколько десяток на ура.
email frezeryga@yandex.ru
instagram https://www.instagram.com/frezeryga
telegram https://t.me/md_cnc_frezeryga https://t.me/frezeryga
instagram https://www.instagram.com/frezeryga
telegram https://t.me/md_cnc_frezeryga https://t.me/frezeryga
- alexg-nn
- Мастер
- Сообщения: 793
- Зарегистрирован: 08 фев 2015, 12:45
- Репутация: 127
- Настоящее имя: Алексей
- Откуда: Нижний Новгород
- Контактная информация:
Re: Думаю фрезер 300х300х100
Кстати, если использовать раму 1-ой версии frezeryga
, то балку портала можно поставить между опор.

К тому же прятать мотор внизу не получится.
Эмм, не забывайте, что там стальная труба 5-6 мм. Это чересчур много и по весу, и по жёсткости, я полагаю. Посчитаю, конечно, ради интереса вес, но сваривать поверочную плиту из труб я не планировалfrezeryga писал(а):я бы сделал так
К тому же прятать мотор внизу не получится.
Последний раз редактировалось alexg-nn 15 мар 2015, 22:24, всего редактировалось 1 раз.