но смысл правильный
Homing configuration ?
- Nick
- Мастер
- Сообщения: 22776
- Зарегистрирован: 23 ноя 2009, 16:45
- Репутация: 1735
- Заслуга: Developer
- Откуда: Gatchina, Saint-Petersburg distr., Russia
- Контактная информация:
Re: Homing configuration ?
не, он ищет в сторону +
но смысл правильный
но смысл правильный
- dinkata
- Мастер
- Сообщения: 1029
- Зарегистрирован: 05 сен 2014, 09:07
- Репутация: 391
- Настоящее имя: Диньо
- Откуда: Болгария
- Контактная информация:
Re: Homing configuration ?
Ну как будет ето ? Скажите пожалуйста как на человек ,которьй ели ели знает русский.UAVpilot писал(а):Можно сделать вот так:
HOME = 0.0
HOME_OFFSET = 31.0
Home будет где надо, только находить его оно будет по своему...
Извините меня ,но если в ваше вьйражение ест хоть одно слово с скрьйтом подтексте ,я наверно не пойму.
В итоге я вижу два варианта пользоват лимит и для хоум HOME_IGNORE_LIMITS = YES.В каждьй надо предосмотрет скорост
HOME_SEARCH_VEL так ,что нажимая на лимит ,замедление до останов и реверса не бьйли механические проблем .
Вар.1 без индекса ,Вар3 с индекса ( в 14 мм имеем 1 индекс- швп шаг 10 мм мотор с енкодером 1:1 к швп ).
Какая разница между те вариантьй ? Какой лучше ?
Простите ошибки, я иностранец.У моя клавиатура нету "э" и "ы"
- Nick
- Мастер
- Сообщения: 22776
- Зарегистрирован: 23 ноя 2009, 16:45
- Репутация: 1735
- Заслуга: Developer
- Откуда: Gatchina, Saint-Petersburg distr., Russia
- Контактная информация:
Re: Homing configuration ?
С индексом лучше! С индексом гораздо точнее!
Используй датчик home. Это лучше чем использовать лимит.
0.00 и 14.0 это координаты датчика и конечного положения?
Т.е. получается, что ищем в сторону "-"?
Используй датчик home. Это лучше чем использовать лимит.
0.00 и 14.0 это координаты датчика и конечного положения?
Т.е. получается, что ищем в сторону "-"?
- dinkata
- Мастер
- Сообщения: 1029
- Зарегистрирован: 05 сен 2014, 09:07
- Репутация: 391
- Настоящее имя: Диньо
- Откуда: Болгария
- Контактная информация:
Re: Homing configuration ?
нет , ищем в сторону "+"Nick писал(а):0.00 и 14.0 это координаты датчика и конечного положения?
Т.е. получается, что ищем в сторону "-"?
HOME_OFFSET = 14.0
HOME =0.0
ето при вариант 1 использование POSITIVE LIMIT SWITH как и HOME_SWITCH т.е HOME_IGNORE_LIMITS=1
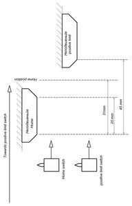
Проблем в том что HOME находится между HOME_SWITCH и POSITIVE LIMIT SWITH
Посмотрите разположение (в етой тему #14 ) пожалуйста и помогите ,если сможите
мне надо сделат хоминг по диаграм в #1
Кому что надо назначит чтоб получится ?
Последний раз редактировалось dinkata 27 окт 2014, 18:25, всего редактировалось 1 раз.
Простите ошибки, я иностранец.У моя клавиатура нету "э" и "ы"
- Nick
- Мастер
- Сообщения: 22776
- Зарегистрирован: 23 ноя 2009, 16:45
- Репутация: 1735
- Заслуга: Developer
- Откуда: Gatchina, Saint-Petersburg distr., Russia
- Контактная информация:
Re: Homing configuration ?
Любой из 3 или 4.
Напиши по пунктам:
1. координата датчика home.
2. координата, где остановиться в конце
3. координаты пределов оси
Напиши по пунктам:
1. координата датчика home.
2. координата, где остановиться в конце
3. координаты пределов оси
- dinkata
- Мастер
- Сообщения: 1029
- Зарегистрирован: 05 сен 2014, 09:07
- Репутация: 391
- Настоящее имя: Диньо
- Откуда: Болгария
- Контактная информация:
Re: Homing configuration ?
пока редактировал ,
сейчас ,сейчас ,ну посмотрите наконец где находится у меня HomeNick писал(а):Напиши по пунктам:
Простите ошибки, я иностранец.У моя клавиатура нету "э" и "ы"
- dinkata
- Мастер
- Сообщения: 1029
- Зарегистрирован: 05 сен 2014, 09:07
- Репутация: 391
- Настоящее имя: Диньо
- Откуда: Болгария
- Контактная информация:
Re: Homing configuration ?
- на фото ZaxisNick писал(а): координаты пределов оси
-на фото HomingLimitSwitchNick писал(а):1. координата датчика home.
2. координата, где остановиться в конце
Насколько я понял возможно что некоторьйе слова не означают для Вас то
что означает для меня ,при етом я не очень хорошо понимаю русский язьйк ,поетому лучше с диаграм и рисунок.
Спасибо для внимание .
Простите ошибки, я иностранец.У моя клавиатура нету "э" и "ы"
- dinkata
- Мастер
- Сообщения: 1029
- Зарегистрирован: 05 сен 2014, 09:07
- Репутация: 391
- Настоящее имя: Диньо
- Откуда: Болгария
- Контактная информация:
Re: Homing configuration ?
а в пост 16 на фото видно кто где находится
Простите ошибки, я иностранец.У моя клавиатура нету "э" и "ы"
- Serg
- Мастер
- Сообщения: 21923
- Зарегистрирован: 17 апр 2012, 14:58
- Репутация: 5183
- Заслуга: c781c134843e0c1a3de9
- Настоящее имя: Сергей
- Откуда: Москва
- Контактная информация:
Re: Homing configuration ?
HOME = -14
HOME_OFFSET = -45
HOME_USE_INDEX = YES
HOME_SEARCH_VEL = 100
HOME_FINAL_VEL = 30
#для варианта 3
HOME_LATCH_VEL = -10
#для варианта 4
HOME_LATCH_VEL = 10
P.S. А почему направление по Y развёрнуто наоборот?..
HOME_OFFSET = -45
HOME_USE_INDEX = YES
HOME_SEARCH_VEL = 100
HOME_FINAL_VEL = 30
#для варианта 3
HOME_LATCH_VEL = -10
#для варианта 4
HOME_LATCH_VEL = 10
P.S. А почему направление по Y развёрнуто наоборот?..
Я не Христос, рыбу не раздаю, но могу научить, как сделать удочку...
- dinkata
- Мастер
- Сообщения: 1029
- Зарегистрирован: 05 сен 2014, 09:07
- Репутация: 391
- Настоящее имя: Диньо
- Откуда: Болгария
- Контактная информация:
Re: Homing configuration ?
спасибо UAVpilot ,но я опят ... 
етие
пока я тестирую на столе заметил что кнопочки на кейпад для Х и У работают наоборот ,нажимаем
стрелочка влево а стол Х идет вправо ,там говорят что ест разница как смотриш
- куда идет инструмент или куда идет стол
tool direction or table direction .........
ой ,ой с етой Linuxcnc...продолжаем копат
етие
мне похожат если я возму Positive limit switch для Home switchUAVpilot писал(а):HOME = -14
HOME_OFFSET = -45
Станок именно так ,а рисунок из Linuxcnc User Manual V2.6.2UAVpilot писал(а):P.S. А почему направление по Y развёрнуто наоборот?..
пока я тестирую на столе заметил что кнопочки на кейпад для Х и У работают наоборот ,нажимаем
стрелочка влево а стол Х идет вправо ,там говорят что ест разница как смотриш
- куда идет инструмент или куда идет стол
tool direction or table direction .........
ой ,ой с етой Linuxcnc...продолжаем копат
Простите ошибки, я иностранец.У моя клавиатура нету "э" и "ы"
- NightV
- Почётный участник

- Сообщения: 6611
- Зарегистрирован: 30 дек 2011, 09:14
- Репутация: 2279
- Настоящее имя: Владимир Айрапетян
- Откуда: Israel
- Контактная информация:
Re: Homing configuration ?
так и должно быть, стол перемещается относительно шпинделя, а не относительно тебя.dinkata писал(а):стрелочка влево а стол Х идет вправо
то есть нажимаеш вправо и стол должен ехать влево так идет обработка в право.
я тоже по началу парился с этим, потом дошло что к чему
Всё просто! если знаешь КАК!
- Serg
- Мастер
- Сообщения: 21923
- Зарегистрирован: 17 апр 2012, 14:58
- Репутация: 5183
- Заслуга: c781c134843e0c1a3de9
- Настоящее имя: Сергей
- Откуда: Москва
- Контактная информация:
Re: Homing configuration ?
Я именно так и сделал. Просто по правилам у оси Z в самом верху 0, а внизу -650.dinkata писал(а): мне похожат если я возму Positive limit switch для Home switch
Если сделать иначе (+650..0), то стандартная безобидная команда поднятия инструмента "G53 G0 Z0" воткнёт инструмент в стол.
Если показано движение стола, то всё правильно.dinkata писал(а):- куда идет инструмент или куда идет стол
Правда обычно показывают движение инструмента относительно стола...
Я не Христос, рыбу не раздаю, но могу научить, как сделать удочку...
- NightV
- Почётный участник

- Сообщения: 6611
- Зарегистрирован: 30 дек 2011, 09:14
- Репутация: 2279
- Настоящее имя: Владимир Айрапетян
- Откуда: Israel
- Контактная информация:
Re: Homing configuration ?
да, так будет правильнее сказать.UAVpilot писал(а):Правда обычно показывают движение инструмента относительно стола...
еще добавлю, если у тебя НОМЕ справа-внизу, то все перемещения будут идти в минус по обоим осям (XY)
по Z ВСЕГДА в минус
PS
эти правила приняты для всех систем CNC, LinuxCNC не исключение, и придерживается тех же правил.
Всё просто! если знаешь КАК!
- dinkata
- Мастер
- Сообщения: 1029
- Зарегистрирован: 05 сен 2014, 09:07
- Репутация: 391
- Настоящее имя: Диньо
- Откуда: Болгария
- Контактная информация:
Re: Homing configuration ?
Опят спасибо UAVpilot ,уже начал понимат кое что .Значит "0" самое конечное положение ,на рисунок шкала "B" -да ?.UAVpilot писал(а): Просто по правилам у оси Z в самом верху 0, а внизу -650.
Простите мне дурака ,а я думал что "0" ето Home position - шкала "А"
Последний раз редактировалось dinkata 28 окт 2014, 08:50, всего редактировалось 1 раз.
Простите ошибки, я иностранец.У моя клавиатура нету "э" и "ы"
- dinkata
- Мастер
- Сообщения: 1029
- Зарегистрирован: 05 сен 2014, 09:07
- Репутация: 391
- Настоящее имя: Диньо
- Откуда: Болгария
- Контактная информация:
Re: Homing configuration ?
оно и так ,согласен с Вами.Я говорю об стрелочки на кейпад ,если имеем станок как на фото 1 -нет проблем.NightV писал(а):еще добавлю, если у тебя НОМЕ справа-внизу, то все перемещения будут идти в минус по обоим осям (XY)
А уменя как на фото2 ,скорее как на рисунок Mill configration-там хорошо видно.
тогда с нажатием стрелочка влево стол Х идет вправо ,нажимаем стрелочка вниз оператор ожидает что стол У
пойдет к нему а он уходит от него .На мой взгляд (а и на оператор тоже )надо переставит функции стрелочками на кейпад.
Подскажите как сделат ето ? Спасибо
Простите ошибки, я иностранец.У моя клавиатура нету "э" и "ы"
- Сергей Саныч
- Мастер
- Сообщения: 9116
- Зарегистрирован: 30 май 2012, 14:20
- Репутация: 2858
- Откуда: Тюмень
- Контактная информация:
Re: Homing configuration ?
Вообще-то, независимо от конструкции станка, все перемещения рассматриваются "с точки зрения шпинделя", даже если на самом деле движется стол. Оператор к этому привыкает достаточно быстро.dinkata писал(а):На мой взгляд (а и на оператор тоже )надо переставит функции стрелочками на кейпад.
Чудес не бывает. Бывают фокусы.
- NightV
- Почётный участник

- Сообщения: 6611
- Зарегистрирован: 30 дек 2011, 09:14
- Репутация: 2279
- Настоящее имя: Владимир Айрапетян
- Откуда: Israel
- Контактная информация:
Re: Homing configuration ?
правильно!Сергей Саныч писал(а):Вообще-то, независимо от конструкции станка, все перемещения рассматриваются "с точки зрения шпинделя", даже если на самом деле движется стол. Оператор к этому привыкает достаточно быстро.
Всё просто! если знаешь КАК!
- dinkata
- Мастер
- Сообщения: 1029
- Зарегистрирован: 05 сен 2014, 09:07
- Репутация: 391
- Настоящее имя: Диньо
- Откуда: Болгария
- Контактная информация:
Re: Homing configuration ?
Хорошо ,будем их привыкат.Спасибо вам.NightV писал(а): Сергей Саныч писал(а):Вообще-то, независимо от конструкции станка, все перемещения рассматриваются "с точки зрения шпинделя", даже если на самом деле движется стол. Оператор к этому привыкает достаточно быстро.
правильно!
А ради принципа
ето возможноdinkata писал(а):переставит функции стрелочками на кейпад.
Простите ошибки, я иностранец.У моя клавиатура нету "э" и "ы"
- Nick
- Мастер
- Сообщения: 22776
- Зарегистрирован: 23 ноя 2009, 16:45
- Репутация: 1735
- Заслуга: Developer
- Откуда: Gatchina, Saint-Petersburg distr., Russia
- Контактная информация:
Re: Homing configuration ?
Какие именно функции? Перемещение по осям? Да, возможно. По умолчанию когда станок в Ручном режиме оси управляются стрелочками с клавиатуры.dinkata писал(а):переставит функции стрелочками на кейпад.
- dinkata
- Мастер
- Сообщения: 1029
- Зарегистрирован: 05 сен 2014, 09:07
- Репутация: 391
- Настоящее имя: Диньо
- Откуда: Болгария
- Контактная информация:
Re: Homing configuration ?
Left -ето -Х , переставит на +хNick писал(а):Какие именно функции?
Right -ето +Х , переставит на -х
UP - ето -У , переставит на +У
Down ето +У , переставит на -У
Простите ошибки, я иностранец.У моя клавиатура нету "э" и "ы"
