можно сюда такой вот вопрос -
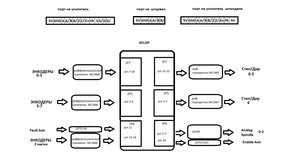
сделал плату опторазвязки на 6N137. Знал бы, что на большинстве LVTTL выводов КФлопа стоят pull-down резисторы, конечно, собрал бы на простых оптопарах. Но... дело сделано (16 каналов), отступать некуда

)
На выходе поставил подтягивающие резисторы 1кОм.
Оптопара открывается. Все просто отлично. Но на выходе тока хватает только на измерение мультиметром с высоким входным сопротивлением.
Стоит только подключить к любому 3,3 вольтовому выводу КФлопа, подтягивающий внутренний резистор КФлопа в 150 Ом просаживает напряжение до логического "0".
Чтобы ничего не переделывать, вопрос - КФлоп позволяет программно отключить эти свои внутренние резисторы? Мне нужен просто высокоимпедансный вход.
Мануал - читал, заснул с ним в руках, не нашел. Ткните пальцем, что ли.