Элекроэрозионный вырезной 4732ф3 (проволочный и не только)
-
aftaev
- Зачётный участник

- Сообщения: 34042
- Зарегистрирован: 04 апр 2010, 19:22
- Репутация: 6194
- Откуда: Казахстан.
- Контактная информация:
Re: Элекроэрозионный вырезной 4732ф3 (проволочный и не тольк
Я не прикалываюсь. Генератор может выдавать импульсы, а будет успевать силовая часть? Вот и спрашиваю силовая часть какие импульсы может пропустить?
Дилетанту сложные вещи кажутся очень простыми, и только профессионал понимает насколько сложна самая простая вещь
Кто хочет - ищет возможности, кто не хочет - ищет оправдание.
Найди работу по душе и тебе не придется работать.
Кто хочет - ищет возможности, кто не хочет - ищет оправдание.
Найди работу по душе и тебе не придется работать.
-
aleha
- Мастер
- Сообщения: 265
- Зарегистрирован: 30 ноя 2013, 19:16
- Репутация: 136
- Настоящее имя: Алексей
- Откуда: Алматы
- Контактная информация:
Re: Элекроэрозионный вырезной 4732ф3 (проволочный и не тольк
0.4 мкс может пропустить
-
aftaev
- Зачётный участник

- Сообщения: 34042
- Зарегистрирован: 04 апр 2010, 19:22
- Репутация: 6194
- Откуда: Казахстан.
- Контактная информация:
Re: Элекроэрозионный вырезной 4732ф3 (проволочный и не тольк
эт какая частота получаетсяaleha писал(а):0.4 мкс может пропустить
Дилетанту сложные вещи кажутся очень простыми, и только профессионал понимает насколько сложна самая простая вещь
Кто хочет - ищет возможности, кто не хочет - ищет оправдание.
Найди работу по душе и тебе не придется работать.
Кто хочет - ищет возможности, кто не хочет - ищет оправдание.
Найди работу по душе и тебе не придется работать.
-
aleha
- Мастер
- Сообщения: 265
- Зарегистрирован: 30 ноя 2013, 19:16
- Репутация: 136
- Настоящее имя: Алексей
- Откуда: Алматы
- Контактная информация:
Re: Элекроэрозионный вырезной 4732ф3 (проволочный и не тольк
0.4 импульс + 3 пауза типа 294 кгц - но практически все ниже в районе 160 граница будет посмотрю завтра уже с опто драивером
HCPL2601+MIC4451 12 амперный драйвер мосфетов (25ns)
HCPL2601+MIC4451 12 амперный драйвер мосфетов (25ns)
-
aftaev
- Зачётный участник

- Сообщения: 34042
- Зарегистрирован: 04 апр 2010, 19:22
- Репутация: 6194
- Откуда: Казахстан.
- Контактная информация:
Re: Элекроэрозионный вырезной 4732ф3 (проволочный и не тольк
а китайская плата умеет скорость подачи на ходу менять?
В эрозионных станках скорость задается примерно, а ЧПУ уже по ходу резки корректирует скорость подачи. Китайская плата так умеет.
на 7.59 мин видно как прыгает подача в Маче
https://www.youtube.com/watch?x-yt-ts=1 ... lO54IaE-iM
В эрозионных станках скорость задается примерно, а ЧПУ уже по ходу резки корректирует скорость подачи. Китайская плата так умеет.
на 7.59 мин видно как прыгает подача в Маче
https://www.youtube.com/watch?x-yt-ts=1 ... lO54IaE-iM
Дилетанту сложные вещи кажутся очень простыми, и только профессионал понимает насколько сложна самая простая вещь
Кто хочет - ищет возможности, кто не хочет - ищет оправдание.
Найди работу по душе и тебе не придется работать.
Кто хочет - ищет возможности, кто не хочет - ищет оправдание.
Найди работу по душе и тебе не придется работать.
-
aftaev
- Зачётный участник

- Сообщения: 34042
- Зарегистрирован: 04 апр 2010, 19:22
- Репутация: 6194
- Откуда: Казахстан.
- Контактная информация:
Re: Элекроэрозионный вырезной 4732ф3 (проволочный и не тольк
эт КороШо 
Дилетанту сложные вещи кажутся очень простыми, и только профессионал понимает насколько сложна самая простая вещь
Кто хочет - ищет возможности, кто не хочет - ищет оправдание.
Найди работу по душе и тебе не придется работать.
Кто хочет - ищет возможности, кто не хочет - ищет оправдание.
Найди работу по душе и тебе не придется работать.
-
aftaev
- Зачётный участник

- Сообщения: 34042
- Зарегистрирован: 04 апр 2010, 19:22
- Репутация: 6194
- Откуда: Казахстан.
- Контактная информация:
Re: Элекроэрозионный вырезной 4732ф3 (проволочный и не тольк
Мож заинтересует пока генератор не собрал http://www.chipmaker.ru/topic/69151/pag ... p__1883046
Дилетанту сложные вещи кажутся очень простыми, и только профессионал понимает насколько сложна самая простая вещь
Кто хочет - ищет возможности, кто не хочет - ищет оправдание.
Найди работу по душе и тебе не придется работать.
Кто хочет - ищет возможности, кто не хочет - ищет оправдание.
Найди работу по душе и тебе не придется работать.
-
aleha
- Мастер
- Сообщения: 265
- Зарегистрирован: 30 ноя 2013, 19:16
- Репутация: 136
- Настоящее имя: Алексей
- Откуда: Алматы
- Контактная информация:
Re: Элекроэрозионный вырезной 4732ф3 (проволочный и не тольк
Ага вот этот волшебный генератор http://item.taobao.com/item.htm?spm=a1z ... aobao_shop
-
aftaev
- Зачётный участник

- Сообщения: 34042
- Зарегистрирован: 04 апр 2010, 19:22
- Репутация: 6194
- Откуда: Казахстан.
- Контактная информация:
Re: Элекроэрозионный вырезной 4732ф3 (проволочный и не тольк
китайцы наверно как обычно сказки любят придумывать производительность ≥100mm/minaleha писал(а):Ага вот этот волшебный генератор
Дилетанту сложные вещи кажутся очень простыми, и только профессионал понимает насколько сложна самая простая вещь
Кто хочет - ищет возможности, кто не хочет - ищет оправдание.
Найди работу по душе и тебе не придется работать.
Кто хочет - ищет возможности, кто не хочет - ищет оправдание.
Найди работу по душе и тебе не придется работать.
-
nkp
- Мастер
- Сообщения: 8340
- Зарегистрирован: 28 ноя 2011, 00:25
- Репутация: 1589
- Контактная информация:
Re: Элекроэрозионный вырезной 4732ф3 (проволочный и не тольк
тут они не врут))aftaev писал(а):китайцы наверно как обычно сказки любят придумывать производительность ≥100mm/min
такая скорость резки допустим ала толщиной 1мм ))
===========
-
nkp
- Мастер
- Сообщения: 8340
- Зарегистрирован: 28 ноя 2011, 00:25
- Репутация: 1589
- Контактная информация:
Re: Элекроэрозионный вырезной 4732ф3 (проволочный и не тольк
вопрос ТСу:
если я правильно понял - генератор планируется "самодельный" ...
продуман ли вопрос безопасности?
ведь на заявленом станке протяжка не изолирована от корпуса...
как с этим?
ведь безконденсаторные схемы подразумевают высокое напряжение питания(300V ?) ...
будет ли развязка от сети?
если я правильно понял - генератор планируется "самодельный" ...
продуман ли вопрос безопасности?
ведь на заявленом станке протяжка не изолирована от корпуса...
как с этим?
ведь безконденсаторные схемы подразумевают высокое напряжение питания(300V ?) ...
будет ли развязка от сети?
-
aleha
- Мастер
- Сообщения: 265
- Зарегистрирован: 30 ноя 2013, 19:16
- Репутация: 136
- Настоящее имя: Алексей
- Откуда: Алматы
- Контактная информация:
Re: Элекроэрозионный вырезной 4732ф3 (проволочный и не тольк
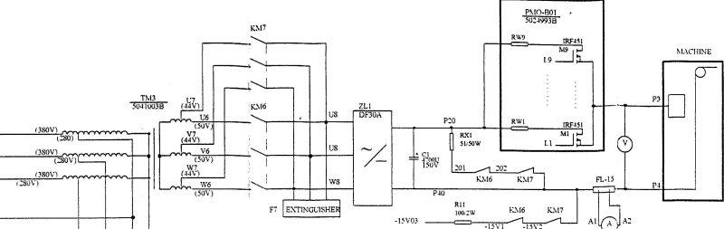
Питание развязано будет от сети трансом 3ф 110в 1.5 квт.
Стол с деталью точно изолирован и механизм подачи вроде тоже (хотя могу и ошибатся)
Стол с деталью точно изолирован и механизм подачи вроде тоже (хотя могу и ошибатся)
-
nkp
- Мастер
- Сообщения: 8340
- Зарегистрирован: 28 ноя 2011, 00:25
- Репутация: 1589
- Контактная информация:
Re: Элекроэрозионный вырезной 4732ф3 (проволочный и не тольк
в механизме подачи изолированы только два ролика ,с которых берется сигнал для адаптивной подачи...aleha писал(а):механизм подачи вроде тоже
-
aleha
- Мастер
- Сообщения: 265
- Зарегистрирован: 30 ноя 2013, 19:16
- Репутация: 136
- Настоящее имя: Алексей
- Откуда: Алматы
- Контактная информация:
Re: Элекроэрозионный вырезной 4732ф3 (проволочный и не тольк
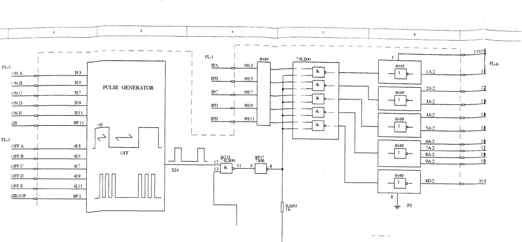
Сегодня с задающим генератором и драйвером занимался
структура такая arduino-uln2803-6n136-tc4429
самый короткий 0.5 мкс на осцилографе (дребезг херня просто без нагрузки драйвер завтра с ключами будет красивей)
структура такая arduino-uln2803-6n136-tc4429
самый короткий 0.5 мкс на осцилографе (дребезг херня просто без нагрузки драйвер завтра с ключами будет красивей)
-
aleha
- Мастер
- Сообщения: 265
- Зарегистрирован: 30 ноя 2013, 19:16
- Репутация: 136
- Настоящее имя: Алексей
- Откуда: Алматы
- Контактная информация:
Re: Элекроэрозионный вырезной 4732ф3 (проволочный и не тольк
А вот как устроены генераторы с таобао (дай бог здоровья Wite c chipmaker вот бы он всю схему бы выложил)
самая ценная информация за неделю -
самая ценная информация за неделю -
-
aftaev
- Зачётный участник

- Сообщения: 34042
- Зарегистрирован: 04 апр 2010, 19:22
- Репутация: 6194
- Откуда: Казахстан.
- Контактная информация:
Re: Элекроэрозионный вырезной 4732ф3 (проволочный и не тольк
aleha, что то ты маханькую Ардуинку взял 
Дилетанту сложные вещи кажутся очень простыми, и только профессионал понимает насколько сложна самая простая вещь
Кто хочет - ищет возможности, кто не хочет - ищет оправдание.
Найди работу по душе и тебе не придется работать.
Кто хочет - ищет возможности, кто не хочет - ищет оправдание.
Найди работу по душе и тебе не придется работать.
-
aleha
- Мастер
- Сообщения: 265
- Зарегистрирован: 30 ноя 2013, 19:16
- Репутация: 136
- Настоящее имя: Алексей
- Откуда: Алматы
- Контактная информация:
Re: Элекроэрозионный вырезной 4732ф3 (проволочный и не тольк
нанотехнологии 
-
aftaev
- Зачётный участник

- Сообщения: 34042
- Зарегистрирован: 04 апр 2010, 19:22
- Репутация: 6194
- Откуда: Казахстан.
- Контактная информация:
Re: Элекроэрозионный вырезной 4732ф3 (проволочный и не тольк
aleha, что будет в качестве датчика тока?
Дилетанту сложные вещи кажутся очень простыми, и только профессионал понимает насколько сложна самая простая вещь
Кто хочет - ищет возможности, кто не хочет - ищет оправдание.
Найди работу по душе и тебе не придется работать.
Кто хочет - ищет возможности, кто не хочет - ищет оправдание.
Найди работу по душе и тебе не придется работать.
-
aleha
- Мастер
- Сообщения: 265
- Зарегистрирован: 30 ноя 2013, 19:16
- Репутация: 136
- Настоящее имя: Алексей
- Откуда: Алматы
- Контактная информация:
Re: Элекроэрозионный вырезной 4732ф3 (проволочный и не тольк
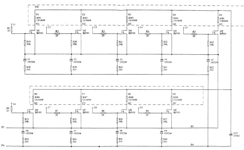
датчик тока будет только на стрелку !!!обратной связи у генератора по току не будет!!!
не будет никакого шима, плавной регулировки и прочих наворотов - будет просто молибденовой проволокой резать и все
!!!просто сегодня думал про мкс и про резку проволокой - понял что важней!!!
Будет защита по пропитию ключа !
сегодня купил irfp450+ -баластные резисторы
будет такая конфигурация
ключ-баластный резистор-нагрузка
ключ-баластный резистор-нагрузка
-баластный резистор
ключ-баластный резистор-нагрузка
-баластный резистор
-баластный резистор
-баластный резистор
ключ-баластный резистор-нагрузка
-баластный резистор
-баластный резистор
-баластный резистор
-баластный резистор
-баластный резистор
-баластный резистор
-баластный резистор
родственник вот этого http://www.cnc-club.ru/forum/download/f ... &mode=view
(и не лень мне вот это отмечать было
псевдографическая "хренотень")
не будет никакого шима, плавной регулировки и прочих наворотов - будет просто молибденовой проволокой резать и все
!!!просто сегодня думал про мкс и про резку проволокой - понял что важней!!!
Будет защита по пропитию ключа !
сегодня купил irfp450+ -баластные резисторы
будет такая конфигурация
ключ-баластный резистор-нагрузка
ключ-баластный резистор-нагрузка
-баластный резистор
ключ-баластный резистор-нагрузка
-баластный резистор
-баластный резистор
-баластный резистор
ключ-баластный резистор-нагрузка
-баластный резистор
-баластный резистор
-баластный резистор
-баластный резистор
-баластный резистор
-баластный резистор
-баластный резистор
родственник вот этого http://www.cnc-club.ru/forum/download/f ... &mode=view
(и не лень мне вот это отмечать было