Датчик потока жидкости для помпы шпинделя
- sergey27rus
- Почётный участник

- Сообщения: 1146
- Зарегистрирован: 15 авг 2013, 07:22
- Репутация: 730
- Настоящее имя: Сергей
- Откуда: Хабаровск Дальний Восток РФ
- Контактная информация:
Re: Датчик потока жидкости для помпы шпинделя
http://www.ascateringsupplies.co.uk/par ... e=ASC43146
Вот неплохой датчик, сталкиваюсь по работе, надежный, всего несколько раз менял на разных аппаратах, по лет 5 отработали, выход из строя в основном стачивание оси турбинки, работает на поток воды, выдает прямоугольный импульс (датчик Хола)
Вот неплохой датчик, сталкиваюсь по работе, надежный, всего несколько раз менял на разных аппаратах, по лет 5 отработали, выход из строя в основном стачивание оси турбинки, работает на поток воды, выдает прямоугольный импульс (датчик Хола)
- AlexNikov
- Мастер
- Сообщения: 1212
- Зарегистрирован: 05 янв 2014, 20:09
- Репутация: 721
- Настоящее имя: Алексей
- Откуда: Томск
- Контактная информация:
Re: Датчик потока жидкости для помпы шпинделя
Ценник у него конечно не детский
-
mikle
- Мастер
- Сообщения: 376
- Зарегистрирован: 24 май 2015, 10:13
- Репутация: 24
- Настоящее имя: Михаил
- Откуда: Иркутск
- Контактная информация:
Re: Датчик потока жидкости для помпы шпинделя
вот с датчиком холла - насчет надежности не знаю, но ценник.... http://ru.aliexpress.com/item/New-Water ... 23554.html
-
aftaev
- Зачётный участник

- Сообщения: 34042
- Зарегистрирован: 04 апр 2010, 19:22
- Репутация: 6194
- Откуда: Казахстан.
- Контактная информация:
Re: Датчик потока жидкости для помпы шпинделя
alexg-nn писал(а):На авито попался вот такой. Тут даташит. Заказал на будущее, приедет - покажу, если интересно.
Ультрозвуковой наверно. Купи мне с десяток :
http://www.ebay.com/sch/i.html?_odkw=si ... M&_sacat=0
Дилетанту сложные вещи кажутся очень простыми, и только профессионал понимает насколько сложна самая простая вещь
Кто хочет - ищет возможности, кто не хочет - ищет оправдание.
Найди работу по душе и тебе не придется работать.
Кто хочет - ищет возможности, кто не хочет - ищет оправдание.
Найди работу по душе и тебе не придется работать.
- alexg-nn
- Мастер
- Сообщения: 793
- Зарегистрирован: 08 фев 2015, 12:45
- Репутация: 127
- Настоящее имя: Алексей
- Откуда: Нижний Новгород
- Контактная информация:
Re: Датчик потока жидкости для помпы шпинделя
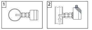
Я кстати, не нашёл его принцип работы. Но устанавливается он вот так: Так что, наверное, тензодатчик.aftaev писал(а):Ультрозвуковой наверно.
-
aftaev
- Зачётный участник

- Сообщения: 34042
- Зарегистрирован: 04 апр 2010, 19:22
- Репутация: 6194
- Откуда: Казахстан.
- Контактная информация:
Re: Датчик потока жидкости для помпы шпинделя
Находится за несколько сек:alexg-nn писал(а):Я кстати, не нашёл его принцип работы.
Дилетанту сложные вещи кажутся очень простыми, и только профессионал понимает насколько сложна самая простая вещь
Кто хочет - ищет возможности, кто не хочет - ищет оправдание.
Найди работу по душе и тебе не придется работать.
Кто хочет - ищет возможности, кто не хочет - ищет оправдание.
Найди работу по душе и тебе не придется работать.
- alexg-nn
- Мастер
- Сообщения: 793
- Зарегистрирован: 08 фев 2015, 12:45
- Репутация: 127
- Настоящее имя: Алексей
- Откуда: Нижний Новгород
- Контактная информация:
Re: Датчик потока жидкости для помпы шпинделя
Нуу, куда мне до опытных следопытовaftaev писал(а):Находится за несколько сек
А по описанию - круто, да
-
aftaev
- Зачётный участник

- Сообщения: 34042
- Зарегистрирован: 04 апр 2010, 19:22
- Репутация: 6194
- Откуда: Казахстан.
- Контактная информация:
Re: Датчик потока жидкости для помпы шпинделя
Смахивает на принцип работы кататермометраalexg-nn писал(а):А по описанию - круто, да
Дилетанту сложные вещи кажутся очень простыми, и только профессионал понимает насколько сложна самая простая вещь
Кто хочет - ищет возможности, кто не хочет - ищет оправдание.
Найди работу по душе и тебе не придется работать.
Кто хочет - ищет возможности, кто не хочет - ищет оправдание.
Найди работу по душе и тебе не придется работать.
- alexg-nn
- Мастер
- Сообщения: 793
- Зарегистрирован: 08 фев 2015, 12:45
- Репутация: 127
- Настоящее имя: Алексей
- Откуда: Нижний Новгород
- Контактная информация:
Re: Датчик потока жидкости для помпы шпинделя
aftaev, ну вы, конечно, гурман
Я вот полез гуглить, что это такое. В картинки там лучше не ходить, чтобы спать потом спокойно 
-
aftaev
- Зачётный участник

- Сообщения: 34042
- Зарегистрирован: 04 апр 2010, 19:22
- Репутация: 6194
- Откуда: Казахстан.
- Контактная информация:
Re: Датчик потока жидкости для помпы шпинделя
Кататермометрами мерят низкую скорость потока воздуха когда крыльчатые анемометры не справляются
Электронные кататермометры так же нагревают щуп до нужной температуры, а потом измеряют как быстро температура упала до температуры с которой его обдувают. Это если на пальцах 
Дилетанту сложные вещи кажутся очень простыми, и только профессионал понимает насколько сложна самая простая вещь
Кто хочет - ищет возможности, кто не хочет - ищет оправдание.
Найди работу по душе и тебе не придется работать.
Кто хочет - ищет возможности, кто не хочет - ищет оправдание.
Найди работу по душе и тебе не придется работать.
- N1X
- Мастер
- Сообщения: 3653
- Зарегистрирован: 16 фев 2015, 21:19
- Репутация: 1646
- Настоящее имя: Владимир
- Откуда: Беларусь, Гомель
- Контактная информация:
Re: Датчик потока жидкости для помпы шпинделя
А мне вот автомобильный ДМРВ сразу вспомнился )