StepMaster ver 2.5

Контроллеры, драйверы, датчики, управляющие устройства.
Аватара пользователя
michael-yurov
Почётный участник
Почётный участник
Сообщения: 11731
Зарегистрирован: 26 июл 2012, 00:10
Репутация: 4703
Настоящее имя: Михаил Львович
Откуда: Новоуральск
Контактная информация:

Re: StepMaster ver 2.5

Сообщение michael-yurov »

loi_28 писал(а): Есть необходимость подключить выход ALM+, ALM- драйвероа, к входу E-stop вашей платы. Можно ли сделать такое подключение и как правильно?
Если можно в настройках драйверов переключить выход на нормально разомкнутый, то подключить не сложно, и несколько драйверов можно было бы подключить параллельно к одному входу платы:
2017-05-15_22-41-33 (2).png (4346 просмотров) <a class='original' href='./download/file.php?id=205132&mode=view' target=_blank>Загрузить оригинал (135.44 КБ)</a>
Если такой настройки нет, то возникает ряд сложностей.
Последовательно, конечно, подключить можно... но тогда придется очень много всего подключать последовательно. А на разомкнутую цепь будут наводиться помехи. Т.е. сильно возрастет вероятность ложных срабатываний во время работы станка. И проблем возникнет больше, чем эти выходы ALM могут принести пользы.
Вторая проблема в падении напряжения на каждом выходе ошибки. Если их соединять последовательно, может не хватить напряжения питания входов на плате.
Проще проверить на практике.
Аватара пользователя
Сергей Саныч
Мастер
Сообщения: 9116
Зарегистрирован: 30 май 2012, 14:20
Репутация: 2858
Откуда: Тюмень
Контактная информация:

Re: StepMaster ver 2.5

Сообщение Сергей Саныч »

Приветствую, Михаил!
michael-yurov писал(а): А на разомкнутую цепь будут наводиться помехи. Т.е. сильно возрастет вероятность ложных срабатываний во время работы станка.
Во время работы станка цепь ALM будет замкнута, так что проблем с помехами быть не должно.
michael-yurov писал(а): Вторая проблема в падении напряжения на каждом выходе ошибки. Если их соединять последовательно, может не хватить напряжения питания входов на плате.
Это решается выбором напряжения питания. 12В будет вполне достаточно для надежной работы.
Из практики: последовательно подключены три НЗ выхода ALM сервошаговых драйверов + выход ALM частотника + кнопка аварийной остановки. Все это хозяйство подключено на вход обыкновенной китайской платы согласования. За два года, насколько помню, не было ни одного ложного срабатывания.
Чудес не бывает. Бывают фокусы.
Аватара пользователя
michael-yurov
Почётный участник
Почётный участник
Сообщения: 11731
Зарегистрирован: 26 июл 2012, 00:10
Репутация: 4703
Настоящее имя: Михаил Львович
Откуда: Новоуральск
Контактная информация:

Re: StepMaster ver 2.5

Сообщение michael-yurov »

Сергей Саныч писал(а): Во время работы станка цепь ALM будет замкнута
Да, ошибся.
Жаловались несколько раз пользователи на срабатывания при нормально замкнутой кнопке EStop.
В чем причина никто не расскажет.
Опять же и на замкнутый контур могут помехи магнитным полем наводиться, если площадь контура большая.
Сергей Саныч писал(а): Это решается выбором напряжения питания. 12В будет вполне достаточно для надежной работы.
Не могу я заменить преобразователи на тысяче уже проданных плат. К тому же, преобразователи довольно дорогие.
9 В выбрал из за большего максимального тока при равной мощности преобразователя.
loi_28
Кандидат
Сообщения: 91
Зарегистрирован: 04 дек 2018, 08:49
Репутация: 7
Настоящее имя: Николай
Контактная информация:

Re: StepMaster ver 2.5

Сообщение loi_28 »

Спасибо. Буду пробовать и так и так. Что получится отпишусь.
lkbyysq
Мастер
Сообщения: 2284
Зарегистрирован: 14 май 2016, 09:40
Репутация: 346
Настоящее имя: Станислав Ерофеев
Откуда: Санкт-Петербург

Re: StepMaster ver 2.5

Сообщение lkbyysq »

Подкинуть в цепь АLM-ов недостающие вольты посредством гальванически развязанного импульсного преобразователя, взяв для него питание да хоть с той же платы.
vecrby
Новичок
Сообщения: 1
Зарегистрирован: 07 ноя 2022, 10:32
Репутация: 0
Контактная информация:

Re: StepMaster ver 2.5

Сообщение vecrby »

Здравствуйте. Имеется частотник Sunfar E550, плата StepMaster ver. 2.5 и управляющая программа PUMOTIX. Проблема следующая: на частотнике настроено управление извне, границы от 0 и до 400 Гц соответственно. При регулировке в программе, напряжение на плате, на выходе 0-10 В, изменяется только в пределах от 8,62 до 10 В, частота при этом соответственно регулируется только от 357 до 400 Гц. А хотелось бы от 0 до 400 Гц.
Аватара пользователя
michael-yurov
Почётный участник
Почётный участник
Сообщения: 11731
Зарегистрирован: 26 июл 2012, 00:10
Репутация: 4703
Настоящее имя: Михаил Львович
Откуда: Новоуральск
Контактная информация:

Re: StepMaster ver 2.5

Сообщение michael-yurov »

Хорошо бы измерить при отключенном от платы инверторе.
Возможно, плата СтепМастера неисправна.
Пару лет назад были жалобы, что при работе с Пумотиксом плавали обороты. Я изменил немного прошивку, чтобы значения усреднялись.
Возможно, у Пумотикса какой-то хитрый алгоритм генерации ШИМ и отслеживается только общее отношение высокого и низкого уровня, но интервалы могут быть разными. Может быть поможет обновление прошивки степмастера (если отправить его ко мне). А может и не помочь...
Svyat
Новичок
Сообщения: 1
Зарегистрирован: 28 ноя 2022, 13:05
Репутация: 0
Настоящее имя: Святослав
Контактная информация:

Re: StepMaster ver 2.5

Сообщение Svyat »

Приветствую уважаемые форумчане.
Имеются драйвера QS7 серводвигателей, и плата StepMaster ver 2.5, как правильно их подружить, вижу такую схему, но есть вопрос Какой сигнал и каким номиналом выходить с ENBL платы мастера?
хочу управлять им реле...
Вложения
подключение.jpg (4036 просмотров) <a class='original' href='./download/file.php?id=205682&mode=view' target=_blank>Загрузить оригинал (162.82 КБ)</a>
Jonsonsh
Кандидат
Сообщения: 97
Зарегистрирован: 25 ноя 2020, 20:30
Репутация: 9
Настоящее имя: Евгений
Контактная информация:

Re: StepMaster ver 2.5

Сообщение Jonsonsh »

Подскажите по коэффициентам умножения частоты, а то не совсем понятен смысл и правильно ли я понимаю работу по LTP, ну например:
StepMaster подключен к Mach3 и соответственно в настройках Mach3 выбираем для LTP порта №1 частоту допустим 45 000Гц, в качестве мотора подключаем серводрайвер типа DELTA ASD-B2 (имеет энкодер 160 000, но мы применяем электронную редукцию в серво и останавливаемся на значении 10 000 имп./оборот или соответственно 2000 мм/1мм при ШВП с шагом 5мм), мы хотим чтобы ось бегала 5000 мм/мин, и соответственно получаем требуемую частоту для управления серво - 2000*5000/60=166 666 Гц, чтобы ось проехала 1мм пути со скоростью 5000 мм/мин, а у нас 45 000 Гц на весть LTP порт, т.е LPT порт просто не может выдать нужную частоту, соответственно, мы здесь применяем "Multiplier" на Stepmaster ну например 4 и получаем 180 000 Гц. Да, полученной частоты 180кГц хватает для управления серво, но при этом контроллером у нас является ПК с Mach3 и соответственно он считает, что чтобы достичь нужной точки на заданной скорости (5000), например Х1, нужно проделать 2000 шагов, но он физически не может выдать нужную для этого частоту.

Вопросы:
1. Каким образом тогда решается данная дилемма с недостатком частоты (предположение, на абсурдном примере - по команде для резки четверти дуги, Mach3 настроен на 1 шаг, соответсвенно круг это 4 таких точки и в итоге это будет не круг, а квадрат, но если мы задаем "Multiplier" на Stepmaster например 4, то при резке круга из четверти дуги Stepmaster уже самостоятельно передаст в каждую четверть дуги уже 4 точки вместо 1, а в круге 16 и соответственно он будет больше похож на круг, получается что нужно в Mach3 указать для двигателя кол-во импульсом на 1 мм = 2000/4=500 и тогда требуемая частота по LPT будет 41 666 Гц и ее будет достаточно, потому как в серво уже сам Stepmaster трансформирует их в 500х4=2000 с передачей на 180 000Гц, т.е. фактически получается что мы можем обходить ограничение LTP по частоте)?
2. На какие параметры тогда настраивать тогда двигатель в Mach3 если применяется "Multiplier" х4 (если мое предположение по п.1 верно, то если применяется умножение "Multiplier", нужно делить фактическое число импульсов заданное в драйвере двигателя на коэффициент умножения)?

В описании Mach3 написано:
Нужная вам частота зависит от максимального необходимого количества импульсов для того, чтобы двигать ось на ее максимальной скорости. 25,000 Гц должно хватить для систем с шаговым двигателем. С драйвером на 10 микрошагов, вы получите около 750 оборотов в минуту на стандартном 1.8о шаговом двигателе., т.е. чем выше нужна скорость по оси, тем больше нужна частота по LTP, в которую мы упираемся при попытке применения больших энкодеров, если не использовать функцию "Multiplier".
Jonsonsh
Кандидат
Сообщения: 97
Зарегистрирован: 25 ноя 2020, 20:30
Репутация: 9
Настоящее имя: Евгений
Контактная информация:

Re: StepMaster ver 2.5

Сообщение Jonsonsh »

michael-yurov писал(а): 08 окт 2022, 09:32 Если можно в настройках драйверов переключить выход на нормально разомкнутый, то подключить не сложно, и несколько драйверов можно было бы подключить параллельно к одному входу платы:
2017-05-15_22-41-33 (2).png
У Вас на схеме к каждому датчику стоят последовательно 2 оптопары на плате, я правильно понимаю, что таким образом вы просто от одного датчика можете получить через эти оптопары сразу 2 источника независимых сигнала (размножение), которые разводите на нужные узлы на плате, эта такой элегантный способ не усложнять разводку и обработку сигнала с датчика?
vtgmfg
Мастер
Сообщения: 1828
Зарегистрирован: 23 июн 2022, 14:13
Репутация: 77
Настоящее имя: Максим
Контактная информация:

Re: StepMaster ver 2.5

Сообщение vtgmfg »

michael-yurov писал(а): Опять же и на замкнутый контур могут помехи магнитным полем наводиться, если площадь контура большая.
помеха может пройти даже если вход будет замкнут накоротко прямо на клеммнике. Оптопары вполне синфазную помеху трансформируют в настоящую помеху. С этим можно бороться - оптопары с экраном, емкости по синфазе и сигналу
Аватара пользователя
michael-yurov
Почётный участник
Почётный участник
Сообщения: 11731
Зарегистрирован: 26 июл 2012, 00:10
Репутация: 4703
Настоящее имя: Михаил Львович
Откуда: Новоуральск
Контактная информация:

Re: StepMaster ver 2.5

Сообщение michael-yurov »

Jonsonsh писал(а): Подскажите по коэффициентам умножения частоты, а то не совсем понятен смысл и правильно ли я понимаю
Да, в целом верно!
Jonsonsh писал(а): контроллером у нас является ПК с Mach3 и соответственно он считает, что чтобы достичь нужной точки на заданной скорости (5000), например Х1, нужно проделать 2000 шагов
в mach3 настраиваем не 2000 имп/мм а 500. После умножения на 4 получится 2000.
Jonsonsh писал(а): 1. Каким образом тогда решается данная дилемма с недостатком частоты (предположение, на абсурдном примере - по команде для резки четверти дуги, Mach3 настроен на 1 шаг, соответсвенно круг это 4 таких точки и в итоге это будет не круг, а квадрат, но если мы задаем "Multiplier" на Stepmaster например 4, то при резке круга из четверти дуги Stepmaster уже самостоятельно передаст в каждую четверть дуги уже 4 точки вместо 1, а в круге 16 и соответственно он будет больше похож на круг
Да, так и будет. В мозгах СтепМастера эта траектория из 4 точек будет похожа на круг. Вероятно, кривой и мятый, но близко к кругу. При чем к описанному вокруг этих точек кругу, что важно.
А потом уже эту внутреннюю кривую СтепМастер передает на выход. Можно было бы задать для этого любое количество шагов на миллиметр, но для простоты выбраны несколько целочисленных "множителей".
Jonsonsh писал(а): 2. На какие параметры тогда настраивать тогда двигатель в Mach3 если применяется "Multiplier" х4
Обычно для шаговых приводов рекомендую микрошаг 1/32, и множитель 4X или 8X на плате.
Для сервы можно и помельче микрошаг, т.к. она должна без проблем воспринимать частоты выше 200 кГц.
Jonsonsh писал(а): нужно делить фактическое число импульсов заданное в драйвере двигателя на коэффициент умножения)?
Проще проверить. Если работает правильно, то все ok. Рассуждать о теории без практики бесполезно.
Аватара пользователя
michael-yurov
Почётный участник
Почётный участник
Сообщения: 11731
Зарегистрирован: 26 июл 2012, 00:10
Репутация: 4703
Настоящее имя: Михаил Львович
Откуда: Новоуральск
Контактная информация:

Re: StepMaster ver 2.5

Сообщение michael-yurov »

Jonsonsh писал(а): У Вас на схеме к каждому датчику стоят последовательно 2 оптопары на плате
Одна оптопара для LPT. Вторая для NCStudio.
На плате разъем NCStudio польностью отвязан от остальной платы. Собственно, потому и нельзя было использовать один общий выход оптопары.

На платах без NCStudio - по одной оптопаре на каждом входе (справа видно только 5 оптопар из 10):
Вложения
2022-10-11 18-52-16.jpg (3890 просмотров) <a class='original' href='./download/file.php?id=205855&mode=view' target=_blank>Загрузить оригинал (585.42 КБ)</a>
Gorbatkoff
Новичок
Сообщения: 4
Зарегистрирован: 09 янв 2023, 13:33
Репутация: 2
Настоящее имя: Горбатков
Контактная информация:

Re: StepMaster ver 2.5

Сообщение Gorbatkoff »

Уважаемые форумчане, подскажите, пожалуйста, как подключить данный датчик длинны инструмента?
http://www.cnc-logic.ru/tool_length_sensor.html
Отдельный блок питания на 12 вольт имеется.
Если это уже было, извините, пропустил...
Gorbatkoff
Новичок
Сообщения: 4
Зарегистрирован: 09 янв 2023, 13:33
Репутация: 2
Настоящее имя: Горбатков
Контактная информация:

Re: StepMaster ver 2.5

Сообщение Gorbatkoff »

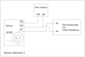
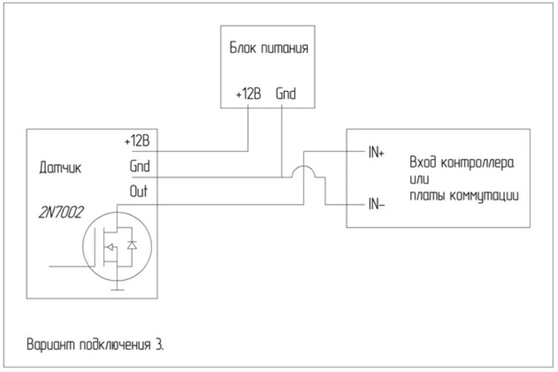
Вот схема подключения по мануалу датчика. "In+" и "In-"- это контакты на плате, там, где Probe?
Вложения
3.jpg (3746 просмотров) <a class='original' href='./download/file.php?id=206209&mode=view' target=_blank>Загрузить оригинал (39.22 КБ)</a>
Gorbatkoff
Новичок
Сообщения: 4
Зарегистрирован: 09 янв 2023, 13:33
Репутация: 2
Настоящее имя: Горбатков
Контактная информация:

Re: StepMaster ver 2.5

Сообщение Gorbatkoff »

Все, победил. :good: Сигнал с датчика нужно воткнуть в среднюю клемму Probe.
Аватара пользователя
michael-yurov
Почётный участник
Почётный участник
Сообщения: 11731
Зарегистрирован: 26 июл 2012, 00:10
Репутация: 4703
Настоящее имя: Михаил Львович
Откуда: Новоуральск
Контактная информация:

Re: StepMaster ver 2.5

Сообщение michael-yurov »

Gorbatkoff писал(а): 09 янв 2023, 15:36 Вот схема подключения по мануалу датчика. "In+" и "In-"- это контакты на плате, там, где Probe?
На самом деле этот датчик подключается так же как NPN индуктивные датчики.
Схема подключения у Евгения, откровенно говоря, бестолковая. А описание на сайте ошибочное.
2023-01-10_16-21-07.png (3699 просмотров) <a class='original' href='./download/file.php?id=206212&mode=view' target=_blank>Загрузить оригинал (51.79 КБ)</a>
На самом деле на выходе изменяется не напряжение, а сопротивление. При срабатывании датчика выходной транзистор открывается и "замыкает" выход датчика на минус питания датчика.
На схеме должно быть показано, что GND на выходе датчика и земля на истоке транзистора, это одна и та же цепь.
Instruction auto zero CNC-8.jpg (3693 просмотра) <a class='original' href='./download/file.php?id=206214&mode=view' target=_blank>Загрузить оригинал (78.5 КБ)</a>
Gorbatkoff
Новичок
Сообщения: 4
Зарегистрирован: 09 янв 2023, 13:33
Репутация: 2
Настоящее имя: Горбатков
Контактная информация:

Re: StepMaster ver 2.5

Сообщение Gorbatkoff »

Уважаемые форумчане, извините, если задаю тупой вопрос. Проблема следующая. Аварийной кнопки у меня на станке нет, если нужно экстренно остановится, нажимаю ESC на клаве. В Маче кнопочка Reset начинает мигать красно- зеленым ободком, станок останавливается, все замечательно. Сейчас эта функция пропала. После нажатия ESC станок меня игнорирует, а загорается надпись "Terminated script". Причем с теми же настройками на другом компе ESC работает, как и раньше. Подскажите, плз, как это победить?
COLVIR
Новичок
Сообщения: 3
Зарегистрирован: 25 ноя 2022, 21:21
Репутация: 2
Настоящее имя: Павел
Контактная информация:

Re: StepMaster ver 2.5

Сообщение COLVIR »

Вопрос по точности
Например имеем стандартный шаговик 200 имп на оборот. Ходовой винт с шагом 5 мм
На драйвере микрошаг 1/8
Минимальное перемещение инструмента будет 1/(200/5)*8=0.003125
Ставим плату Степмастер с рекомендованным выше в теме умножением на 8 и микрошаг драйвера 1/32
Получаем минимальное перемещение инструмента будет
1/(((200/5)*32)/8)=0.00625
Теряем точность в 2 раза. Для того же значения перемещения инструмента, надо ставить умножение в степмастере на 4.
А если у меня исходно на драйвере стоял микрошаг 1/32, то умножение на степмастере надо ставить 1. Как он будет улучшать траекторию?
Т.е. получается, что использование плюсов степмастера приводит к понижению точности работы станка.
Поправьте меня если ошибаюсь
Последний раз редактировалось COLVIR 01 фев 2023, 10:05, всего редактировалось 1 раз.
lkbyysq
Мастер
Сообщения: 2284
Зарегистрирован: 14 май 2016, 09:40
Репутация: 346
Настоящее имя: Станислав Ерофеев
Откуда: Санкт-Петербург

Re: StepMaster ver 2.5

Сообщение lkbyysq »

COLVIR писал(а): Поправьте меня ели ошибаюсь
Ошибка в ударениях, в остальном все верно.
Акценты правильно расставьте, чтобы не получать очередню серию про взаимоотношения ёлки и задницы.

Если и так у Вас все в порядке, зачем Вам смотреть на Степмастер?
Если Вам что-то не нравится, попробуйте решить эту свою проблему с помощью Степмастера.
Если Степмастер - не решение Вашей проблемы, то поищите другое решение. То, которое Вас устроит.
Ответить

Вернуться в «Электроника»