Настольный фрезер(китай) по дереву 14Х19Х4cм Benbox CNC1419

Фрезерные и гравировальные станки для обработки мягких материалов (дерево, пластики, мягкие металлы).
dimzen
Новичок
Сообщения: 32
Зарегистрирован: 01 апр 2021, 13:51
Репутация: 2
Настоящее имя: Дмитрий
Контактная информация:

Re: Настольный фрезер(китай) по дереву 14Х19Х4cм Benbox CNC1419

Сообщение dimzen »

Курдль писал(а): Мультиметр не в режиме переменного тока стоял?
Да нет, мерил на постоянке.
Пардон, сейчас перепроверил, и все же это я накосячил, (ночные посиделки) минус был на PWM, а + на -, вот и получились все значения с минусом. В итоге все норм, все напряжения и на 4-конт. и на 3-конт. с плюсом.
Курдль писал(а): ради чистоты эксперимента на D11 и D13 относительно GND платы
Между D13 и GND (который слева от D11) при любых оборотах всегда 0 В (может для D13 какой-то другой GND контакт?)
Между D11 и GND показания похожи на предыдущие замеры на 3-конт. разъеме, но минимально отличаются:
1 об./мин. 0,03В
на том разъеме следующая ступенька начиналась на 5 об./мин., а на D11 с 4 об./мин.
4 об./мин. 0,05В
8 об./мин. 0,07В
12 об./мин. 0,09В
20 об./мин. 0,13В
50 об./мин. 0,25В
и так далее
950 об./мин. 4,49В
1000 об./мин.4,73В
там максимум был 4,75В, а тут 4,73В, хотя наверное это одно и то же
dimzen
Новичок
Сообщения: 32
Зарегистрирован: 01 апр 2021, 13:51
Репутация: 2
Настоящее имя: Дмитрий
Контактная информация:

Re: Настольный фрезер(китай) по дереву 14Х19Х4cм Benbox CNC1419

Сообщение dimzen »

Курдль писал(а): Оптрон подойдет любой схожий по параметрам
поискал оптрон SFH6156, нашел 2 варианта
SFH6156-3 CTR 100 % to 200 %
SFH6156-4 CTR 160 % to 320 %
остальные параметры у них вроде одинаковые
какой купить лучше/правильнее?

PS собираем случайно не что-то подобное этому?
https://disk.yandex.ru/i/epnWFlZusvxltg
https://aliexpress.ru/item/4000128019142.html
а то такая платка у меня есть,
;) я её тогда сразу же со шпинделем по рекоммендации пропеллера купил
Аватара пользователя
Курдль
Мастер
Сообщения: 2174
Зарегистрирован: 20 мар 2018, 16:55
Репутация: 282
Настоящее имя: Курдль Энтеропийский
Откуда: Msk
Контактная информация:

Re: Настольный фрезер(китай) по дереву 14Х19Х4cм Benbox CNC1419

Сообщение Курдль »

dimzen писал(а): Между D13 и GND (который слева от D11) при любых оборотах всегда 0 В (может для D13 какой-то другой GND контакт?)
Надо подумать... У меня 13-я нога включала\выключала шпиндель. Вообще-то она обеспечивает по замыслу разработчиков прямое\обратное вращение шпинделя, но обратное мне не понадобилось ни разу в жизни. В крайнем случае сигнал включения\выключения шпинделя можно снимать с 24-вольтового выхода, ограничив напряжение резистором и стабилитроном. Либо подшаманить в config.h, чтобы 13-я начала так работать.
dimzen писал(а): остальные параметры у них вроде одинаковые какой купить лучше/правильнее?
Который дешевле :)
dimzen писал(а): PS собираем случайно не что-то подобное этому?
Подобное этому, но гораздо проще.
Как вариант, можно купить 2 таких: https://aliexpress.ru/item/1005002006610372.html
Я не понимаю, зачем на Вашей плате столько элементов, включая силовой ключ?..
Кроме того, она подразумевает общую "землю" с Ардуино, а значит и с ПК, к которому тот подключен. Это не гуд.
Также непонятно, какой ток та плата потребляет и какой ток допустим на выходе 10V инвертора (плата ведь от него питается).
В любом случае, она отвечает только за скорость вращения, а не за вкл\выкл. Т.е. нужен еще один оптрон или реле.
Однако я видел ролик, на котором утверждалось, что это не преобразователь PWM -> U, а наоборот U -> PWM (это бы оправдывало кол-во элементов): youtu.be/TOicBR-1hAg?t=125
На сайте я не нашел ни схемы, ни типового подключения. Вы её испытывали?


UPD: По поводу использования 13-го контакта
By default on a 328p(Uno), Grbl combines the variable spindle PWM and the enable into one pin to help
// preserve I/O pins. For certain setups, these may need to be separate pins. This configure option uses
// the spindle direction pin(D13) as a separate spindle enable pin along with spindle speed PWM on pin D11.
// NOTE: This configure option only works with VARIABLE_SPINDLE enabled and a 328p processor (Uno).
// NOTE: Without a direction pin, M4 will not have a pin output to indicate a difference with M3.
// NOTE: BEWARE! The Arduino bootloader toggles the D13 pin when it powers up. If you flash Grbl with
// a programmer (you can use a spare Arduino as "Arduino as ISP". Search the web on how to wire this.),
// this D13 LED toggling should go away. We haven't tested this though. Please report how it goes!
// #define USE_SPINDLE_DIR_AS_ENABLE_PIN // Default disabled. Uncomment to enable.
Мой сайт: https://cnc-hobby.ru
dimzen
Новичок
Сообщения: 32
Зарегистрирован: 01 апр 2021, 13:51
Репутация: 2
Настоящее имя: Дмитрий
Контактная информация:

Re: Настольный фрезер(китай) по дереву 14Х19Х4cм Benbox CNC1419

Сообщение dimzen »

Курдл писал(а): У меня 13-я нога включала\выключала шпиндель. Вообще-то она обеспечивает по замыслу разработчиков прямое\обратное вращение шпинделя
Может на этой ноге ничего нет, т.к. нет команды смены направления вращения?
Курдл писал(а): У меня 13-я нога включала\выключала шпиндель...подшаманить в config.h, чтобы 13-я начала так работать.
Вроде пропеллер как раз это и сделал (что-то нашаманил в config.h, сменив этим стандартное назначение напр. вращения на функцию вкл./выкл. шпинделя и 13 ногу завел на контакт EN на драйвере шпинделя), но как я Вас понял, это надо сделать как-то по-другому, чтобы шпиндель не включился при отключении питания grbl-платы.
Курдл писал(а): можно купить 2 таких: https://aliexpress.ru/item/1005002006610372.html
проще купить, тем более, если это почти бесплатно
Курдл писал(а): Я не понимаю, зачем на Вашей плате столько элементов, включая силовой ключ?..
может потому что она дает возможность из меньшего напряжения получить до 10 вольт на выходе? я не разбираюсь
Курдл писал(а): Однако я видел ролик, на котором утверждалось, что это не преобразователь PWM -> U, а наоборот U -> PWM (это бы оправдывало кол-во элементов): youtu.be/TOicBR-1hAg?t=125
Это ролик действительно про вариант Voltage to PWM, я же купил вариант PWM to Voltage, они визуально очень похожи, но элементы на плате разные и по-разному расположены, китайцы на али поленились выложить фото обоих вариантов.
Курдл писал(а): На сайте я не нашел ни схемы, ни типового подключения. Вы её испытывали?
Нет, не испытывал, а чего её испытывать, если она видимо совсем не подходит.
Вот тут про неё рассказывают довольно подробно, правда по-английски:
https://youtu.be/dt09OkopU6c
и тут
http://www.icstation.com/voltage-conver ... 12498.html
Курдл писал(а): Кроме того, она подразумевает общую "землю" с Ардуино, а значит и с ПК, к которому тот подключен. Это не гуд. Также непонятно, какой ток та плата потребляет и какой ток допустим на выходе 10V инвертора (плата ведь от него питается). В любом случае, она отвечает только за скорость вращения, а не за вкл\выкл. Т.е. нужен еще один оптрон или реле.
Получается, зря я её купил, благо она была очень дешевая.
Курдл писал(а): Т.е. нужен еще один оптрон или реле.
Хорошо, тогда заказываю 2 одинаковых
https://aliexpress.ru/item/1005002006610372.html
Только вопрос, каких именно, там есть выбор 12V, 24V, 3V-5V
И есть один не очень хороший момент "Расчётное время доставки: 26 авг"
Вот тут https://www.ebay.de/itm/263801097722 чуть быстрее, но доставка тоже с 1 по 7 июля.
Тут https://www.ebay.de/itm/284102566895 и тут https://www.ebay.de/itm/353149007504 ещё быстрее с 23 по 24 июня,
но что-то немного другое и несколько вариантов на выбор, я в них не понимаю.
Вот ещё быстрые по доставке варианты https://www.ebay.de/itm/313880767140
https://www.roboter-bausatz.de/p/2-kanal-relais-5v
https://www.bastlershop24.de/module/mosfet/
Если не сложно, гляньте плиз, не знаю, что оптимальнее выбрать.
Аватара пользователя
Курдль
Мастер
Сообщения: 2174
Зарегистрирован: 20 мар 2018, 16:55
Репутация: 282
Настоящее имя: Курдль Энтеропийский
Откуда: Msk
Контактная информация:

Re: Настольный фрезер(китай) по дереву 14Х19Х4cм Benbox CNC1419

Сообщение Курдль »

dimzen писал(а): Может на этой ноге ничего нет, т.к. нет команды смены направления вращения?
Очевидно.
dimzen писал(а): Вроде пропеллер как раз это и сделал
Я не смотрел его видео, но судя по предыдущим Вашим постам, он раскомментировал другие декларации.
dimzen писал(а): может потому что она дает возможность из меньшего напряжения получить до 10 вольт на выходе? я не разбираюсь
Вы неправильно поняли суть этой платы. Она не из "меньшего напряжения...".
Она из 12В приходящего питания выдает 0 - 10В на выходе в соответствие со скважностью ШИМ на входе.
dimzen писал(а): Получается, зря я её купил, благо она была очень дешевая.
Ну, не знаю. Я не видел строгих рекомендаций обеспечивать гальваническую развязку станка, инвертора и ПК друг от друга, но я так делаю.
Вы можете пренебречь рисками, связанными с этим. Многие вообще строят электрику, как в автомобиле (всё имеет общую "массу") и ничего не боятся.
dimzen писал(а): Только вопрос, каких именно, там есть выбор 12V, 24V, 3V-5V
А как Вы думаете, если у Вас на входе сигнал 5V? :) Конечно 3V - 5V! (видимо у этих плат различаются входные резисторы, обеспечивающие нужный ток на входных светодиодах оптрона).
dimzen писал(а): Вот тут https://www.ebay.de/itm/263801097722 чуть быстрее, но доставка тоже с 1 по 7 июля.
Тут https://www.ebay.de/itm/284102566895 и тут https://www.ebay.de/itm/353149007504 ещё быстрее с 23 по 24 июня,
Возможно подойдет https://www.ebay.de/itm/284102566895
Многоканальные могут не подойти, т.к. у них в выходной цепи резистор неизвестного номинала.

Я ради эксперимента раскомментировал декларацию // #define USE_SPINDLE_DIR_AS_ENABLE_PIN // Default disabled. Uncomment to enable.
Откомпиллировал скетч и залил в подвернувшуюся под руку Arduino Nano (кстати, советую Вам таковой обзавестись для опытов).
Как и ожидалось, порт D13 стал откликаться на команду Spindle ON/OFF. Что примечательно, у этой платы экспериментальный светодиод заведен на тот же порт и проконтролировать результат было проще простого:
spindle_on_off.jpg (330445 просмотров) <a class='original' href='./download/file.php?id=203780&mode=view' target=_blank>Загрузить оригинал (117.05 КБ)</a>
Если нужна инструкция, как залить измененную прошивку: http://cnc-design.ru/grbl-skachivaem-proshivaem.html
Мой сайт: https://cnc-hobby.ru
dimzen
Новичок
Сообщения: 32
Зарегистрирован: 01 апр 2021, 13:51
Репутация: 2
Настоящее имя: Дмитрий
Контактная информация:

Re: Настольный фрезер(китай) по дереву 14Х19Х4cм Benbox CNC1419

Сообщение dimzen »

Курдль писал(а): ... если у Вас на входе сигнал 5V? Конечно 3V - 5V! ... Возможно подойдет https://www.ebay.de/itm/284102566895
Не, не подойдет, там 12В
Ок, буду заказывать на али с надеждой на более быструю доставку, как правило приходит быстрее заявленных сроков
Курдль писал(а): Я не видел строгих рекомендаций обеспечивать гальваническую развязку станка, инвертора и ПК друг от друга, но я так делаю. Вы можете пренебречь рисками, связанными с этим.
Раз так лучше, то перфекционизм уже не даст сделать по-другому, раз Вы советуете, так и буду делать.

Тут же сразу вопрос, сколько штук лучше сразу заказать?
Где-то мельком видел, что и на концевики надо развязку делать, а может и на датчик длины инструмента?

И чтобы не ждать, когда до них очередь дойдет, заодно, посоветуйте плиз концевики (лучше индуктивные?) и датчик длины инструмента (лучше, если он с подпружиненной площадкой?).
Курдль писал(а): ...Arduino Nano (кстати, советую Вам таковой обзавестись для опытов)
А можете какую-то конкретную посоветовать? На каком микроконтроллере, в моем случае лучше наверное на таком же как в моей плате сейчас Atmega328P? есть ли разница, v3.0 или v3.2, нужны ли уже припаянные ножки?
Вот например с разъемом USB Type-C норм?
https://de.aliexpress.com/item/4000903444456.html
И эта плата будет только для экспериментов с прошивкой, её нельзя будет если что на станке использовать?
Курдль писал(а): инструкция, как залить измененную прошивку
пробежался по диагонали, вроде не сложно
Курдль писал(а): раскомментировал декларацию
Курдль писал(а): Откомпиллировал скетч
а вот это тёмный лес, новые все 4 слова, кроме декларации, но тут оно явно имеет "другое" значение
может есть подобная инструкция для тех, кто реально с нуля на это смотрит?
Аватара пользователя
Курдль
Мастер
Сообщения: 2174
Зарегистрирован: 20 мар 2018, 16:55
Репутация: 282
Настоящее имя: Курдль Энтеропийский
Откуда: Msk
Контактная информация:

Re: Настольный фрезер(китай) по дереву 14Х19Х4cм Benbox CNC1419

Сообщение Курдль »

dimzen писал(а): Не, не подойдет, там 12В
Мы вроде говорили о модуле https://www.ebay.de/itm/284102566895, а он позиционируется, как "Ардуино-совместимый". Это значит, что на его входе до 5В. Но я посмотрел описание - это силовой ключ, позволяющий управлять цепями с большими напряжениями и огромным током (в десятки ампер), а Вам скорее всего нужны десятки миллиампер. Конечно, "больше - не меньше", но я не знаю, что за выходные транзисторы у этого модуля и как они ведут себя на малых токах. Впрочем, я не знаю и входных токов Вашего инвертора.
dimzen писал(а): Раз так лучше, то перфекционизм уже не даст сделать по-другому, раз Вы советуете, так и буду делать.
Тут же сразу вопрос, сколько штук лучше сразу заказать?
Где-то мельком видел, что и на концевики надо развязку делать, а может и на датчик длины инструмента?
Для реализации подключения шпинделя достаточно двух.
Концевики - придаток контроллера. Они не будут иметь ни внешнего питания, ни заземления, и вообще ничего такого, что навредит электронике.
Да, индукционные надежнее и точнее. Выбирать следует по напряжению питания/выходному уровню и, конечно, по размеру.
Вы должны понимать, куда их можно поместить без ущерба рабочему пространству станка.
Выходной уровень должен быть типа "открытый коллектор" (ОК). Т.е. он при срабатывании должен замыкать сигнальную цепь на "Землю".
Датчик длины инструмента Вам вряд ли пригодится. Точность дешевых не выдерживает никакой критики, а подобный датчик для "взрослых станков" Вам некуда будет запихнуть. Да и необходимость в них сомнительная - у Вас вряд ли появится автомат смены инструмента :)
dimzen писал(а): Ок, буду заказывать на али с надеждой на более быструю доставку, как правило приходит быстрее заявленных сроков
Как Вам уже советовали - не ждите, пока доведете свой станок до совершенства. Практикуйтесь прямо сейчас. Без программного управления шпинделем Вы вполне обойдетесь. Просто надо включить шпиндель на нужных оборотах до пуска управляющей программы и отключить его по её окончанию. Такого кейса, чтобы потребовалось менять скорость вращения посреди УП, а тем более останавливать шпиндель, я не встречал.
dimzen писал(а): А можете какую-то конкретную посоветовать? На каком микроконтроллере, в моем случае лучше наверное на таком же как в моей плате сейчас Atmega328P? есть ли разница, v3.0 или v3.2, нужны ли уже припаянные ножки?
Как всегда, могу посоветовать самый дешевый и под тот разъем, что у Вас наиболее ходовой. Да. процессор желательно иметь тот же. Припаянные ножки нужны, но припаять самому их не сложно.
dimzen писал(а): И эта плата будет только для экспериментов с прошивкой, её нельзя будет если что на станке использовать?
На моем было бы можно. У моего контроллера процессор не впаян, а впаяна панель для установки Ардуино Нано. Первое, что я сделал - вынул её и сохранил, как эталон, со старой прошивкой и настройками.
dimzen писал(а): а вот это тёмный лес, новые все 4 слова, кроме декларации, но тут оно явно имеет "другое" значение
может есть подобная инструкция для тех, кто реально с нуля на это смотрит?
Я, кстати, оговорился: она не декларация, а директива. Но Вам от этого наверное не легче :)
подробности (для просмотра содержимого нажмите на ссылку)
Мы говорим о программировании и о программах. В программировании есть множество приёмов, упрощающих жизнь программистов. В их числе - директивы препроцессора. Если программист подозревает, что программа может использоваться в разных условиях с разными параметрами и т.п., то он может предпринять меры к тому, чтобы не пришлось каждый раз перелопачивать килотонны кода, расположенные в сотнях файлов и менять что-то внутри него для приспособления к конкретным условиям. Вот и разработчики кода Grbl позаботились о том, чтобы простые изменении в единственном файле config.h меняли функциональность всей программы.
Когда Вы писали, что намереваетесь исполнить рекомендации "Пропеллера", я думал, что Вы усвоили, что именно требуется.
Но мне не сложно уточить:
0. Сохранить текущие настройки Grbl (выполнить из Gandle команду $$, скопировать результат в какой-нить файл).
1. Как указано в инструкции, на которую я дал ссылку в предыдущем посте, Вам следует скачать исходники grbl 1.1 из первоисточника.
2. В папке grbl найти файл config.h
3. Открыть этот файл в текстовом редакторе и найти в нем строку "// #define USE_SPINDLE_DIR_AS_ENABLE_PIN"
4. Во многих языках программирования знак "две косые линии" служит для отделения комментариев от полезного кода программы. Удалить этот символ на слэнге - "раскомментировать". Вам следует это сделать.
5. Сохранить файл под тем же именем.
6. Заархивировать папку grbl, содержащую измененный файл в файл grbl.zip
7. Далее следовать инструкции со слов "Теперь можно подключить к USB наш шильд, (NANO или UNO)"
Мой сайт: https://cnc-hobby.ru
Xopc
Кандидат
Сообщения: 72
Зарегистрирован: 31 мар 2021, 14:56
Репутация: 9
Настоящее имя: Никита
Откуда: Шадринск
Контактная информация:

Re: Настольный фрезер(китай) по дереву 14Х19Х4cм Benbox CNC1419

Сообщение Xopc »

Курдль писал(а): Такого кейса, чтобы потребовалось менять скорость вращения посреди УП, а тем более останавливать шпиндель, я не встречал.
для 1419 уж точно. Думаю, актуально только для станков с автосменой
dimzen
Новичок
Сообщения: 32
Зарегистрирован: 01 апр 2021, 13:51
Репутация: 2
Настоящее имя: Дмитрий
Контактная информация:

Re: Настольный фрезер(китай) по дереву 14Х19Х4cм Benbox CNC1419

Сообщение dimzen »

Курдль писал(а): Мы вроде говорили о модуле ... но я не знаю, что за выходные транзисторы у этого модуля и как они ведут себя на малых токах. Впрочем, я не знаю и входных токов Вашего инвертора.
Я там разные варианты накидывал, да и Бог с ними, лишний раз убедился, что не надо играть в рулетку, не зная, что там за элементы, а надо брать тот, что Вы посоветовали. Подожду если что, не страшно. И так же Бог с ним, с моим инвертором, тож не страшно. Главное, чтобы получилось сделать автостарт и автовыключение шпинделя
Курдль писал(а): Как Вам уже советовали - не ждите, пока доведете свой станок до совершенства. Практикуйтесь прямо сейчас.
так а я давно все собрал и практикую пока как есть, тут все норм
Курдль писал(а): Без программного управления шпинделем Вы вполне обойдетесь. Просто надо включить шпиндель на нужных оборотах до пуска управляющей программы и отключить его по её окончанию. Такого кейса, чтобы потребовалось менять скорость вращения посреди УП, а тем более останавливать шпиндель, я не встречал.
Xopc писал(а): для 1419 уж точно. Думаю, актуально только для станков с автосменой
Вы правы, таких сложных сценариев не предвидится. Обороты сейчас просто держу на 12000 и регулятор не трогаю, просто включаю шпиндель перед стартом и выключаю в конце.
Но я все-равно хотел бы реализовать, как минимум, автостарт шпинделя, т.к. один раз уже сломал фрезу, забыв его включить, а сколько раз это ещё может повториться... Автовыключение просто было бы прикольно.
Курдль писал(а): Концевики
Выбирать следует по напряжению питания/выходному уровню и, конечно, по размеру.
Можете что-то конкретное посоветовать? И, если можно, со ссылкой. С размещением разберусь конечно.
У вас же станочек почти такой же, да и про мою плату Вы знаете больше меня.
Курдль писал(а): Датчик длины инструмента Вам вряд ли пригодится. Точность дешевых не выдерживает никакой критики, а подобный датчик для "взрослых станков" Вам некуда будет запихнуть. Да и необходимость в них сомнительная - у Вас вряд ли появится автомат смены инструмента
"Взрослый" - конечно нет смысла, и автосмены инструмента конечно тоже не планируется.
Все же хотелось бы его тоже реализовать, т.к. даже учитывая то, что станок ещё почти не работал, а я уже понял, как это муторно подгонять высоту с бумажкой, ну и так же как со шпинделем, уже один раз успел сломать кончик фрезы.
Да и точность с бумажкой ведь тоже не идеальна, неужели датчик будет хуже? А если точность +/- такая же, то с датчиком по крайней мере должно быть удобнее. Люди вообще пластинку делают, наверное никто не хочет с бумажками заморачиваться.
Вы себе вообще никакой не поставили?
Курдль писал(а): Как всегда, могу посоветовать самый дешевый и под тот разъем, что у Вас наиболее ходовой. Да. процессор желательно иметь тот же. Припаянные ножки нужны, но припаять самому их не сложно.
Курдль писал(а): У моего контроллера процессор не впаян, а впаяна панель для установки Ардуино Нано. Первое, что я сделал - вынул её и сохранил, как эталон, со старой прошивкой и настройками.
А можете дать ссылку на ваш вариант? Есть такие с Atmega328P?
Курдль писал(а): Но мне не сложно уточить:...
Благодарю, стало понятнее, придет плата, буду пробовать.
Аватара пользователя
Курдль
Мастер
Сообщения: 2174
Зарегистрирован: 20 мар 2018, 16:55
Репутация: 282
Настоящее имя: Курдль Энтеропийский
Откуда: Msk
Контактная информация:

Re: Настольный фрезер(китай) по дереву 14Х19Х4cм Benbox CNC1419

Сообщение Курдль »

dimzen писал(а): И так же Бог с ним, с моим инвертором, тож не страшно. Главное, чтобы получилось сделать автостарт и автовыключение шпинделя
С инвертором не Бог, а Ваш шпиндель :) Контроллер шпинделя является частным случаем электротехнического устройства "инвертор" (преобразователь постоянного тока в переменный). Контроллеры мощных шпинделей по-моему так и производители называют. Ну и слэнг ЧПУшников. Правда они еще иногда говорят "частотник".
dimzen писал(а): Но я все-равно хотел бы реализовать, как минимум, автостарт шпинделя, т.к. один раз уже сломал фрезу, забыв его включить, а сколько раз это ещё может повториться...
Я в первый месяц сломал штук 6. Даже устроил символические похороны с маленьким гробиком, цветами и лентами :)
Однако практически все они были сломаны по другим причинам:
- ошибки в УП
- ошибки в позиционировании
- наезд на крепежные элементы
- сбои в программах типа Candle (например я так и не смог побороть её странное поведение, когда при попытке программно прервать УП, она отправляет исполнительный механизм куда-то в угол на максимальной скорости, при этом не вынув фрезу из материала).
dimzen писал(а): Можете что-то конкретное посоветовать? И, если можно, со ссылкой. С размещением разберусь конечно.
Не-а :) Посоветовать не могу. Т.к. не знаю Ваших потребностей в части, касающейся датчиков.
Моей первостепенной целью было предотвращение поломок инструмента и брака изделий по причине выхода за границы рабочей области.
Точность датчиков, которая была заложена мной, подразумевала продолжение УП после инцидента и корректировки какой-то ошибки. Но, как оказалось, Grbl не предоставляет такой возможности :( Пусть меня поправят более опытные пользователи Grbl, если я не прав. Мой опыт показал, что при пересечении, как жестких лимитов, так и мягких лимитов, Grbl-контроллер впадает в ступор, не запоминая координаты остановки. Продолжение УП возможно только после муторной ручной установки "нуля".
В Mach3 уже другие функции. Там возобновление возможно. И возможно некоторое практическое применение датчиков. Например, можно настроить программу так, что все холостые перемещения будут производиться с поднятым до срабатывания датчика инструментом. Хотя польза от этого спорная.
Так что на мой взгляд, с задачей "просто концевиков" могут справиться обычные механические "микрики". Индуктивные датчики я не держал в руках. Датчики, которые установлены у меня - самодельные. О их писал на сайте: http://cnc1310.ru/Message/Thread/29
А Вам могу посоветовать первым делом смастерить выносную кнопку E-Stop из чего попало и при старте УП держать руку над этой кнопкой.
dimzen писал(а): я уже понял, как это муторно подгонять высоту с бумажкой, ну и так же как со шпинделем, уже один раз успел сломать кончик фрезы.
Я в конце концов пришел к выводу, что проще выставлять бумажкой (правда у меня гораздо более точный инструмент - фольга!) :)
dimzen писал(а): Люди вообще пластинку делают
У этих несчастных, в большинстве своем, нет таких прекрасных маховичков, как на наших станках! :D
Возможно у меня предвзятое мнение, но я испортил не один гравер при определении нуля по высоте. А особенно при снятии карты высот, необходимой при фрезеровании печатных плат. Кончики граверов очень хрупкие и достаточно опоздать на долю секунды с остановкой опускания шпинделя, как граверу конец. Это может произойти из-за плохого контакта, окисла на пластине и т.п. Также следует иметь в виду, что датчик должен быть изолирован от корпуса станка, если измеряете высоту над металлической заготовкой.
Хорошим вариантом мог бы стать качественный нажимной датчик, он они все большие по высоте, а в моем станке каждый мм на счету.
dimzen писал(а): А можете дать ссылку на ваш вариант? Есть такие с Atmega328P?
Последним я покупал такую Ардуину (первый вариант): https://aliexpress.ru/item/4000903444456.html
На ней производил указанный в предыдущем письме опыт.
Мой сайт: https://cnc-hobby.ru
dimzen
Новичок
Сообщения: 32
Зарегистрирован: 01 апр 2021, 13:51
Репутация: 2
Настоящее имя: Дмитрий
Контактная информация:

Re: Настольный фрезер(китай) по дереву 14Х19Х4cм Benbox CNC1419

Сообщение dimzen »

Курдль писал(а): Контроллер шпинделя ... "инвертор" (преобразователь постоянного тока в переменный)... "частотник".
Я просто Вас не понял, думал, Вы имели ввиду ту платку, которую я зря купил_ про неё и написал.
А то, что у меня со шпинделем в комплекте, вроде чаще называют драйвером шпинделя, а частотниками то,
что нужно для шпинделей посерьезней, там где есть кнопки и дисплей.
Ок, будем знать, что это и контроллер и инвертор и частотник.
Курдль писал(а): Я в первый месяц сломал штук 6.
Однако практически все они были сломаны по другим причинам:
- ошибки в УП
- ошибки в позиционировании
- наезд на крепежные элементы
- сбои в программах типа Candle
Согласен, есть много вариантов, как убить фрезу, но вариант "забыл включить шпиндель" к ним тоже относится, и думаю,
если от него избавиться, будет лишь лучше.
Курдль писал(а): Т.к. не знаю Ваших потребностей в части, касающейся датчиков.
Да пока потребности нет совсем, может она и не появится, думал просто их сделать, а когда понадобятся, они уже будут.
Теперь понимаю, что надо от потребности решать, какой вариант датчиков выбрать, потом делать.
Ещё где-то то ли прочитал, то ли услышал, что тип датчика по его подключению надо выбирать под требования платы,
т.к. в ней уже заложено, с какими она может работать, например с PNP или NPN, и как мне это узнать по плате?
Курдль писал(а): Возможно у меня предвзятое мнение, но я испортил не один гравер при определении нуля по высоте.
Курдль писал(а): Кончики граверов очень хрупкие и достаточно опоздать на долю секунды с остановкой опускания шпинделя, как граверу конец.
Вот так и я умудрился отколоть уголочек фрезы с бумажкой - человеческий фактор...
Но ведь у нас в руках робот, который в идеале должен выполнять нашу работу/рутину и быстрее и точнее
Курдль писал(а): Я в конце концов пришел к выводу, что проще выставлять бумажкой (правда у меня гораздо более точный инструмент - фольга!)
А чем принципиально отличается дорогой датчик высоты от дешевого, если например они оба подпружинены?
Наверное у более дорогих контактная поверхность как-то лучше подготовлена и защищена от окислений, но ведь никакая хорошая поверхность датчика не сможет изменить свойства кончика фрезы? Может и дешевому датчику можно как-то поверхность улучшить?
Есть ещё какие-то отличия?
Курдль писал(а): Какой выигрыш Вы видите в использовании Mach3?
Курдль писал(а): Зато я знаю, что её нет
Я долго гонялся за ней, переделав свой станок под Mach3, но получил только моральное удовлетворение от творческого процесса.
На какой программе Вы в итоге остановились?
Аватара пользователя
Курдль
Мастер
Сообщения: 2174
Зарегистрирован: 20 мар 2018, 16:55
Репутация: 282
Настоящее имя: Курдль Энтеропийский
Откуда: Msk
Контактная информация:

Re: Настольный фрезер(китай) по дереву 14Х19Х4cм Benbox CNC1419

Сообщение Курдль »

dimzen писал(а): Ещё где-то то ли прочитал, то ли услышал, что тип датчика по его подключению надо выбирать под требования платы,
т.к. в ней уже заложено, с какими она может работать, например с PNP или NPN, и как мне это узнать по плате?
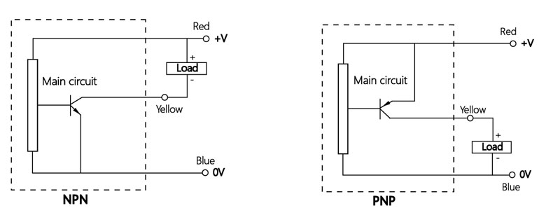
Я выше писал, что датчики в случае срабатывания должны "притягивать" сигнальную цепь (Yellow на схеме) к нулю.
Это почему-то принято называть NPN-схемой. Видимо потому, что так и работает NPN-транзистор в типовой схеме "с открытым коллектором".
signal-output-and-circuit-diagram-of-photoelectric-liquid-level-sensor.jpg (330239 просмотров) <a class='original' href='./download/file.php?id=203794&mode=view' target=_blank>Загрузить оригинал (25.78 КБ)</a>
dimzen писал(а): Но ведь у нас в руках робот, который в идеале должен выполнять нашу работу/рутину и быстрее и точнее
Ну, сделайте робота, который быстрее и точнее первоклассника сбежит по лестнице. :D Пока это никому не удалось, хотя работы идут напряженно.
dimzen писал(а): А чем принципиально отличается дорогой датчик высоты от дешевого, если например они оба подпружинены?
Наверное у более дорогих контактная поверхность как-то лучше подготовлена и защищена от окислений, но ведь никакая хорошая поверхность датчика не сможет изменить свойства кончика фрезы? Может и дешевому датчику можно как-то поверхность улучшить?
У Вас правильное направление мысли, но неправильный вывод.
Принцип действия нажимного датчика основан не на фиксации электрического контакта поверхности датчика с инструментом.
Просто внутри датчика есть высококачественная и высокоточная контактная пара, которая срабатывает от погружения плунжера датчика на строго определенную глубину. Так что на этот датчик можно нажимать хоть промасленной фрезой, хоть алмазным бором, хоть пальцем :D
dimzen писал(а): На какой программе Вы в итоге остановились?
Я так и работаю с Mach3. Но это скорее из-за того, что "пасту невозможно запихнуть обратно в тюбик" :D
Мне ведь пришлось изготовить несколько устройств для реализации такого решения: от модулей драйверов ШД, модулей оптической развязки, токовых ключей, до многожильных экранированных кабелей, соединяющих блок управления со станком. Опять же понадобились новые корпуса для упихивания всей этой начинки. В принципе, все это можно было бы купить, но тогда размеры этого монстра не вязались бы с размерами моего малогабаритного станка.
А в стандартном Grbl-контроллере всё это уже есть по умолчанию. "Что имеем - не ценим"
Я, как говорил, в большей мере основывался на желании работать с 4-й осью и считал, что для этого надо либо переходить на Mach3, либо на Grbl Mega 5X, что также потребует замены штатного контроллера на кастомный.
Но недавно сделал открытие, что работа с поворотной осью может быть осуществлена и с помощью стандартного 3хкоординтного контроллера. Это будет не полноценная 4хосевая обработка, но какому-нибудь ArtCAM-у большего и не надо. Он умеет только наложить развертку модели на цилиндрическую поверхность и в соответствие с этим генерировать УП для 3-х осей, одна из которых поворотная.
Мой сайт: https://cnc-hobby.ru
dimzen
Новичок
Сообщения: 32
Зарегистрирован: 01 апр 2021, 13:51
Репутация: 2
Настоящее имя: Дмитрий
Контактная информация:

Re: Настольный фрезер(китай) по дереву 14Х19Х4cм Benbox CNC1419

Сообщение dimzen »

пока жду заказанные платы, играюсь со станком
Курдль писал(а): Я выше писал, что датчики в случае срабатывания должны "притягивать" сигнальную цепь (Yellow на схеме) к нулю.
Это почему-то принято называть NPN-схемой. Видимо потому, что так и работает NPN-транзистор в типовой схеме "с открытым коллектором".
А что с рабочим напряжением, надо чтобы обязательно было 0-5V ?
https://www.ebay.de/itm/194295346103
В основном на выбор почему-то 6-36V и 10-30v.
например вот: https://www.ebay.de/itm/222290763736 и https://www.ebay.de/itm/295069340916
Курдль писал(а): сбои в программах типа Candle (например я так и не смог побороть её странное поведение,
когда при попытке программно прервать УП, она отправляет исполнительный механизм куда-то в угол на максимальной скорости,
при этом не вынув фрезу из материала)
Интересно, пока ни разу такое не наблюдал, может потому что пока не настраивал никакие мягкие/жесткие лимиты и вообще пока не коснулся настроек концевиков?
Например, сломалась фреза, нажимаю в Candle "пауза" либо "прервать", программа продолжает отрабатывать команды, которые уже успела отправить, после чего останавливается и поднимает инструмент на выставленную безопасную высоту.
Меняю фрезу и запускаю заново, новая фреза проходит уже отработанный путь предыдущей и лишь потом процесс фрезеровки продолжается,
но это ещё норм, если УП короткая, а как быть, если она на несколько часов.

И вот тут пошли вопросы:

Можно ли после замены фрезы стартануть примерно с момента слома? Где-то читал, что вроде можно как-то отмотать на несколько строк назад и запустить процесс, но как это сделать?

И можно ли так в Candle любую часть УП стартовать с любого нужного места, например, на следующий день, выключив на ночь и программу и плату? естественно до выключения выставив инструмент в нулевые рабочие координаты (концевиков же пока нет)
Аватара пользователя
Курдль
Мастер
Сообщения: 2174
Зарегистрирован: 20 мар 2018, 16:55
Репутация: 282
Настоящее имя: Курдль Энтеропийский
Откуда: Msk
Контактная информация:

Re: Настольный фрезер(китай) по дереву 14Х19Х4cм Benbox CNC1419

Сообщение Курдль »

dimzen писал(а): А что с рабочим напряжением, надо чтобы обязательно было 0-5V ?
Чтобы совершенно спокойно их использовать без каких либо опторазвязок, переходников и гасящих резисторов - да.
А так- надо разбираться с их конкретной схемой. Ведь их рабочее напряжение, это то, при котором нормально работает их внутренняя схема. А что они выдают наружу... Контроллеры Grbl - это новое веяние в станкостроении, отличающееся от канонических принципов.
Если у датчиков где-то на выходе стоит оптрон - значит можно с чем угодно сопрягать его с каким угодно напряжением питания.
Если датчики n-p-n типа, у которых на выходе транзистор с открытым коллектором, а питание 6В - то наверняка никаких проблем не будет.
dimzen писал(а): Интересно, пока ни разу такое не наблюдал, может потому что пока не настраивал никакие мягкие/жесткие лимиты и вообще пока не коснулся настроек концевиков?
У меня и без настроенных лимитов Candle так себя вела. Это надо глубоко разбираться в машинных координатах, с которыми я в Grbl так и не разобрался :( Я даже не знаю, как их там обнулять. В Mach3 есть команда "Запустить домашний цикл и обнулить машинные координаты", а в Grbl-программах я такого не нашел.
dimzen писал(а): Можно ли после замены фрезы стартануть примерно с момента слома? Где-то читал, что вроде можно как-то отмотать на несколько строк назад и запустить процесс, но как это сделать?
Я никогда не задавался такой целью. Если фреза ломалась, начинал УП с начала и не заморачивался. Я просто стремился свести к минимуму случаи поломки фрез. Т.к. задач у меня не так уж много, а времени достаточно, я не гнушаюсь прогнать потенциально опасную УП вхолостую или сперва на каком-нить мягком прототипе типа дерева, а не сразу на метелле.
dimzen писал(а): И можно ли так в Candle любую часть УП стартовать с любого нужного места, например, на следующий день, выключив на ночь и программу и плату? естественно до выключения выставив инструмент в нулевые рабочие координаты (концевиков же пока нет)
Нет такой возможности. Ведь могут быть пропущены важные команды, типа выбора системы координат, настройки скоростей и т.п.
Разве что править УП, вырезав из нее ту часть кода, что уже выполнена.
Для этого полезно иметь программы анализа G-кода, типа CIMCO Edit и т.п.
Мой сайт: https://cnc-hobby.ru
FJR
Новичок
Сообщения: 1
Зарегистрирован: 05 июл 2022, 19:35
Репутация: 0
Контактная информация:

Re: Настольный фрезер(китай) по дереву 14Х19Х4cм Benbox CNC1419а

Сообщение FJR »

Всем привет! Подскажите, пожалуйста, в чем проблема может быть? При первой сборке такого не было, потом пересобрал, (забыл гайку завернуть), и вот такое :thinking:
https://youtube.com/shorts/tD2fQgcuG00?feature=share
nevkon
Почётный участник
Почётный участник
Сообщения: 2477
Зарегистрирован: 17 июл 2015, 10:25
Репутация: 310
Настоящее имя: Константин
Откуда: Балаково (Саратовская обл.)
Контактная информация:

Re: Настольный фрезер(китай) по дереву 14Х19Х4cм Benbox CNC1419

Сообщение nevkon »

Возможно в этот раз произошло смещение элементов, а может где-то что-то болтается.
Аватара пользователя
Курдль
Мастер
Сообщения: 2174
Зарегистрирован: 20 мар 2018, 16:55
Репутация: 282
Настоящее имя: Курдль Энтеропийский
Откуда: Msk
Контактная информация:

Re: Настольный фрезер(китай) по дереву 14Х19Х4cм Benbox CNC1419

Сообщение Курдль »

FJR писал(а): в чем проблема может быть? При первой сборке такого не было, потом пересобрал
Смазка вала не помогла?
И, кстати, ускорения в настройках Grbl установлены неоправданно низкими.
Мой сайт: https://cnc-hobby.ru
picklestd
Новичок
Сообщения: 8
Зарегистрирован: 05 фев 2020, 08:04
Репутация: 2
Настоящее имя: Dmitry
Откуда: Беларусь,Минск
Контактная информация:

Re: Настольный фрезер(китай) по дереву 14Х19Х4cм Benbox CNC1419

Сообщение picklestd »

Всем привет. Решил поделиться опытом работы спустя 3.5 года работы. Отбилась его стоимость за это время уже пару раз точно. Работаю с Д16Т. С небольшими съемами и скоростями его хватает за глаза. Но вот износ имеет место быть. Появились люфты на осях. Плюс направляющие валы все покоцало (закалкой там и не пахнет как оказалось).
Из того что не хватает - паузы выполнения. Возврата в стартовую координату в любой момент(например фреза сломалась - заменил - пошел дальше). И вообще хотелось бы побольше функций управления(без подключения к компу. платой на самом станке). Реально было бы как то это прикрутить?

Вообще задумался над тем что может быть взять что-то посерьезнее в плане жесткости но тех-же размеров (или чуть больше). Может кто чего подскажет?
Аватара пользователя
Курдль
Мастер
Сообщения: 2174
Зарегистрирован: 20 мар 2018, 16:55
Репутация: 282
Настоящее имя: Курдль Энтеропийский
Откуда: Msk
Контактная информация:

Re: Настольный фрезер(китай) по дереву 14Х19Х4cм Benbox CNC1419

Сообщение Курдль »

picklestd писал(а): Плюс направляющие валы все покоцало (закалкой там и не пахнет как оказалось).
Я поменял в свое время на валы "из подшипниковой стали". Теперь от шариков следов не остается.
Но самое неприятное в этих станках - безлюфтовые гайки. Я сделал гайки собственной конструкции, но столкнулся с новой проблемой: Т-валы выработаны по центру, и если убрать люфт по центру - к краям гайки не доезжают.
picklestd писал(а): Из того что не хватает - паузы выполнения. Возврата в стартовую координату в любой момент(например фреза сломалась - заменил - пошел дальше).
Я как-то развлёкся заменой Grbl-контроллера на Mach3-контроллер. Теперь есть и пауза выполнения и возврат в стартовую точку в любой момент и многое другое. Но много и минусов. Например, никакой автономной работы без компа не предполагается.
Разве что перевести станок под управление LinuxCNC на Raspberry Pi.
(кстати, в Grbl разве нет паузы? Помню что точно есть. Даже кнопки аппаратные для этого подключаются: Stop, Pause, Resume).
picklestd писал(а): Вообще задумался над тем что может быть взять что-то посерьезнее в плане жесткости но тех-же размеров (или чуть больше)
Тоже интересно послушать, кто что посоветует.
А то станки типа CNC3040 вроде как пожестче, но имеют те же висячие цилиндрические валы...
Мой сайт: https://cnc-hobby.ru
vtgmfg
Мастер
Сообщения: 1828
Зарегистрирован: 23 июн 2022, 14:13
Репутация: 77
Настоящее имя: Максим
Контактная информация:

Re: Настольный фрезер(китай) по дереву 14Х19Х4cм Benbox CNC1419

Сообщение vtgmfg »

Курдль писал(а): Я никогда не задавался такой целью. Если фреза ломалась, начинал УП с начала и не заморачивался.
Курдль писал(а): Нет такой возможности. Ведь могут быть пропущены важные команды, типа выбора системы координат, настройки скоростей и т.п.
хм . всегда считал возможность остановить процесс в любой момент и все выключить или даже чтобы это происходило автоматически при внезапно пропавшем электричестве - чуть не основной. и чтобы потом начать с предыдущей или любой строки навыбор. просто выключил станок посреди работы. потом просто включил и нажал старт. И неважно сколько уже сменилось систем координат и инструментов - в принципе все это восстановимо.
Курдль писал(а): Разве что править УП, вырезав из нее ту часть кода, что уже выполнена.
типа нужно вырезать кусок от шапки до нужного кадра - но блин там хватает нюансов.. и уж лучше тогда запускать все сначала.
Ответить

Вернуться в «Фрезерные станки по дереву и пластикам, гравировальные станки, роутеры»