Чем о-ЧПУ-шить листогиб с поворотной балкой?

Обсуждение установки, настройки и использования LinuxCNC. Вопросы по Gкоду.
Аватара пользователя
Sakhalin_Cat
Мастер
Сообщения: 631
Зарегистрирован: 20 авг 2012, 12:49
Репутация: 340
Настоящее имя: Рогозин Константин Владимирович
Откуда: Южно-Сахалинск
Контактная информация:

Чем о-ЧПУ-шить листогиб с поворотной балкой?

Сообщение Sakhalin_Cat »

Доброго дня.
Хотелось бы установить систему ЧПУ на листогиб для автоматизации настроек гибки металла.
Аппаратную часть хотелось бы использовать по возможности МЕСА, есть ли какой-то софт фриварный под это дело.
.
Просто нужно будет скоро проводить капитальный ремонт нашего листогиба, хотелось бы сразу автоматизировать его настройку и работу. Раньше на нем стояло какое-то полу-ЧПУ но в 90х его сперли на метлом, ну а мы уже приделали к нему кнопки и работали вручную.
..

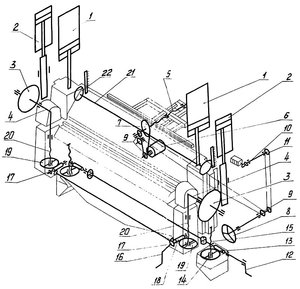
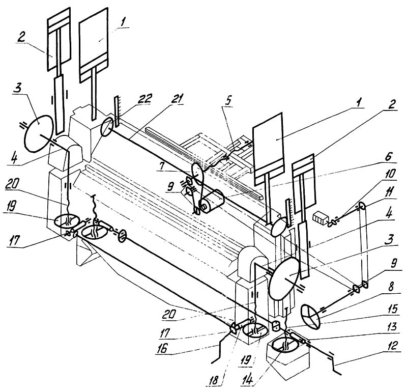
Основные параметры машины листогибочной с поворотной гибочной балкой ИВ2144:
Наибольшие размеры изгибаемого листа металла - 4,5 х 2500 мм
Угол поворота гибочной балки - 180°
Ход прижимной балки - 250 мм
Скорость гибочной балки - 38 град/сек
Величина регулировки гибочной балки - 100 мм
Мощность привода - 10,07 кВт
Вес машины полный - 6,46 т
spr_iv2144_1.jpg (1420 просмотров) <a class='original' href='./download/file.php?id=184737&mode=view' target=_blank>Загрузить оригинал (74.5 КБ)</a>
spr_iv2144_2.jpg (1420 просмотров) <a class='original' href='./download/file.php?id=184738&mode=view' target=_blank>Загрузить оригинал (103.95 КБ)</a>
spr_iv2144_foto.jpg (1420 просмотров) <a class='original' href='./download/file.php?id=184739&mode=view' target=_blank>Загрузить оригинал (37.56 КБ)</a>
spr_iv2144_kin.jpg (1420 просмотров) <a class='original' href='./download/file.php?id=184740&mode=view' target=_blank>Загрузить оригинал (123.27 КБ)</a>
spr_iv2144_ris.jpg
spr_iv2144_ris.jpg (31.21 КБ) 1420 просмотров
Хотелось бы получить в результате современный станок как на видео.

https://www.youtube.com/watch?v=LeK1Wtdrp5Y

Вернуться в «LinuxCNC»