Почему в опорах ШВП так ставят подшипники?
-
Бармалей
- Мастер
- Сообщения: 1205
- Зарегистрирован: 14 янв 2013, 16:46
- Репутация: 144
- Контактная информация:
Почему в опорах ШВП так ставят подшипники?
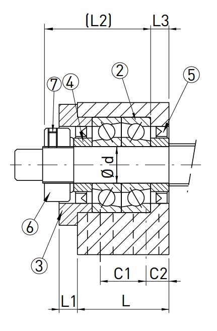
Во всех нормальных опорах ШВП подшипнпики стоят вот так.
Вопроса 2.
1) Почему по Х-схеме, а не по О?
2) Ставит ли кто пару обычных радиально-упорных с натягом от руки, стопорной гайкой на ШВП? Если нет, то почему?
1) Почему по Х-схеме, а не по О?
2) Ставит ли кто пару обычных радиально-упорных с натягом от руки, стопорной гайкой на ШВП? Если нет, то почему?
- frezeryga
- Почётный участник

- Сообщения: 13713
- Зарегистрирован: 18 авг 2013, 16:08
- Репутация: 5069
- Откуда: Жуковский
- Контактная информация:
Re: Почему в опорах ШВП так ставят подшипники?
Есть станок где стоят по схеме О и натянуты гайкой от руки и все норм. Это самое нормальное бюджетное решение.
email frezeryga@yandex.ru
instagram https://www.instagram.com/frezeryga
telegram https://t.me/md_cnc_frezeryga https://t.me/frezeryga
instagram https://www.instagram.com/frezeryga
telegram https://t.me/md_cnc_frezeryga https://t.me/frezeryga
- Dmaster
- Мастер
- Сообщения: 1272
- Зарегистрирован: 15 июл 2011, 13:36
- Репутация: 476
- Контактная информация:
Re: Почему в опорах ШВП так ставят подшипники?
Швп крепять вообще "кто во что горазд"
-2 опорных шариковых и 1 игольчатый ( высокая нагрузка, среднее вращение, высокая точность)
-2 роликовых радиально-упорных (ОЧЕНЬ ВЫСОКАЯ НАГРУЗКА, низкая скорость, средняя точность)
-спец подшипники 2 роликовых опорных и 1 игольчатый в едином корпусе (Высокая точность, средние обороты, высокая нагрузка И малый габарит)
-2 опорных шариковых 2 обычных шариковых (средняя нагрузка, повышенная скорость вращения, высокая точность)
-2 радиально-упорных (средняя нагрузка, высокая скорость, высокая точность)
-2 радиально-упорных (дуплексированные) (средняя нагрузка, очень высокая скорость, высокая точность)
-2 опорных шариковых и 1 игольчатый ( высокая нагрузка, среднее вращение, высокая точность)
-2 роликовых радиально-упорных (ОЧЕНЬ ВЫСОКАЯ НАГРУЗКА, низкая скорость, средняя точность)
-спец подшипники 2 роликовых опорных и 1 игольчатый в едином корпусе (Высокая точность, средние обороты, высокая нагрузка И малый габарит)
-2 опорных шариковых 2 обычных шариковых (средняя нагрузка, повышенная скорость вращения, высокая точность)
-2 радиально-упорных (средняя нагрузка, высокая скорость, высокая точность)
-2 радиально-упорных (дуплексированные) (средняя нагрузка, очень высокая скорость, высокая точность)
" Linux CNC - наше всё"
-
Бармалей
- Мастер
- Сообщения: 1205
- Зарегистрирован: 14 янв 2013, 16:46
- Репутация: 144
- Контактная информация:
Re: Почему в опорах ШВП так ставят подшипники?
2 роликовых радиально-упорных (ОЧЕНЬ ВЫСОКАЯ НАГРУЗКА, низкая скорость, средняя точность)
каталоги с подшипниками я тоже читал, спасибо ))в цифрах бы еще ))) низкая это сколько? 100 об/мин? И до 1500 ни-ни? А высокая? 20000 об/мин?Dmaster писал(а):2 радиально-упорных (дуплексированные) (средняя нагрузка, очень высокая скорость, высокая точность)
И точность... интересно, что за точность...Или имеется в виду ход внутренней обоймы, пока шарики/ролики по внешней катаются, из-за неровностей последней?
-
Бармалей
- Мастер
- Сообщения: 1205
- Зарегистрирован: 14 янв 2013, 16:46
- Репутация: 144
- Контактная информация:
Re: Почему в опорах ШВП так ставят подшипники?
Гайка не откручивается?frezeryga писал(а):Есть станок где стоят по схеме О и натянуты гайкой от руки и все норм. Это самое нормальное бюджетное решение.
- aegis
- Мастер
- Сообщения: 3171
- Зарегистрирован: 22 мар 2012, 06:59
- Репутация: 1810
- Настоящее имя: Михайло
- Откуда: Україна, Конотоп=>Запоріжжя=>Харьків
Re: Почему в опорах ШВП так ставят подшипники?
Бармалей, в данном узле всеравно - тут в основном осевая нагрузка. а так там есть незначительная разница в моменте, которое выдерживает опора.
нікому нічого не нав'язую.
- frezeryga
- Почётный участник

- Сообщения: 13713
- Зарегистрирован: 18 авг 2013, 16:08
- Репутация: 5069
- Откуда: Жуковский
- Контактная информация:
Re: Почему в опорах ШВП так ставят подшипники?
Бармалей, не откручивается. Тамже два стопорных винта.
email frezeryga@yandex.ru
instagram https://www.instagram.com/frezeryga
telegram https://t.me/md_cnc_frezeryga https://t.me/frezeryga
instagram https://www.instagram.com/frezeryga
telegram https://t.me/md_cnc_frezeryga https://t.me/frezeryga
-
Darxton
- Мастер
- Сообщения: 2113
- Зарегистрирован: 17 янв 2013, 08:19
- Репутация: 623
- Контактная информация:
Re: Почему в опорах ШВП так ставят подшипники?
Ну не совсем уж все равно. Раз все ставят именно так, то есть причина. Я тут немного похулиганю, ссылку на себя дам. Одним словом, наше мнение такое, что монтаж по такой схеме проще - подшипники с гарантией не рассыпешь.aegis писал(а):Бармалей, в данном узле всеравно - тут в основном осевая нагрузка. а так там есть незначительная разница в моменте, которое выдерживает опора.
- Dimka
- Мастер
- Сообщения: 1400
- Зарегистрирован: 14 июл 2016, 23:40
- Репутация: 347
- Настоящее имя: Дима
- Откуда: Санкт-Петербург
- Контактная информация:
Re: Почему в опорах ШВП такhttp://www.cnc-clu ставят подшипн
Я тоже немного поправлю.
Осевая жёсткость обеих компоновок почти одинакова. Однако компоновка "face-to-face" (или X) более лояльна к перекосам. А перекосы возникают при выставлении опор ШВП "не в плоскости" и при возможной несоосности гайки ШВП опорам. Особенно, когда гайка близко к опорам подъезжает. (читать тут, страница 12 - http://www.exvalos.cz/soubory/File/Mach ... _Guide.pdf)
Осевая жёсткость обеих компоновок почти одинакова. Однако компоновка "face-to-face" (или X) более лояльна к перекосам. А перекосы возникают при выставлении опор ШВП "не в плоскости" и при возможной несоосности гайки ШВП опорам. Особенно, когда гайка близко к опорам подъезжает. (читать тут, страница 12 - http://www.exvalos.cz/soubory/File/Mach ... _Guide.pdf)
Ну, наверное, ставят, но это менее надёжное решение. Натяг от руки - хорошая возможность перетянуть или недотянуть, а при дуплексации получаем, в зависимости от требуемого преднатяга, процент от статической грузоподъёмности.Бармалей писал(а):2) Ставит ли кто пару обычных радиально-упорных с натягом от руки, стопорной гайкой на ШВП? Если нет, то почему?
-
Бармалей
- Мастер
- Сообщения: 1205
- Зарегистрирован: 14 янв 2013, 16:46
- Репутация: 144
- Контактная информация:
Re: Почему в опорах ШВП так ставят подшипники?
Если я правильно понял, там написано что Х-схема лояльней к некачественному примыканию деталей корпуса опоры подшипника, а не перекосам.Dimka_almighty писал(а): Однако компоновка "face-to-face" (или X) более лояльна к перекосам. А перекосы возникают при выставлении опор ШВП "не в плоскости" и при возможной несоосности гайки ШВП опорам. Особенно, когда гайка близко к опорам подъезжает. (читать тут, страница 12
И я не совсем понимаю механику сего утверждения. И причем там длина винта.
- Dimka
- Мастер
- Сообщения: 1400
- Зарегистрирован: 14 июл 2016, 23:40
- Репутация: 347
- Настоящее имя: Дима
- Откуда: Санкт-Петербург
- Контактная информация:
Re: Почему в опорах ШВП так ставят подшипники?
На большой длине сложно выставить концентрично базовые цилиндрические поверхности. Вот в этом ключе и упоминается длина винта. Ты посмотри на картинки обеих компоновок, мысленно нагрузи вал изгибающим моментом. Интуитивно понятно, где шарики сжимает менее сильно.
Наверное, вместо "between the housings" было бы разумнее написать "between the ballscew supports".
housing - корпус
Наверное, вместо "between the housings" было бы разумнее написать "between the ballscew supports".
housing - корпус
-
Darxton
- Мастер
- Сообщения: 2113
- Зарегистрирован: 17 янв 2013, 08:19
- Репутация: 623
- Контактная информация:
Re: Почему в опорах ШВП так ставят подшипники?
Нет, там все верно. Речь там именно о корпусе. Схема дает представление, почему именно так - при Х-схеме смыкание и установку подшипников обеспечивает валовая гайка на винте.Dimka_almighty писал(а):На большой длине сложно выставить концентрично базовые цилиндрические поверхности. Вот в этом ключе и упоминается длина винта. Ты посмотри на картинки обеих компоновок, мысленно нагрузи вал изгибающим моментом. Интуитивно понятно, где шарики сжимает менее сильно.
Наверное, вместо "between the housings" было бы разумнее написать "between the ballscew supports".
housing - корпус
А несоосность вызовет клин при любой схеме.
- Prav
- Мастер
- Сообщения: 834
- Зарегистрирован: 14 июл 2015, 05:10
- Репутация: 138
- Настоящее имя: Петр Раввинский
- Откуда: Москва
- Контактная информация:
Re: Почему в опорах ШВП так ставят подшипники?
Молоток! Всё правильно.Dimka_almighty писал(а):Осевая жёсткость обеих компоновок почти одинакова. Однако компоновка "face-to-face" (или X) более лояльна к перекосам. А перекосы возникают при выставлении опор ШВП "не в плоскости" и при возможной несоосности гайки ШВП опорам.
-
netraider
- Мастер
- Сообщения: 209
- Зарегистрирован: 23 май 2015, 10:47
- Репутация: 49
- Настоящее имя: Юрий
- Откуда: Москва
- Контактная информация:
Re: Почему в опорах ШВП так ставят подшипники?
Если перекосов(сдвигов/поворотов) между опорами нет, то при наличии несоосности гайки дольше проживет опора с "O" схемой. Аналогично и при Fixed-Floating (один висящий конец) схемы установки опор. Moment stiffness у "O" опоры больше.Dimka_almighty писал(а):А перекосы возникают при выставлении опор ШВП "не в плоскости" и при возможной несоосности гайки ШВП опорам.
Плюс, при увеличении разницы температур между валом и корпусом опоры (вал горячее опоры), в Back-to-back схеме преднатяг практически не увеличивается. При разнице температур между внутренними и внешними кольцами внутренние кольца (плюс сам вал, да и шарики тоже) увеличиваются в размерах "больше" чем внешние. В face-to-face схеме это может привести к значительному росту преднатяга, еще большему выделению тепла и т.д. Время жизни сокращается. Но это больше актуально для подшипников в мотор-шпинделях.
--
At the nanometer level, the world is made of rubber (с)
At the nanometer level, the world is made of rubber (с)
- Dimka
- Мастер
- Сообщения: 1400
- Зарегистрирован: 14 июл 2016, 23:40
- Репутация: 347
- Настоящее имя: Дима
- Откуда: Санкт-Петербург
- Контактная информация:
Re: Почему в опорах ШВП так ставят подшипники?
Darxton, при обеих схемах внутренние и наружние кольца прижимаются друг к другу. Какого-либо перекоса в опоре добиться сложно - база небольшая и точится за один установ. Тот отрывок мануала, думаю, в контексте ШВП идёт. Не зря длина указана. Вы сами-то нарисуйте немного смещённые опоры и поймёте, про какой перекос идёт речь. А потом добавить гайку и посмотреть, что будет при её приближении к опорам.
К слову, Х-схема немного похожа на самоустанавливающийся подшипник, который призван нивелировать влияние перекосов - http://snr.com.ru/e/bearing/sf/2.jpg .
К слову, Х-схема немного похожа на самоустанавливающийся подшипник, который призван нивелировать влияние перекосов - http://snr.com.ru/e/bearing/sf/2.jpg .
-
Darxton
- Мастер
- Сообщения: 2113
- Зарегистрирован: 17 янв 2013, 08:19
- Репутация: 623
- Контактная информация:
Re: Почему в опорах ШВП так ставят подшипники?
Пожалуй, соглашусь. housings - опоры.Dimka_almighty писал(а):Darxton, при обеих схемах внутренние и наружние кольца прижимаются друг к другу. Какого-либо перекоса в опоре добиться сложно - база небольшая и точится за один установ. Тот отрывок мануала, думаю, в контексте ШВП идёт.
- Dimka
- Мастер
- Сообщения: 1400
- Зарегистрирован: 14 июл 2016, 23:40
- Репутация: 347
- Настоящее имя: Дима
- Откуда: Санкт-Петербург
- Контактная информация:
Re: Почему в опорах ШВП так ставят подшипники?
netraider, дык, moment stiffness больше, но при этом при перекосе (и вызванным этим перекосом изгибаюшим моментом) ресурс меньше. А смысл в этом, если важна осевая жёсткость..
- Dimka
- Мастер
- Сообщения: 1400
- Зарегистрирован: 14 июл 2016, 23:40
- Репутация: 347
- Настоящее имя: Дима
- Откуда: Санкт-Петербург
- Контактная информация:
Re: Почему в опорах ШВП так ставят подшипники?
У американцнв как только не применяется это слово. Я один раз в книге видел переднюю бабку вместо "headstock" назвали "spindle housing".Darxton писал(а): Пожалуй, соглашусь. housings - опоры.
-
netraider
- Мастер
- Сообщения: 209
- Зарегистрирован: 23 май 2015, 10:47
- Репутация: 49
- Настоящее имя: Юрий
- Откуда: Москва
- Контактная информация:
Re: Почему в опорах ШВП так ставят подшипники?
Ну так у опоры с 'X' схемой в этом случае ресурс еще меньше.Dimka_almighty писал(а):netraider, дык, moment stiffness больше, но при этом при перекосе (и вызванным этим перекосом изгибаюшим моментом) ресурс меньше. А смысл в этом, если важна осевая жёсткость..
--
At the nanometer level, the world is made of rubber (с)
At the nanometer level, the world is made of rubber (с)
- Dimka
- Мастер
- Сообщения: 1400
- Зарегистрирован: 14 июл 2016, 23:40
- Репутация: 347
- Настоящее имя: Дима
- Откуда: Санкт-Петербург
- Контактная информация:
Re: Почему в опорах ШВП так ставят подшипники?
netraider, почему?