Переходная плита. Изготовить

Запрос и предложение услуг по обработке, проектированию, моделированию и т.д.
Правила форума
Разрешается публиковать предложения по предоставлению услуг как физическим лицам так и коммерческим организациям, при соблюдении следующих условий:
1. должны присутствовать характеристики предлагаемых услуг, возможности оборудования
2. должна присутствовать стоимость услуги
3. должно присутствовать описание способов оплаты, доставки и места расположения (город)
4. один продавец - одна тема

Фотографии товаров приветствуются (фотографии должны быть вложениями к сообщениям).

Возможно размещение ссылки на свой сайт, с описанием товара, при обязательном соблюдении пунктов 1-3.

Администрация форума может удалить тему или сообщения из данного раздела на свое усмотрение, без объяснения причин!
Eugen59
Новичок
Сообщения: 15
Зарегистрирован: 18 июн 2019, 16:35
Репутация: 0
Настоящее имя: Евгений
Контактная информация:

Переходная плита. Изготовить

Сообщение Eugen59 »

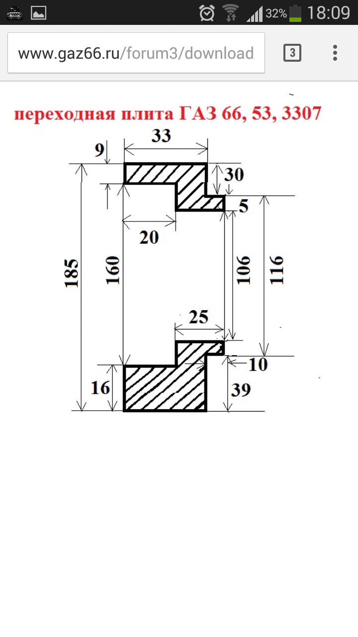
Здравствуйте. Необходимо изготовить стальную переходную плиту для стыковки кпп. Заготовка 36х180х270 мм
Вложения
71322273-17db-4752-ae04-1b6e3537ac15.jpeg (4749 просмотров) <a class='original' href='./download/file.php?id=165325&mode=view' target=_blank>Загрузить оригинал (132.91 КБ)</a>
36920a72-e36e-4161-aac8-851c07a85495.jpeg (4749 просмотров) <a class='original' href='./download/file.php?id=165326&mode=view' target=_blank>Загрузить оригинал (195.03 КБ)</a>
a842de83-81a2-4554-8c08-0b5d781fb425.jpeg (4746 просмотров) <a class='original' href='./download/file.php?id=165328&mode=view' target=_blank>Загрузить оригинал (325.97 КБ)</a>
dd58f96f-6451-4813-bac8-9945e3b7e92e.jpeg (4746 просмотров) <a class='original' href='./download/file.php?id=165329&mode=view' target=_blank>Загрузить оригинал (307.91 КБ)</a>
511f245c-0933-4bda-a595-6dfceadb0951.jpeg (4746 просмотров) <a class='original' href='./download/file.php?id=165330&mode=view' target=_blank>Загрузить оригинал (343.49 КБ)</a>
Аватара пользователя
xvovanx
Мастер
Сообщения: 3773
Зарегистрирован: 25 фев 2016, 12:27
Репутация: 920
Настоящее имя: Владимир
Откуда: Latvia
Контактная информация:

Re: Переходная плита. Изготовить

Сообщение xvovanx »

Eugen59 писал(а):Заготовка 36х180х270 мм
По чертежу толщина самой детали уже 45мм...и высота 185мм... Чертежи вообще с грубыми ошибками в размерах...(на масштаб деталей второго чертежа - уже закрыл глаза)
Вложения
5.jpeg (4678 просмотров) <a class='original' href='./download/file.php?id=165336&mode=view' target=_blank>Загрузить оригинал (138.02 КБ)</a>
Последний раз редактировалось xvovanx 27 июн 2019, 22:54, всего редактировалось 1 раз.
Eugen59
Новичок
Сообщения: 15
Зарегистрирован: 18 июн 2019, 16:35
Репутация: 0
Настоящее имя: Евгений
Контактная информация:

Re: Переходная плита. Изготовить

Сообщение Eugen59 »

Эти чертежи я из интернета взял. Да, есть косяки в них. Мне главное, чтоб толщина где указано 33 мм была, а остальные 3 мм уйдут на буртик.
dpss-2
Мастер
Сообщения: 628
Зарегистрирован: 02 сен 2018, 15:15
Репутация: 305
Настоящее имя: Alex
Контактная информация:

Re: Переходная плита. Изготовить

Сообщение dpss-2 »

Допусков нет. Совсем. При таком задании, могут сделать +\- оглобля, любой размер. :hehehe:
Аватара пользователя
xvovanx
Мастер
Сообщения: 3773
Зарегистрирован: 25 фев 2016, 12:27
Репутация: 920
Настоящее имя: Владимир
Откуда: Latvia
Контактная информация:

Re: Переходная плита. Изготовить

Сообщение xvovanx »

Пока не будет более менее порядка с чертежами и тех.заданием, реальные предложения вряд ли появятся, имхо.
Аватара пользователя
Ura
Кандидат
Сообщения: 97
Зарегистрирован: 05 ноя 2012, 21:42
Репутация: 30
Настоящее имя: Юра
Контактная информация:

Re: Переходная плита. Изготовить

Сообщение Ura »

Че пристали с допусками, если нет допусков, по умолчанию принимаем H14, H14, it14/2
Eugen59
Новичок
Сообщения: 15
Зарегистрирован: 18 июн 2019, 16:35
Репутация: 0
Настоящее имя: Евгений
Контактная информация:

Re: Переходная плита. Изготовить

Сообщение Eugen59 »

Заготовока есть у кого нибудь такая? А то весь город обыскал, продают только погонными метрами. Сам сделаю
Евжений
Мастер
Сообщения: 1168
Зарегистрирован: 05 апр 2016, 20:18
Репутация: 136
Настоящее имя: Жэзэрэл
Откуда: Там, сям.
Контактная информация:

Re: Переходная плита. Изготовить

Сообщение Евжений »

Eugen59 писал(а):весь город обыскал
Та же фигня. Не могу найти. Город.
ВК https://vk.com/id353124059
О Боже, дай мне .... пендель!
nik1
Мастер
Сообщения: 8408
Зарегистрирован: 02 окт 2012, 07:37
Репутация: 3629
Откуда: Красногорск
Контактная информация:

Re: Переходная плита. Изготовить

Сообщение nik1 »

Ищи кусочками на директлоте
http://directlot.ru/products.php?group= ... FC&ot=&do=
Eugen59
Новичок
Сообщения: 15
Зарегистрирован: 18 июн 2019, 16:35
Репутация: 0
Настоящее имя: Евгений
Контактная информация:

Re: Переходная плита. Изготовить

Сообщение Eugen59 »

Евжений писал(а):
Eugen59 писал(а):весь город обыскал
Та же фигня. Не могу найти. Город.
Пермь
Eugen59
Новичок
Сообщения: 15
Зарегистрирован: 18 июн 2019, 16:35
Репутация: 0
Настоящее имя: Евгений
Контактная информация:

Re: Переходная плита. Изготовить

Сообщение Eugen59 »

Или как вариант изготовить две плиты потоньше
Вложения
Плита 2 чертеж.jpg (4151 просмотр) <a class='original' href='./download/file.php?id=165938&mode=view' target=_blank>Загрузить оригинал (320.37 КБ)</a>
Плита 1 чертеж.jpg (4151 просмотр) <a class='original' href='./download/file.php?id=165939&mode=view' target=_blank>Загрузить оригинал (369.06 КБ)</a>
kostos666
Кандидат
Сообщения: 56
Зарегистрирован: 16 фев 2016, 16:24
Репутация: 6
Настоящее имя: Константин Викторович
Контактная информация:

Re: Переходная плита. Изготовить

Сообщение kostos666 »

То ниКаких допусков не было ,а то сразу -0.01
Eugen59
Новичок
Сообщения: 15
Зарегистрирован: 18 июн 2019, 16:35
Репутация: 0
Настоящее имя: Евгений
Контактная информация:

Re: Переходная плита. Изготовить

Сообщение Eugen59 »

kostos666 писал(а):То ниКаких допусков не было ,а то сразу -0.01
исчерпывающий чертёж?
tehnic
Мастер
Сообщения: 346
Зарегистрирован: 02 апр 2018, 23:23
Репутация: 20
Настоящее имя: Александр
Контактная информация:

Re: Переходная плита. Изготовить

Сообщение tehnic »

Могу взяться из цельной плиты, если договоримся о цене и сроках.
Eugen59
Новичок
Сообщения: 15
Зарегистрирован: 18 июн 2019, 16:35
Репутация: 0
Настоящее имя: Евгений
Контактная информация:

Re: Переходная плита. Изготовить

Сообщение Eugen59 »

tehnic писал(а):Могу взяться из цельной плиты, если договоримся о цене и сроках.
Хорошо,предлагайте
tehnic
Мастер
Сообщения: 346
Зарегистрирован: 02 апр 2018, 23:23
Репутация: 20
Настоящее имя: Александр
Контактная информация:

Re: Переходная плита. Изготовить

Сообщение tehnic »

Для начала мне нужен чертёж того, что Вам нужно изготовить. Со всеми размерами и допусками.
Eugen59
Новичок
Сообщения: 15
Зарегистрирован: 18 июн 2019, 16:35
Репутация: 0
Настоящее имя: Евгений
Контактная информация:

Re: Переходная плита. Изготовить

Сообщение Eugen59 »

Нужно подправить чертёж который в начале темы, займусь этим на днях
Сергей1986
Новичок
Сообщения: 32
Зарегистрирован: 05 июл 2019, 14:08
Репутация: 0
Настоящее имя: Сергей
Контактная информация:

Re: Переходная плита. Изготовить

Сообщение Сергей1986 »

Готов изготовить из целика id148888293 профиль в вк
Сергей1986
Новичок
Сообщения: 32
Зарегистрирован: 05 июл 2019, 14:08
Репутация: 0
Настоящее имя: Сергей
Контактная информация:

Re: Переходная плита. Изготовить

Сообщение Сергей1986 »

Материал какой?
Ответить

Вернуться в «Услуги»