Страница 33 из 67
Re: ВСО из полимербетона
Добавлено: 19 сен 2013, 19:30
nik1
давай фотки хотя бы

Re: ВСО из полимербетона
Добавлено: 19 сен 2013, 19:35
aftaev
Re: ВСО из полимербетона
Добавлено: 19 сен 2013, 19:57
dpss
К списку можно добавить координатно - измерительную машину, лазерный 3D трассер (в другом названии трекер), измерительный электронный манипулятор, комплект электронных уровней с секундным разрешением, и много-много грошей, что бы купить что-нибудь из этого списка, пожалуй за исключением плиты. Кстати для интерферометра комплект угло и плоскостемерной оптики стоит ещё половину интерферометра.
Re: ВСО из полимербетона
Добавлено: 19 сен 2013, 20:13
aftaev
dpss, кстати как это по английски называется что ты написал (лазерный 3D трассер, комплект электронных уровней с секундным разрешением, интерферометр, автокалиматор) ? Пробовал на евау найти не знаю как называется
Re: ВСО из полимербетона
Добавлено: 19 сен 2013, 20:34
dpss
Да так и называются. Как слышится, так и пишется

interferometer, electronic level meter, autocollimator, laser tracer. Там этого добра много, но ситуация примерно как с технологическими лазерами, о чем я раньше писал. Без хорошего знания предмета покупки наверняка привезешь нерабочий, некомплектный старый хлам.
Re: ВСО из полимербетона
Добавлено: 19 сен 2013, 20:59
sr480
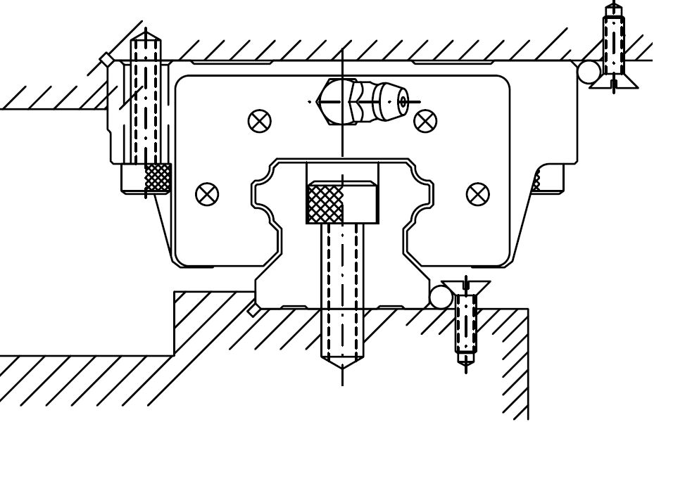
Это стол. Донес только до гаража ибо тяжелый (80 кг не меньше)
С обратной стороны вроде даже есть куча отверстий для крепления рельс (сам не видел

).
Мастер рельс прижимается к штифтам, которые предварительно шлифуются по линейке, а потом поджимается как на рисунке:
А потом второй рельс выставляется по индикатору относительно первой.
Это переходная плита (или фланец), которая соединяет оси Х и У.
Прижимные планки стоят только на одной паре кареток, что со стороны мастер рельса. База под каретки шлифованная за один проход и установ. Вторые пары кареток имеют широкий паз +5 десяток, чтоб каретки можно было их свободно двигать и потом притягивать уже одев на рельсы.
Плита с обратной стороны и паз под винт - тут же отверстия под крепление гайки.
Ну и плоскость по световой щели

Re: ВСО из полимербетона
Добавлено: 19 сен 2013, 21:00
sr480
Уровень есть 0.02 на метр. А ролики из подшипников сделать???
Re: ВСО из полимербетона
Добавлено: 19 сен 2013, 21:03
nik1
Зачетные железки

Re: ВСО из полимербетона
Добавлено: 19 сен 2013, 21:16
aftaev
sr480 писал(а):Уровень есть 0.02 на метр. А ролики из подшипников сделать???
С новых подшипов сделай. Но плиту придется точно выставить по уровню.
Какие блястящие железки

Re: ВСО из полимербетона
Добавлено: 19 сен 2013, 22:12
sr480
Ну вроде все работает, что задумывалось. Правда немного больше размером чем я представлял

Re: ВСО из полимербетона
Добавлено: 20 сен 2013, 07:30
nik1
Теперь сборка попрет полным ходом?
Re: ВСО из полимербетона
Добавлено: 20 сен 2013, 07:36
sr480
Нет. Рельсы не приехали еще. Формы для литья не готовы. Я в воскресенье уезжаю на 10 дней. Еще нужно изготовить кучу всего вроде опор винта, фланцев моторов, креплений гаек, но это уже все сам буду делать.
Re: ВСО из полимербетона
Добавлено: 20 сен 2013, 07:38
nik1
Ясна, работы еще прилично
Re: ВСО из полимербетона
Добавлено: 20 сен 2013, 09:26
sr480
Если в телескоп поставить такую щетку:
Это щетка на двери в шкафах купе клеится.
Re: ВСО из полимербетона
Добавлено: 20 сен 2013, 09:31
nik1
Может всеже добавить еще скребки из материала типа плотной резины, а то имха этот уплотнитель долго не протянет
Re: ВСО из полимербетона
Добавлено: 20 сен 2013, 09:32
sr480
Ну еще можно добавить уплотнительную резину как на двери и окна клеят.
Re: ВСО из полимербетона
Добавлено: 20 сен 2013, 09:33
Nick
Имхо лучше взять резинку от дворника...
Re: ВСО из полимербетона
Добавлено: 20 сен 2013, 09:37
aftaev
Nick писал(а):Имхо лучше взять резинку от дворника...
читаешь мои мысли

Re: ВСО из полимербетона
Добавлено: 20 сен 2013, 09:45
sr480
Только она будет подворачиваться. Её бы укоротить.
Re: ВСО из полимербетона
Добавлено: 20 сен 2013, 11:19
nik1
А может под нее сделать типа держалки с пазом?
Что бы резинка торчала немного из крепехи