на ибэй уже страшно стало заходить, такое ощущение что ОН за каким нить банером иль картинкой прячется, подсматривает и хихикает
Обзор конструкции моего мист кулера
- NightV
 - Почётный участник

 - Сообщения: 6610
 - Зарегистрирован: 30 дек 2011, 09:14
 - Репутация: 2279
 - Настоящее имя: Владимир Айрапетян
 - Откуда: Israel
 - Контактная информация:
 
Re: Обзор конструкции моего мист кулера
а давайте его раскулачим а медальки поделим 
на ибэй уже страшно стало заходить, такое ощущение что ОН за каким нить банером иль картинкой прячется, подсматривает и хихикает
  
			
			
									
									на ибэй уже страшно стало заходить, такое ощущение что ОН за каким нить банером иль картинкой прячется, подсматривает и хихикает
Всё просто! если знаешь КАК!
						- Nick
 - Мастер
 - Сообщения: 22776
 - Зарегистрирован: 23 ноя 2009, 16:45
 - Репутация: 1735
 - Заслуга: Developer
 - Откуда: Gatchina, Saint-Petersburg distr., Russia
 - Контактная информация:
 
Re: Обзор конструкции моего мист кулера
+1 медалька. 
Скоро Алексса будете раскулачивать
. 
ЗЫ вроде как после 10+ при нажатии на + сообщение зеленеет. Но потом цвет возвращается...
			
			
									
									
						Скоро Алексса будете раскулачивать
ЗЫ вроде как после 10+ при нажатии на + сообщение зеленеет. Но потом цвет возвращается...
- Predator
 - Мастер
 - Сообщения: 9583
 - Зарегистрирован: 18 июл 2013, 18:26
 - Репутация: 2531
 - Контактная информация:
 
Re: Обзор конструкции моего мист кулера
Ага, так и было!Nick писал(а):после 10+ при нажатии на + сообщение зеленеет. Но потом цвет возвращается...
А Алексса раскулачим ежели чего
PS: Вот Алеккс видишь, как я тебе с Ника медальку подтянул, не прошло и двух дней
- Алексс
 - Почётный участник

 - Сообщения: 2210
 - Зарегистрирован: 20 июл 2012, 15:49
 - Репутация: 266
 - Заслуга: IQ32
 - Настоящее имя: Алексей
 - Откуда: Прага
 - Контактная информация:
 
Re: Обзор конструкции моего мист кулера
можно сказать отжал  
 
всем спасибо за заботу, внимание
			
			
									
									всем спасибо за заботу, внимание
Каждая собака, бегущая на поводке впереди хозяина, думает, что ведет его за собой.
						- Fisher
 - Почётный участник

 - Сообщения: 3391
 - Зарегистрирован: 09 апр 2012, 12:39
 - Репутация: 424
 - Откуда: Киров
 - Контактная информация:
 
Re: Обзор конструкции моего мист кулера
Э-э-э-э! Я тебя не узнал в твоей новой аватаре )))))))))))
			
			
									
									www.cncru.ru - все виды станков с ЧПУ. Комплектующие.
						- Алексс
 - Почётный участник

 - Сообщения: 2210
 - Зарегистрирован: 20 июл 2012, 15:49
 - Репутация: 266
 - Заслуга: IQ32
 - Настоящее имя: Алексей
 - Откуда: Прага
 - Контактная информация:
 
Re: Обзор конструкции моего мист кулера
к каждому раскулачивателю будут применены assинхронные санкцииNick писал(а):Скоро Алексса будете раскулачивать
					Последний раз редактировалось Алексс 13 авг 2014, 14:27, всего редактировалось 2 раза.
									
			
									Каждая собака, бегущая на поводке впереди хозяина, думает, что ведет его за собой.
						- Алексс
 - Почётный участник

 - Сообщения: 2210
 - Зарегистрирован: 20 июл 2012, 15:49
 - Репутация: 266
 - Заслуга: IQ32
 - Настоящее имя: Алексей
 - Откуда: Прага
 - Контактная информация:
 
Re: Обзор конструкции моего мист кулера
Fisher, аватара - второе лицо(личность) 
пока на бета тестировании.
			
			
									
									пока на бета тестировании.
Каждая собака, бегущая на поводке впереди хозяина, думает, что ведет его за собой.
						- Predator
 - Мастер
 - Сообщения: 9583
 - Зарегистрирован: 18 июл 2013, 18:26
 - Репутация: 2531
 - Контактная информация:
 
Re: Обзор конструкции моего мист кулера
Ага, я тоже не признал сначалаFisher писал(а):Э-э-э-э! Я тебя не узнал в твоей новой аватаре )))))))))))
- 
				nik1
 - Мастер
 - Сообщения: 8408
 - Зарегистрирован: 02 окт 2012, 07:37
 - Репутация: 3629
 - Откуда: Красногорск
 - Контактная информация:
 
Re: Обзор конструкции моего мист кулера
Это да, не понятная кошара 
			
			
									
									
						- 
				nik1
 - Мастер
 - Сообщения: 8408
 - Зарегистрирован: 02 окт 2012, 07:37
 - Репутация: 3629
 - Откуда: Красногорск
 - Контактная информация:
 
Хочу купить такую пшикалку (туман)
Хочу купить такую пшикалку
http://www.fogbuster.com/Machining-Spra ... ducts.html
Но жаба не даёт отвалить 18 рублей
 
Они типо пишут про свой патент, на то что струя капельками , а не туманом
За счет чего так получается?
			
							
			
									
									
						http://www.fogbuster.com/Machining-Spra ... ducts.html
Но жаба не даёт отвалить 18 рублей
Они типо пишут про свой патент, на то что струя капельками , а не туманом
За счет чего так получается?
- niksooon
 - Мастер
 - Сообщения: 2144
 - Зарегистрирован: 23 июн 2014, 23:18
 - Репутация: 1207
 - Откуда: Кашира
 - Контактная информация:
 
Re: Тяжелый станок 500х400х200 по алюминию
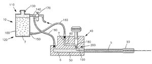
Видится мне что в этом Пендосском патенте ничего сверхестественного нет . Корпус водяного фильтра заполняется СОЖ . Далее подаем воздух и Сож вытесняется из баклажки под небольшим избыточным давлением (не зря-же регулятор давления стоит на входе) ,чтобы жидкость не текла струей в защишенной патентом синенькой такой хреновине подмешивается еще некоторое количество воздуха через регулируемый дроссель Пожалуй добавлю --------- заборная трубка СОЖ-а должна разумеется около дна емкости болтаться........nik1 писал(а):За счет чего так получается?
Сделанное правильно — красиво. Если сделанное тебе не нравится — то и работать оно будет хреново. Перевари, пересверли, выпили заново — ну, или хотя бы покрась.
						- 
				nik1
 - Мастер
 - Сообщения: 8408
 - Зарегистрирован: 02 окт 2012, 07:37
 - Репутация: 3629
 - Откуда: Красногорск
 - Контактная информация:
 
Re: Тяжелый станок 500х400х200 по алюминию
В общем нужно сделать и поиграться с такими каплями
			
			
									
									
						- 
				TAV
 - Мастер
 - Сообщения: 383
 - Зарегистрирован: 08 авг 2013, 13:14
 - Репутация: 117
 - Настоящее имя: Антон
 - Откуда: Иркутск
 - Контактная информация:
 
Re: Хочу купить такую пшикалку (туман)
Сделал себе похожую фигню, не очень понравилась, лить сож толстой струей мне больше нравится.
			
							
			
									
									
						- Алексс
 - Почётный участник

 - Сообщения: 2210
 - Зарегистрирован: 20 июл 2012, 15:49
 - Репутация: 266
 - Заслуга: IQ32
 - Настоящее имя: Алексей
 - Откуда: Прага
 - Контактная информация:
 
Re: Хочу купить такую пшикалку (туман)
шта ?! 18р за что ??
хотя, если хочется, надо брать  
			
			
									
									Каждая собака, бегущая на поводке впереди хозяина, думает, что ведет его за собой.
						- 
				nik1
 - Мастер
 - Сообщения: 8408
 - Зарегистрирован: 02 окт 2012, 07:37
 - Репутация: 3629
 - Откуда: Красногорск
 - Контактная информация:
 
Re: Хочу купить такую пшикалку (туман)
Струя конечно хорошо, но пока не вариант по тем же причинам
Алекс, хорошая картинка
 
У них получается не надо делать трубку в трубке, похоже такой вариант попроще будет
			
			
									
									
						Алекс, хорошая картинка
У них получается не надо делать трубку в трубке, похоже такой вариант попроще будет
- Сергей Саныч
 - Мастер
 - Сообщения: 9116
 - Зарегистрирован: 30 май 2012, 14:20
 - Репутация: 2858
 - Откуда: Тюмень
 - Контактная информация:
 
Re: Хочу купить такую пшикалку (туман)
Взять регулируемую насадку от садового опрыскивателя. Там легко настраивается размер капель - от почти тумана до тонкой струи. Распыление безвоздушное, давление 2 атм.
			
			
									
									Чудес не бывает. Бывают фокусы.
						Re: Хочу купить такую пшикалку (туман)
Посмотрите по ссылки конструктив отличается внешне, вводы трубок воздуха и смеси отличаются, они расположены на скосе.Алексс писал(а):шта ?! 18р за что ?? хотя, если хочется, надо брать
И ещё достоверно не зивестно что внутри, возможно тоже есть особенности, которые запатентовали.
На фото выделил некотороые элементы которые отсутствую в Fogbusterpatent.jpg
					Последний раз редактировалось 2cme 26 сен 2014, 20:15, всего редактировалось 1 раз.
									
			
									
						- Алексс
 - Почётный участник

 - Сообщения: 2210
 - Зарегистрирован: 20 июл 2012, 15:49
 - Репутация: 266
 - Заслуга: IQ32
 - Настоящее имя: Алексей
 - Откуда: Прага
 - Контактная информация:
 
Re: Хочу купить такую пшикалку (туман)
ну это же все кардинально меняет! нанотехнологии и все такое2cme писал(а):они расположены на скосе
Fogbusterpatent.jpg
Каждая собака, бегущая на поводке впереди хозяина, думает, что ведет его за собой.
						Re: Хочу купить такую пшикалку (туман)
И не только, посмотрите на фото указал стрелочками.Алексс писал(а):ну это же все кардинально меняет! нанотехнологии и все такое2cme писал(а):они расположены на скосе![]()
Fogbusterpatent.jpg
- 
				nik1
 - Мастер
 - Сообщения: 8408
 - Зарегистрирован: 02 окт 2012, 07:37
 - Репутация: 3629
 - Откуда: Красногорск
 - Контактная информация:
 
Re: Хочу купить такую пшикалку (туман)
Две левые стрелки, это скорее всего крепежный элемент
			
			
									
									
						