mesa 5i20 + 7i33 подключить аналоговый привод
- NightV
- Почётный участник

- Сообщения: 6611
- Зарегистрирован: 30 дек 2011, 09:14
- Репутация: 2279
- Настоящее имя: Владимир Айрапетян
- Откуда: Israel
- Контактная информация:
Re: mesa 5i20 + 7i33 подключить аналоговый привод
речь шла о физических ледах на дочерней плате 7I37
Всё просто! если знаешь КАК!
Re: mesa 5i20 + 7i33 подключить аналоговый привод
Его зовут Олег Водянов.roach писал(а):Гдето читал что в меса есть русскоговорящий инженер. Может у кого есть email?
oleg@mesanet.com
Re: mesa 5i20 + 7i33 подключить аналоговый привод
Первоначально энкодер завели что бы иметь сигнал index при нахождении нуля.Nick писал(а):Что значит выбивает? Он стопорится, наоборот быстро крутится, или серва выдает ошибку?roach писал(а):двигатель крутиться только при FF1=0.2 если больше то выбивает, если меньше то не крутиткрутится на медленных оборотах, но если прибавить скорости срывается и выбивает. Будто накапливается погрешность между заданным и действительным перемещением, и привод пытается ее исправить и выбивает.
А энкодер правильно обороты считает?
Скопируй только вот эти параметры:roach писал(а):тупо копировали конфу aike но при запуcке не отображаются даже данные с енкодера двигателя.его конфигурация тут http://microcnc.ru/research/1325F30.php
P = 50.0
I = 0.0
D = 0.0
FF0 = 0.0
FF1 = 1.0
FF2 = 0.0
BIAS = 0.0
DEADBAND = 0.001
OUTPUT_SCALE = 250.0
OUTPUT_OFFSET = 0.0
MAX_OUTPUT = 140.0
Кстати, а зачем контролировать серву в режиме Step/Dir через pid? И зачем нам ее энкодер? Если мы хотим отслеживать ошибки и серва управляется по step/dir и у нее есть сигнал FError, то просто заводим вывод сигналов ошибки сервы в EMC2 и управляем ей как шаговиком. В крайнем случае, можем просто вывод энкодера завести на stepgen-feedback и отслеживать следование траектории самостоятельно. Но имхо pid можно не использовать совсем...
Вроде нормально. С ним у меня бывали проблемы, когда гугл выкидывал не на него, а на что-то совсем другое...roach писал(а):сайт http://www.linuxcnc.org у всех нормально работает? а то мне приходить удалять www. что бы отобразить содержимое разделов, а сейчас при удалении www. тупо выкидывать на главную стало(
А потом в процессе работы использовали для контроля текущей ferror (follow error).
Потом на хале написал приблуды для контроля и нахождения ошибок в процессе работы.
Сейчвс постоянно в 2 смены стоит MESA на 2-х токарных станках ИТ42 и 1325Ф30.
Отказов по работе нет.
Но вынужден покупать за бугром б/у станки иак как постоянно модернизировать не успею, план выпуска растет.
За последние 2 года взял 4 ОЦ - 2 шт. Hitachi VK45III (1994-1995 год) и 2 шт. двухпалетные HITACHI HG400III (1995-1997 год).
В среднем станок с растаможкой и доставкой до 1.1 млн. руб.
Но в плане еще запустить 1325Ф30, как освобожусь.
А пока запускаю 2шт. OKUMA LC20. Кстати довольно нормальный интерфейс, ЧПУ OSP5000-G
- Lexxa
- Мастер
- Сообщения: 2703
- Зарегистрирован: 16 дек 2011, 16:48
- Репутация: 319
- Настоящее имя: Алексей
- Откуда: ryazan
- Контактная информация:
Re: mesa 5i20 + 7i33 подключить аналоговый привод
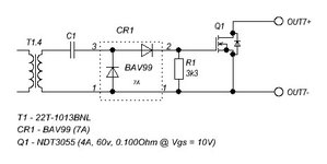
Светодиоды на плате 7i37TA предназначены исключительно для индикации неправильной полярности на INn+ и INn- входах. Нарисовал один канал входа:речь шла о физических ледах на дочерней плате 7I37
Последний раз редактировалось Lexxa 22 янв 2012, 00:53, всего редактировалось 1 раз.
- Lexxa
- Мастер
- Сообщения: 2703
- Зарегистрирован: 16 дек 2011, 16:48
- Репутация: 319
- Настоящее имя: Алексей
- Откуда: ryazan
- Контактная информация:
Re: mesa 5i20 + 7i33 подключить аналоговый привод
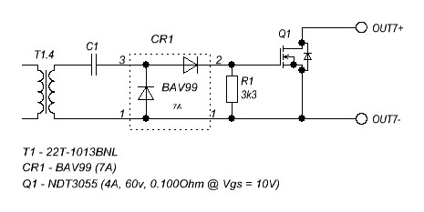
До кучи уж и выходной каскад OUT7.
Полевикhttp://www.fairchildsemi.com/ds/ND/NDT3055.pdf
Диодhttp://www.fairchildsemi.com/ds/BA/BAV99.pdf
Полевикhttp://www.fairchildsemi.com/ds/ND/NDT3055.pdf
Диодhttp://www.fairchildsemi.com/ds/BA/BAV99.pdf
Последний раз редактировалось Lexxa 22 янв 2012, 01:37, всего редактировалось 1 раз.
-
zilk
- Опытный
- Сообщения: 139
- Зарегистрирован: 07 янв 2012, 19:05
- Репутация: 1
- Откуда: Украина, Харьков
- Контактная информация:
Re: mesa 5i20 + 7i33 подключить аналоговый привод
Таким макаром полевик всегда будет в закрытом состоянии..Lexxa писал(а):До кучи уж и выходной каскад OUT7.
- Lexxa
- Мастер
- Сообщения: 2703
- Зарегистрирован: 16 дек 2011, 16:48
- Репутация: 319
- Настоящее имя: Алексей
- Откуда: ryazan
- Контактная информация:
Re: mesa 5i20 + 7i33 подключить аналоговый привод
Теперь не будет, поправил. Диод один забыл перевернуть.
-
tuumanov
- Новичок
- Сообщения: 10
- Зарегистрирован: 10 фев 2013, 20:32
- Репутация: 0
- Контактная информация:
Re: mesa 5i20 + 7i33 подключить аналоговый привод
подключил аналоговый привод к mesa 5i20 без 7i33. 6 шт разных станков . проблем нет.
- Nick
- Мастер
- Сообщения: 22776
- Зарегистрирован: 23 ноя 2009, 16:45
- Репутация: 1735
- Заслуга: Developer
- Откуда: Gatchina, Saint-Petersburg distr., Russia
- Контактная информация:
Re: mesa 5i20 + 7i33 подключить аналоговый привод
А как подключал? У 5i20 выход же 0..5 вольт...
-
tuumanov
- Новичок
- Сообщения: 10
- Зарегистрирован: 10 фев 2013, 20:32
- Репутация: 0
- Контактная информация:
Re: mesa 5i20 + 7i33 подключить аналоговый привод
Выход(pwm-enable) через оптопару,реле-деблокировка привода
Выход(pwm-pulse) и выход(pwm-dir) через 2оптопары-аналоговое задание.питание оптопар( +15,-15)в от привода.
Плата 35*80 мм. 24 оптопары-4энкодера и 4 канала упр.
Выход(pwm-pulse) и выход(pwm-dir) через 2оптопары-аналоговое задание.питание оптопар( +15,-15)в от привода.
Плата 35*80 мм. 24 оптопары-4энкодера и 4 канала упр.
- antoxa-kylibin
- Мастер
- Сообщения: 786
- Зарегистрирован: 22 июн 2017, 13:18
- Репутация: 107
- Настоящее имя: Антон
- Откуда: г. Воронеж
- Контактная информация:
Re: mesa 5i20 + 7i33 подключить аналоговый привод
В pncconf не совсем корректно работает тест осей. Для более точной настройки надо уже на созданном конфиге запускать утилиту halscope и в ней выводить ключевые параметры, по которым можно понять что происходит с системой. Например, заданная скорость, фактическая скорость и ошибка рассогласования если режим управления по скорости используется..... И нужно триггер настроить, чтобы halscope в автомате мог графики строить, если пошевелить осью... Может я в чем то ошибаюсь, но общий принцип такой.roach писал(а): ↑01 авг 2011, 12:05 нашел вот такую штуку http://www.linuxcnc.org/component/optio ... 0/lang,ru/
завтра попробую и отпишусь.
но странно все равно, почему в тесте все замечательно крутится.
