CO2 лазер 80W 1250х750
-
Tarac
- Кандидат
- Сообщения: 47
- Зарегистрирован: 27 ноя 2019, 20:36
- Репутация: 2
- Настоящее имя: Тарас
- Контактная информация:
CO2 лазер 80W 1250х750
Доброго времени суток.
Предыстория. Сначала было желание. Желание делать хорошие качественные игрушки для детей. Затем была встреча одноклассников. Как оказалось моя одноклассница занимается центрами развития детей и ей для работы требуется целая куча всяких мелочей: фигурки, цифры, буквы ..... Причем это все в разных комбинациях и из разных материалов. Часть этого они делали сами, часть заказывали на стороне.
Тогда появилась идея объединить мои желания и её потребности. Решили, что для полного счастья нам не хватает лазерного станка. После нескольких дней штудирование интернет ресурсов на эту тему, идея с диодным лазером отпала сразу, потом отпала идея купить готовый станок, поскольку что-то приличное стоит совсем не прилично, а работать с дешевым китайским инструментом я не люблю.
Поэтому решил сделать станок сам.
Два месяца чтения тем данного форума. Спасибо всем кто делится здесь своими мыслями и опытом.
Затем примерно месяц на черновой проект и окончательное выяснение своих хотелок.
Итак.
Нужен СО2 лазерный станок мощностью 60-80Вт.
Рабочее поле - сначала планировал 900х600, но аптетит приходит во время еды, и из-за габаритов лазерной трубы, поле выросло до 1250х750 с возможностью протяжки листовых материалов.
Задача широкогранная, резать всё что смогу порезать (фанера до 6мм), и гравировка на всем на чем смогу.
Проект разрабатывал в ArchiCad, мне так проще и быстрее. Проект сырой, без мелочей, которые будут подгоняться во время сборки.
Рама - стальная профильная труба 40х40х2 (дешевле и к тому же я решил освоить профессию сварщика).
По стальной раме смонтирую алюминиевые трубы 60х60х4 для оси Y. Для выставления вровень и набора необходимой высоты под трубы смонтирую алюминиевые подложки 100х60х10.
Ось Х - труба алюминиевая 50х50х3.
Направляющие - Hiwin-15 каретки - hiwin QHH-15.
Рабочий стол - ламели 8х30 с шагом 25 (50) мм, если будет мало, поперек натяну стальную проволоку, думаю получится нечто похожее на сотовый стол.
Стол не подъемный, хотя возможность отрегулировать и опустить на пару см. будет.
Двигатели шаговые. Еще не определился, или 3DM683 + 573S09 3DM683 + 573S15, или EM705 + 57HS09 EM705 + 57HS22. Возможно кто-то посоветует, что лучше?
Контроллер скорее всего Ruida RDC6442G
Корпус станка обшию или стальным листом или алюминиевым композитом.
Вытяжку сделаю сразу с середины корпуса, без зонта под столом.
Чиллер - пивной охладитель или кондиционер.
На данный момент часть механики уже есть, часть в дороге. Начинаю делать каркас.
По возможности буду описывать процесс, задавать вопросы.
Предыстория. Сначала было желание. Желание делать хорошие качественные игрушки для детей. Затем была встреча одноклассников. Как оказалось моя одноклассница занимается центрами развития детей и ей для работы требуется целая куча всяких мелочей: фигурки, цифры, буквы ..... Причем это все в разных комбинациях и из разных материалов. Часть этого они делали сами, часть заказывали на стороне.
Тогда появилась идея объединить мои желания и её потребности. Решили, что для полного счастья нам не хватает лазерного станка. После нескольких дней штудирование интернет ресурсов на эту тему, идея с диодным лазером отпала сразу, потом отпала идея купить готовый станок, поскольку что-то приличное стоит совсем не прилично, а работать с дешевым китайским инструментом я не люблю.
Поэтому решил сделать станок сам.
Два месяца чтения тем данного форума. Спасибо всем кто делится здесь своими мыслями и опытом.
Затем примерно месяц на черновой проект и окончательное выяснение своих хотелок.
Итак.
Нужен СО2 лазерный станок мощностью 60-80Вт.
Рабочее поле - сначала планировал 900х600, но аптетит приходит во время еды, и из-за габаритов лазерной трубы, поле выросло до 1250х750 с возможностью протяжки листовых материалов.
Задача широкогранная, резать всё что смогу порезать (фанера до 6мм), и гравировка на всем на чем смогу.
Проект разрабатывал в ArchiCad, мне так проще и быстрее. Проект сырой, без мелочей, которые будут подгоняться во время сборки.
Рама - стальная профильная труба 40х40х2 (дешевле и к тому же я решил освоить профессию сварщика).
По стальной раме смонтирую алюминиевые трубы 60х60х4 для оси Y. Для выставления вровень и набора необходимой высоты под трубы смонтирую алюминиевые подложки 100х60х10.
Ось Х - труба алюминиевая 50х50х3.
Направляющие - Hiwin-15 каретки - hiwin QHH-15.
Рабочий стол - ламели 8х30 с шагом 25 (50) мм, если будет мало, поперек натяну стальную проволоку, думаю получится нечто похожее на сотовый стол.
Стол не подъемный, хотя возможность отрегулировать и опустить на пару см. будет.
Двигатели шаговые. Еще не определился, или 3DM683 + 573S09 3DM683 + 573S15, или EM705 + 57HS09 EM705 + 57HS22. Возможно кто-то посоветует, что лучше?
Контроллер скорее всего Ruida RDC6442G
Корпус станка обшию или стальным листом или алюминиевым композитом.
Вытяжку сделаю сразу с середины корпуса, без зонта под столом.
Чиллер - пивной охладитель или кондиционер.
На данный момент часть механики уже есть, часть в дороге. Начинаю делать каркас.
По возможности буду описывать процесс, задавать вопросы.
- ilya37rus
- Мастер
- Сообщения: 509
- Зарегистрирован: 16 сен 2017, 23:19
- Репутация: 24
- Настоящее имя: Илья
- Контактная информация:
Re: CO2 лазер 80W 1250х750
Вытяжку посередине ссзади (а то валится в вентилятор будет)? Мне нравится труба на портале и еще ставлю на х один мотор с 2мя валами 23 nema 112 mm , а на головку 56 mm , ремни ставлю напрямую без редукторов
-
Tarac
- Кандидат
- Сообщения: 47
- Зарегистрирован: 27 ноя 2019, 20:36
- Репутация: 2
- Настоящее имя: Тарас
- Контактная информация:
Re: CO2 лазер 80W 1250х750
Да, вытяжка в задней стенке корпуса. Я имел в виду, что воздух будет вытягиваться со всего внутренего пространства, обрезки падают на дно корпуса, спереди две дверки на магнитах, если нужно дверки открыл(снял) - почистил.
Труба не на потрале, сейчас его вес ~ 3,5кг, если добавить ещё 15кг про гравировку, думаю, можно забыть.
Про движки не понял. Зачем на ось Х два вала?
Редукторы : ось У 1:3, ось Х 1:2(хотя в в том наборе, что я брал 1:3, поменяю шкив с 72 на 48).
Труба не на потрале, сейчас его вес ~ 3,5кг, если добавить ещё 15кг про гравировку, думаю, можно забыть.
Про движки не понял. Зачем на ось Х два вала?
Редукторы : ось У 1:3, ось Х 1:2(хотя в в том наборе, что я брал 1:3, поменяю шкив с 72 на 48).
- ilya37rus
- Мастер
- Сообщения: 509
- Зарегистрирован: 16 сен 2017, 23:19
- Репутация: 24
- Настоящее имя: Илья
- Контактная информация:
Re: CO2 лазер 80W 1250х750
при гравировке то движется только голова быстро то, а портал еле еле
ну не обязательно на Х, может и на У, я имел ввиду что портал то тянется ремнями с 2х сторон )
ну не обязательно на Х, может и на У, я имел ввиду что портал то тянется ремнями с 2х сторон )
-
arkhnchul
- Мастер
- Сообщения: 1773
- Зарегистрирован: 01 фев 2016, 13:56
- Репутация: 339
- Откуда: москва
- Контактная информация:
Re: CO2 лазер 80W 1250х750
по мелочам
длинную поперечную трубу посередине между ног я б убрал - не то чтобы там нужна была особенная жесткость, зато она будет мешать в случае надобности сунуть туда чего-то габаритное (со снятыми ламелями) для гравировки.
мелкие поперечинки сзади раздвинуть до креплений лазерной трубки
длинную поперечную трубу посередине между ног я б убрал - не то чтобы там нужна была особенная жесткость, зато она будет мешать в случае надобности сунуть туда чего-то габаритное (со снятыми ламелями) для гравировки.
мелкие поперечинки сзади раздвинуть до креплений лазерной трубки
-
Tarac
- Кандидат
- Сообщения: 47
- Зарегистрирован: 27 ноя 2019, 20:36
- Репутация: 2
- Настоящее имя: Тарас
- Контактная информация:
Re: CO2 лазер 80W 1250х750
На счет длинной поперечины согласен. В проэкте я её оставил, все равно приваривать буду в последнюю очередь, на месте будет понятниее нужна она там или нет. Труба будет стоять на отдельных алюминиевых проставках, я их еще не прорисовывал, так как пока не пришли крепления труб.
- ilya37rus
- Мастер
- Сообщения: 509
- Зарегистрирован: 16 сен 2017, 23:19
- Репутация: 24
- Настоящее имя: Илья
- Контактная информация:
Re: CO2 лазер 80W 1250х750
на 3d принтере выходит дешевле напечатать, чем покупатьTarac писал(а):На счет длинной поперечины согласен. В проэкте я её оставил, все равно приваривать буду в последнюю очередь, на месте будет понятниее нужна она там или нет. Труба будет стоять на отдельных алюминиевых проставках, я их еще не прорисовывал, так как пока не пришли крепления труб.
-
Tarac
- Кандидат
- Сообщения: 47
- Зарегистрирован: 27 ноя 2019, 20:36
- Репутация: 2
- Настоящее имя: Тарас
- Контактная информация:
Re: CO2 лазер 80W 1250х750
Медленно, но уверенно.
)
Комплектующие уже почти все собрал, кроме трубки с блоком питания и некоторых мелочей.
Каркас тоже, можно сказать, готов. Несколько мелочей доделать, зачистить, покрасить и обшить.
Балки осей тоже сделаны, только еще не прикручивал направляющие подшипников.
Тему создал рано, думал будут какие-то вопросы, но пока, то интересовало, находил сам, да особых проблем и не возникало, кроме хронической нехватки времени на все свои хотелки.
Попутно осваивал профессии сварщика, токаря, фрезировщика.
Баловался с анодированием алюминиевых деталей.
Фотки время от времени делаю, но их надо перебрать, чтобы выставить. А времени на это сейчас нету. Так что появится немного свободного времени, тогда все опишу подробнее.
Комплектующие уже почти все собрал, кроме трубки с блоком питания и некоторых мелочей.
Каркас тоже, можно сказать, готов. Несколько мелочей доделать, зачистить, покрасить и обшить.
Балки осей тоже сделаны, только еще не прикручивал направляющие подшипников.
Тему создал рано, думал будут какие-то вопросы, но пока, то интересовало, находил сам, да особых проблем и не возникало, кроме хронической нехватки времени на все свои хотелки.
Попутно осваивал профессии сварщика, токаря, фрезировщика.
Баловался с анодированием алюминиевых деталей.
Фотки время от времени делаю, но их надо перебрать, чтобы выставить. А времени на это сейчас нету. Так что появится немного свободного времени, тогда все опишу подробнее.
-
Tarac
- Кандидат
- Сообщения: 47
- Зарегистрирован: 27 ноя 2019, 20:36
- Репутация: 2
- Настоящее имя: Тарас
- Контактная информация:
Re: CO2 лазер 80W 1250х750
Несколько фоток.
-
Tarac
- Кандидат
- Сообщения: 47
- Зарегистрирован: 27 ноя 2019, 20:36
- Репутация: 2
- Настоящее имя: Тарас
- Контактная информация:
Re: CO2 лазер 80W 1250х750
Итак, не прошло и года
.
Всем доброго времени суток.
Всем доброго времени суток.
-
Tarac
- Кандидат
- Сообщения: 47
- Зарегистрирован: 27 ноя 2019, 20:36
- Репутация: 2
- Настоящее имя: Тарас
- Контактная информация:
Re: CO2 лазер 80W 1250х750
Уже почти все собрано, и работает почти так как нужно.
Но есть несколько моментов которые не нравятся.
1. Труба Reci W2, высоковольтный блок DY-13. При настройке мощности лазера 70% рабочий ток трубы уже почти 30мА.
2. При юстировке один угол пришлось поднять на 3мм. Теперь рельсы стоят не параллельно, однако в третье зеркало луч попадает по центру во всех углах. Еще не придумал как это объяснить. По оси Y, луч по всей длине попадает в центр второго зеркала, то есть параллельный оси. Когда лазерная головка находится с левой стороны, тоже все в порядке, луч по всей длине оси Y попадает в центр третьего зеркала. Когда лазерную головку смещаю на другой край, дальше от второго зеркала, в самом дальнем углу луч попадает в центр, в верхнем правом углу бил выше почти на 3 мм от центра. Поднял правый верхний угол рельсы, попал в центр, но теперь даже не присматриваясь видно, что рельсы НЕ паралельны по высоте.
Возможно кто-то, что-то разумное подскажет?
3. При резке диагональных линий в начале появляется дуга, размер которой зависит от скорости. И смещаются координаты по Y, если головка несколько раз перемещался в этом направлении. Думаю дело в слабо натянутом ремни между мотором и приводным шкивом оси Y. Если мотор стоит на содержании и рукой крутить шкив вправо-влево, ощущается люфт.
Но есть несколько моментов которые не нравятся.
1. Труба Reci W2, высоковольтный блок DY-13. При настройке мощности лазера 70% рабочий ток трубы уже почти 30мА.
2. При юстировке один угол пришлось поднять на 3мм. Теперь рельсы стоят не параллельно, однако в третье зеркало луч попадает по центру во всех углах. Еще не придумал как это объяснить. По оси Y, луч по всей длине попадает в центр второго зеркала, то есть параллельный оси. Когда лазерная головка находится с левой стороны, тоже все в порядке, луч по всей длине оси Y попадает в центр третьего зеркала. Когда лазерную головку смещаю на другой край, дальше от второго зеркала, в самом дальнем углу луч попадает в центр, в верхнем правом углу бил выше почти на 3 мм от центра. Поднял правый верхний угол рельсы, попал в центр, но теперь даже не присматриваясь видно, что рельсы НЕ паралельны по высоте.
Возможно кто-то, что-то разумное подскажет?
3. При резке диагональных линий в начале появляется дуга, размер которой зависит от скорости. И смещаются координаты по Y, если головка несколько раз перемещался в этом направлении. Думаю дело в слабо натянутом ремни между мотором и приводным шкивом оси Y. Если мотор стоит на содержании и рукой крутить шкив вправо-влево, ощущается люфт.
-
Tarac
- Кандидат
- Сообщения: 47
- Зарегистрирован: 27 ноя 2019, 20:36
- Репутация: 2
- Настоящее имя: Тарас
- Контактная информация:
Re: CO2 лазер 80W 1250х750
Подручными средствами и лазерным нивелиром все отрихтовано, выровняно, выствлено в ноль. При перемещении головки по всему рабочему столу перепады повысоте не более 0,5мм. Помоему неплохо.
После юстировки второго зеркала, снова такая фигня.
Человеки помогите сообразить, как такое может быть. Второе и третье зеркало на одной балке и перемещаются в одной плоскости (проверено нивелиром). С первого во второе зеркало луч попадает в одну точку (правда не по средине зеркала), на всей длине перемищения.
Почему лучь "заваливаеться" в дальнем углу?
Почему лучь "заваливаеться" в дальнем углу?
-
Alex_kh
- Мастер
- Сообщения: 362
- Зарегистрирован: 03 сен 2019, 01:31
- Репутация: 37
- Настоящее имя: Александр
- Откуда: Харьков
- Контактная информация:
Re: CO2 лазер 80W 1250х750
Луч на гравитацию не реагирует.
Кривые опоры могут.
В дальнем углу просто наиболее хорошо виден перекос.
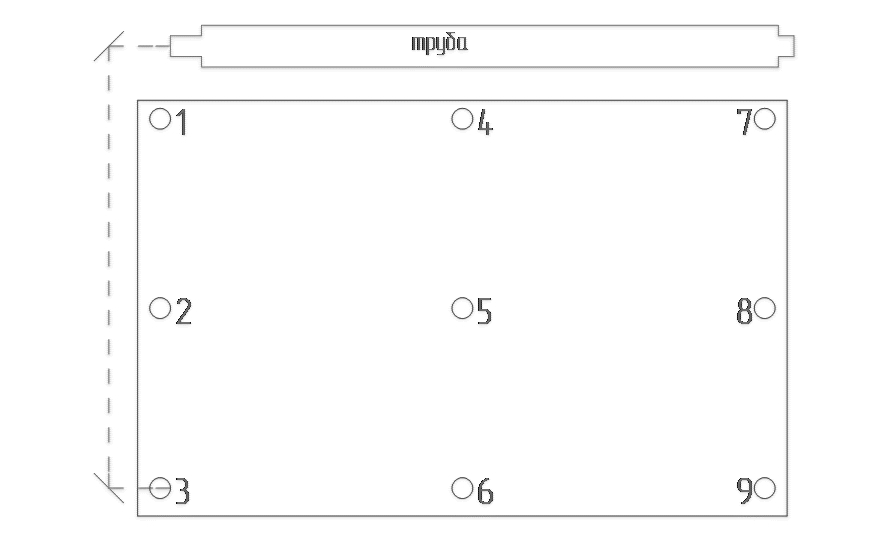
Начинай с У. Фото выстрела по мишени на втором зеркале в у-мин и у-мах в студию. Только по одной мишени, с минимальной мощностью - чтоб было видно смещение луча, если его нет (совсем нет) то это высота зеркал 2 и 3 разная.
Одинаковую высоту зеркал надо выставлять когда голова в дальнем углу, или наоборот: попал в дальнее зеркало по х-мах (точка 9), подъехал в точку 3, выстрелил в ту же мишень и сразу увидел перекос/смещение зеркала 2 по вертикальной оси. Если все идеально, то луч выставленный по точке 9 попадет туда же и в точке 3. Если начать с точки 3 то это "не очевидно".
П.с это самый легкий случай. У меня вот в ближе к лампе углу где-то цепляет и гравировка на фанере жирная получается, уже полгода не могу победить, максимум - это с 40х40 см уменьшил эту зону до 20х20см.
Если у тебя на фото точки подряд от 1 до 9, то:
1-3 в нуле, а дальше переносы оси х. Кривая ось х может быть?или стоять по углом к У? При помощи тригонометрии
Кривые опоры могут.
В дальнем углу просто наиболее хорошо виден перекос.
Начинай с У. Фото выстрела по мишени на втором зеркале в у-мин и у-мах в студию. Только по одной мишени, с минимальной мощностью - чтоб было видно смещение луча, если его нет (совсем нет) то это высота зеркал 2 и 3 разная.
Одинаковую высоту зеркал надо выставлять когда голова в дальнем углу, или наоборот: попал в дальнее зеркало по х-мах (точка 9), подъехал в точку 3, выстрелил в ту же мишень и сразу увидел перекос/смещение зеркала 2 по вертикальной оси. Если все идеально, то луч выставленный по точке 9 попадет туда же и в точке 3. Если начать с точки 3 то это "не очевидно".
П.с это самый легкий случай. У меня вот в ближе к лампе углу где-то цепляет и гравировка на фанере жирная получается, уже полгода не могу победить, максимум - это с 40х40 см уменьшил эту зону до 20х20см.
Если у тебя на фото точки подряд от 1 до 9, то:
1-3 в нуле, а дальше переносы оси х. Кривая ось х может быть?или стоять по углом к У? При помощи тригонометрии
и какой-то матери
можно посчитать смещения и их направления-
Tarac
- Кандидат
- Сообщения: 47
- Зарегистрирован: 27 ноя 2019, 20:36
- Репутация: 2
- Настоящее имя: Тарас
- Контактная информация:
Re: CO2 лазер 80W 1250х750
Не, ось ровная. Не прецизионная но ровная. Проверял с помощю лазерного нивелира. Когда голова катается по столу, перепад по вертикали 0.5мм.
Оси Y тоже ровные и в одной плоскости по вертикали. Тоде проверял нивелиром.
Мишени отстреляны попорядку 1-9.
Оси Y тоже ровные и в одной плоскости по вертикали. Тоде проверял нивелиром.
Мишени отстреляны попорядку 1-9.
-
Tarac
- Кандидат
- Сообщения: 47
- Зарегистрирован: 27 ноя 2019, 20:36
- Репутация: 2
- Настоящее имя: Тарас
- Контактная информация:
Re: CO2 лазер 80W 1250х750
Если сегодня успею, попробую выставить сначала по точках 7-9. А потом уже 1-3.
-
Tarac
- Кандидат
- Сообщения: 47
- Зарегистрирован: 27 ноя 2019, 20:36
- Репутация: 2
- Настоящее имя: Тарас
- Контактная информация:
Re: CO2 лазер 80W 1250х750
Второе зеркало
Третье
-
Tarac
- Кандидат
- Сообщения: 47
- Зарегистрирован: 27 ноя 2019, 20:36
- Репутация: 2
- Настоящее имя: Тарас
- Контактная информация:
Re: CO2 лазер 80W 1250х750
Все перекрутил, и еще раз проверил лазерным нивелиром.
Второе зеркало ездить горизонтально, +/-0,5мм на 900мм длины.
Голова по всей площади стола, 1250х900, ездит тоже горизонтально.
Как такое может быть?
Второе зеркало ездить горизонтально, +/-0,5мм на 900мм длины.
Голова по всей площади стола, 1250х900, ездит тоже горизонтально.
Как такое может быть?
-
Alex_kh
- Мастер
- Сообщения: 362
- Зарегистрирован: 03 сен 2019, 01:31
- Репутация: 37
- Настоящее имя: Александр
- Откуда: Харьков
- Контактная информация:
Re: CO2 лазер 80W 1250х750
Может всё-таки фотонно-гравитационный усилитель под угол станка закатился?
Если я правильно вижу, и бумажка метрологически верная, то мишень находится горизонтально во всех точках. Но луч в точке 3 ниже чем в точке 1. И если между точками 3 и 9 добавить ещё 3 точки, то луч будет опускаться постепенно на максимальной длине 1250+900=2150мм, а ты смотришь на расстоянии 900 и 1250 порознь.
Если луч нивелира показал плоскость на станке, а лазер уходит, значит зеркала.
Начни выставлять с 9 точки, а не с 1-2-3. После нее проверь 7 и 3.
Р.s. иначе хз.
Если я правильно вижу, и бумажка метрологически верная, то мишень находится горизонтально во всех точках. Но луч в точке 3 ниже чем в точке 1. И если между точками 3 и 9 добавить ещё 3 точки, то луч будет опускаться постепенно на максимальной длине 1250+900=2150мм, а ты смотришь на расстоянии 900 и 1250 порознь.
Если луч нивелира показал плоскость на станке, а лазер уходит, значит зеркала.
Начни выставлять с 9 точки, а не с 1-2-3. После нее проверь 7 и 3.
Р.s. иначе хз.