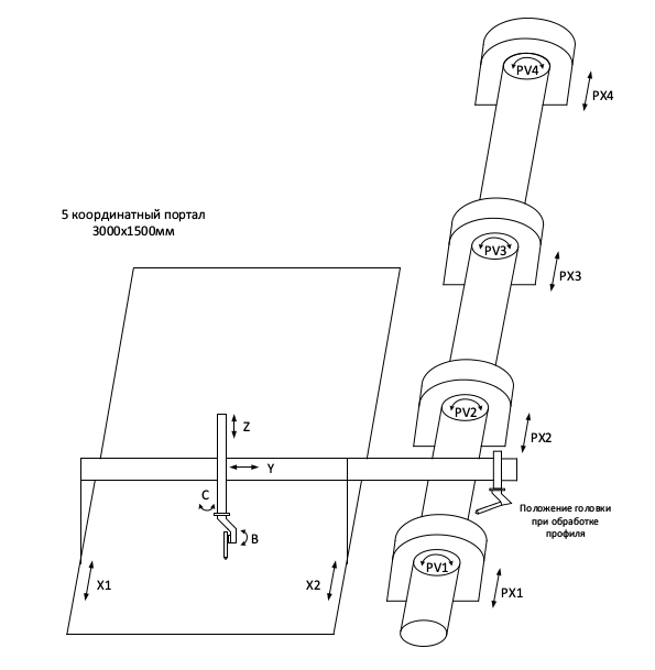
Для резки листа будет два сменных стола (показан только один), 4 передвижных патрона для резки профиля любого сечения вплоть до 300мм в сечении и длиной до 6 метров, ну и ещё механизм подачи профиля и снятия готовых деталей (на схеме не показаны).
Один из авторов зарегистрирован у нас на форуме - Anton1304. Мне предложили занятся электроникой и ПО. Ну и понемногу буду освещать весь процесс.
Пока в общих чертах построена станина, правда я её пока видел только на фотках (фотки со временем будут).
Управлять всем этим хозяйством планируется с помощью LinuxCNC и плат Mesa 5i25 - 2 шт. и 7i77 - 3 шт, количество осей можете сами посчитать на картинке.
продолжение следует..


