Первый с подвижным столом для дерева и цветмета 450*450
- woodcraft
- Новичок
- Сообщения: 24
- Зарегистрирован: 17 янв 2018, 23:21
- Репутация: 11
- Настоящее имя: Андрей
- Контактная информация:
Первый с подвижным столом для дерева и цветмета 450*450
приветствую.
Начал строить первый ЧПУ.. появились вопросы..
Описание станка, основные характеристики:ЧПУ фрезер 800*600 с подвижным столом (размер стола 450*450) , направляющие - валы на опоре SBR 20 , швп 1605 ( SFU1605), рама из стали, профильная труба 60*60*4. усиленная 60 уголком, пластины под направляющие - стальная плита толщиной 20 мм, шлифованная. сборка на болты + сварка. ШД планирую ставить 60BHH86-300B-21C. шпиндель планируется 2,2 кВт с водяным охлаждением.
Рабочее поле:450мм*450мм
Обрабатываемые материалы: планирую дерево , цветмет.
Чертежи, фото, видео станка: на данный момент в процессе ..
извините за качество фото.. снимал на телефон...
на ось Y направляющие ещё не ставил..
Хотел посоветоваться .. как Вы считаете , хватит ли жёсткости направляющих валов на опоре SBR 20 для фрезеровки алюминия и латуни с небольшой скоростью, до 1000 мм. мин. и сьёмом 0,1-0,2 за проход , время оброботки не важно. в основном это будет мелочь 50*50мм или 60мм*100 мм максимум , с точностью до 0,1 мм
или лучше поставить таки рельсы , почитав форум начал присматриваться к 15 хивинам Н класса... ставить С клас точности (они же дешовые китайцы с али) смысла не вижу.. похоже С класс от SBR 20 не намного лучше.. или я ошибаюсь?
Да кстати, пока ставил рельсы поимел немного головной боли.. положение направляющей гуляло от 5 соток до пары десятков в разных местах в зависимости от силы прижима основы болтом.. как оказалось китайцы ложили на аккуратность при сборке вала и основания.. поясню , когда я открутил вал от основания- я был в шоке.. столько частиц металлической стружки и мет. пыли разных фракций я не ожидал увидеть...
после очистки и сборки стало лучше...
направляющую выставлял по шлифованной с всех сторон балке , находящуюся между направляющими и установленной перпендикулярно оси Y .Сначала выставил один вал относительно балки по индикатору с контролем отклонений с боку и с верху, потом относительно него второй.. на данный момент получилось отклонение в пределах 4 соток, при длине вала 800 мм. так может быть или сие надо как-то исправлять?
Для устранения люфта на подшипниках предпринял вот такое решение..добавил 2 поджимных винта имеет ли сие смысл?
Начал строить первый ЧПУ.. появились вопросы..
Описание станка, основные характеристики:ЧПУ фрезер 800*600 с подвижным столом (размер стола 450*450) , направляющие - валы на опоре SBR 20 , швп 1605 ( SFU1605), рама из стали, профильная труба 60*60*4. усиленная 60 уголком, пластины под направляющие - стальная плита толщиной 20 мм, шлифованная. сборка на болты + сварка. ШД планирую ставить 60BHH86-300B-21C. шпиндель планируется 2,2 кВт с водяным охлаждением.
Рабочее поле:450мм*450мм
Обрабатываемые материалы: планирую дерево , цветмет.
Чертежи, фото, видео станка: на данный момент в процессе ..
извините за качество фото.. снимал на телефон...
на ось Y направляющие ещё не ставил..
Хотел посоветоваться .. как Вы считаете , хватит ли жёсткости направляющих валов на опоре SBR 20 для фрезеровки алюминия и латуни с небольшой скоростью, до 1000 мм. мин. и сьёмом 0,1-0,2 за проход , время оброботки не важно. в основном это будет мелочь 50*50мм или 60мм*100 мм максимум , с точностью до 0,1 мм
или лучше поставить таки рельсы , почитав форум начал присматриваться к 15 хивинам Н класса... ставить С клас точности (они же дешовые китайцы с али) смысла не вижу.. похоже С класс от SBR 20 не намного лучше.. или я ошибаюсь?
Да кстати, пока ставил рельсы поимел немного головной боли.. положение направляющей гуляло от 5 соток до пары десятков в разных местах в зависимости от силы прижима основы болтом.. как оказалось китайцы ложили на аккуратность при сборке вала и основания.. поясню , когда я открутил вал от основания- я был в шоке.. столько частиц металлической стружки и мет. пыли разных фракций я не ожидал увидеть...
после очистки и сборки стало лучше...
направляющую выставлял по шлифованной с всех сторон балке , находящуюся между направляющими и установленной перпендикулярно оси Y .Сначала выставил один вал относительно балки по индикатору с контролем отклонений с боку и с верху, потом относительно него второй.. на данный момент получилось отклонение в пределах 4 соток, при длине вала 800 мм. так может быть или сие надо как-то исправлять?
Для устранения люфта на подшипниках предпринял вот такое решение..добавил 2 поджимных винта имеет ли сие смысл?
- MX_Master
- Мастер
- Сообщения: 7490
- Зарегистрирован: 27 июн 2015, 19:45
- Репутация: 3113
- Настоящее имя: Михаил
- Откуда: Алматы
- Контактная информация:
Re: Первый с подвижным столом для дерева и цветмета 450*450
Даже китайские профильные рельсы неизвестного производства лучше SBR'ок.
Портал слабоват для цветных металлов. Поперёк движения стола надо сильнее укрепить.
Портал слабоват для цветных металлов. Поперёк движения стола надо сильнее укрепить.
- woodcraft
- Новичок
- Сообщения: 24
- Зарегистрирован: 17 янв 2018, 23:21
- Репутация: 11
- Настоящее имя: Андрей
- Контактная информация:
Re: Первый с подвижным столом для дерева и цветмета 450*450
рама оси Y : профильная труба 60*60+ уголок 60
что имеется в виду под "Поперёк движения стола надо сильнее укрепить." можно более детально?
спасибо.
что имеется в виду под "Поперёк движения стола надо сильнее укрепить." можно более детально?
спасибо.
-
FL@gMan
- Почётный участник

- Сообщения: 115
- Зарегистрирован: 25 янв 2017, 16:15
- Репутация: 18
- Настоящее имя: Дмитрий
- Контактная информация:
Re: Первый с подвижным столом для дерева и цветмета 450*450
-
exe
- Мастер
- Сообщения: 422
- Зарегистрирован: 25 дек 2015, 07:37
- Репутация: 105
- Настоящее имя: -
- Контактная информация:
Re: Первый с подвижным столом для дерева и цветмета 450*450
для фрез диаметром менее 4мм (а большими вы вряд ли будете работать)
при таком съеме с большим запасом хватит 1.5квт, шпинделя (0.1мм слишком мало, будет не резать, а тереть), однако жесткости для обработки бронзы на мой взгляд при такой конструкции будет не достаточно, имхо.
не требуется такой монстр, как:woodcraft писал(а): сьёмом 0,1-0,2 за проход
если конечно не планируете работать фрезами d10-20мм.woodcraft писал(а): шпиндель 2,2 кВт
при таком съеме с большим запасом хватит 1.5квт, шпинделя (0.1мм слишком мало, будет не резать, а тереть), однако жесткости для обработки бронзы на мой взгляд при такой конструкции будет не достаточно, имхо.
-
Sergei G
- Кандидат
- Сообщения: 43
- Зарегистрирован: 25 дек 2017, 15:15
- Репутация: 0
- Настоящее имя: Сергей
- Контактная информация:
Re: Первый с подвижным столом для дерева и цветмета 450*450
Все же направляющие тут слабое звено, рама неплохая, и всегда можно усилить.
- rage
- Мастер
- Сообщения: 1014
- Зарегистрирован: 13 окт 2014, 09:14
- Репутация: 621
- Настоящее имя: Константин
- Откуда: МО
- Контактная информация:
Re: Первый с подвижным столом для дерева и цветмета 450*450
Нет, шарики быстро "прокатают" канавку на валу.woodcraft писал(а):Для устранения люфта на подшипниках предпринял вот такое решение..добавил 2 поджимных винта
дополнительные винты
имеет ли сие смысл?
Лучше взять профильные рельсы.
- slavyan75
- Мастер
- Сообщения: 307
- Зарегистрирован: 16 авг 2016, 17:51
- Репутация: 31
- Настоящее имя: Вячеслав
- Откуда: Tilsit
- Контактная информация:
Re: Первый с подвижным столом для дерева и цветмета 450*450
более детально портал у вас, как и весь станок - по дереву и пластикам, но никак не по металлу, даж цветномуwoodcraft писал(а):можно более детально?
не верьте никому, уж мне то вы можете поверить...
- woodcraft
- Новичок
- Сообщения: 24
- Зарегистрирован: 17 янв 2018, 23:21
- Репутация: 11
- Настоящее имя: Андрей
- Контактная информация:
Re: Первый с подвижным столом для дерева и цветмета 450*450
приветствую
продолжаю сборку.. ось Z решил укрепить 2 уголками..
как и пластину с оси Х (куда крепиться ось Z ) также заморочился с гофрозащитой от пыли.. сделал из банерной ткани.. осталось довести до ума ось Y (подвижный стол).. доставить датчики, гофры и движок
и с механикой всё..
хотел спросить ..2 индуктивных датчиков на ось достаточно?
контролер вот такой https://refit.com.ua/ua/interfeisni-pla ... chv11.html
продолжаю сборку.. ось Z решил укрепить 2 уголками..
как и пластину с оси Х (куда крепиться ось Z ) также заморочился с гофрозащитой от пыли.. сделал из банерной ткани.. осталось довести до ума ось Y (подвижный стол).. доставить датчики, гофры и движок
и с механикой всё..
хотел спросить ..2 индуктивных датчиков на ось достаточно?
контролер вот такой https://refit.com.ua/ua/interfeisni-pla ... chv11.html
-
NikolayUa24
- Мастер
- Сообщения: 1407
- Зарегистрирован: 31 июл 2013, 20:05
- Репутация: 256
- Настоящее имя: Николай
- Контактная информация:
Re: Первый с подвижным столом для дерева и цветмета 450*450
Дороговато сравни цену Алиwoodcraft писал(а):https://refit.com.ua/ua/interfeisni-pla ... chv11.html
Страдания ведут человека к совершенству.
- Mamont
- Мастер
- Сообщения: 2005
- Зарегистрирован: 10 дек 2015, 12:21
- Репутация: 391
- Настоящее имя: Виталий
- Откуда: РБ Минск
- Контактная информация:
Re: Первый с подвижным столом для дерева и цветмета 450*450
Ось Y защищать в первую очередь, древесная пыль любит в ШВП забиваться. Даже если не гармошку, то хотя бы просто рулон с обоих сторон стола свешивался бы вниз.woodcraft писал(а): также заморочился с гофрозащитой от пыли.. сделал из банерной ткани..
Для таких щадящих режимов станка хватит с головой. Потом приноровишся делать программы агресивная черновая выборка карманов с припуском, а потом чистовой проход по контуру.woodcraft писал(а): Хотел посоветоваться .. как Вы считаете , хватит ли жёсткости направляющих валов на опоре SBR 20 для фрезеровки алюминия и латуни с небольшой скоростью, до 1000 мм. мин. и сьёмом 0,1-0,2 за проход
Только с латунью Л63 не связывайся, только Л59
- woodcraft
- Новичок
- Сообщения: 24
- Зарегистрирован: 17 янв 2018, 23:21
- Репутация: 11
- Настоящее имя: Андрей
- Контактная информация:
Re: Первый с подвижным столом для дерева и цветмета 450*450
понял , благодарю.
- woodcraft
- Новичок
- Сообщения: 24
- Зарегистрирован: 17 янв 2018, 23:21
- Репутация: 11
- Настоящее имя: Андрей
- Контактная информация:
Re: Первый с подвижным столом для дерева и цветмета 450*450
приветствую, почти закончил по механике.. пора браться за электрическую часть ...в связи с этим есть вара вопросов..
установлены шаговые двигатель SM57HT76-2804A
Потребляемый ток 2.8 A
напряжение 3,2 В
сопротивление , фаза. - 1,13
индуктивность фаза - 3,6
Шаг 1.8 градуса
Максимальный момент 1,89 Nm (x10 кг/см).
есть драйвера TB6600..
вот такие.. и Интерфейсная плата V5 вот такая.. и блоки питания:
Блок питания MeanWell Негерметичный 24V 350Вт
Блок питания Venom Негерметичный 12V 60Вт (для индуктивных датчиков)
и датчики :Индуктивный датчик LJ12A3-4-Z/BX NPN NO открытый
интересует пара моментов..
1. почитав форумы возникли сомнения в целесообразности использования данных драйверов..
- стоит ли применять драйвера TB6600 для двигателей SM57HT76-2804A?
-если они подходят - то хватит ли этого блока 24V 350Вт?
есть мнение что с этими драйверами будет снижение крутящего момента (движок будет останавливаться рукой).. а больше 24 В на них подавать не рекомендуют..ибо сгорят..
- если делать замену- то какие драйвера лучше использовать и какой блок лучше выбрать ? я так понимаю блок не менее 36 В
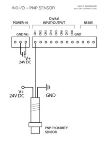
2. как правильно подключить датчик LJ12A3-4-Z/BX NPN NO открытый к данному интерфейсу?
3. по проводке..
на подключение ШД планирую использовать кабель МКЭШв 2х2х1..
для датчиков ШВВП 3*0,5.
как Вы считаете эти провода подходят?
4. места соединений можно соединять клеммниками или лучше паять?
вот такими буду очень благодарен за ответы.
установлены шаговые двигатель SM57HT76-2804A
Потребляемый ток 2.8 A
напряжение 3,2 В
сопротивление , фаза. - 1,13
индуктивность фаза - 3,6
Шаг 1.8 градуса
Максимальный момент 1,89 Nm (x10 кг/см).
есть драйвера TB6600..
вот такие.. и Интерфейсная плата V5 вот такая.. и блоки питания:
Блок питания MeanWell Негерметичный 24V 350Вт
Блок питания Venom Негерметичный 12V 60Вт (для индуктивных датчиков)
и датчики :Индуктивный датчик LJ12A3-4-Z/BX NPN NO открытый
интересует пара моментов..
1. почитав форумы возникли сомнения в целесообразности использования данных драйверов..
- стоит ли применять драйвера TB6600 для двигателей SM57HT76-2804A?
-если они подходят - то хватит ли этого блока 24V 350Вт?
есть мнение что с этими драйверами будет снижение крутящего момента (движок будет останавливаться рукой).. а больше 24 В на них подавать не рекомендуют..ибо сгорят..
- если делать замену- то какие драйвера лучше использовать и какой блок лучше выбрать ? я так понимаю блок не менее 36 В
2. как правильно подключить датчик LJ12A3-4-Z/BX NPN NO открытый к данному интерфейсу?
3. по проводке..
на подключение ШД планирую использовать кабель МКЭШв 2х2х1..
для датчиков ШВВП 3*0,5.
как Вы считаете эти провода подходят?
4. места соединений можно соединять клеммниками или лучше паять?
вот такими буду очень благодарен за ответы.
- sivolap36
- Мастер
- Сообщения: 489
- Зарегистрирован: 17 дек 2016, 21:30
- Репутация: 122
- Настоящее имя: Сергей
- Откуда: Воронеж
- Контактная информация:
Re: Первый с подвижным столом для дерева и цветмета 450*450
Ну картинка примерно так. Моторы не должны сгорать от напряжения, моторы горят от тока протекающие через обмотки. По этим драйверам вообще ничего не подскажу
- slavyan75
- Мастер
- Сообщения: 307
- Зарегистрирован: 16 авг 2016, 17:51
- Репутация: 31
- Настоящее имя: Вячеслав
- Откуда: Tilsit
- Контактная информация:
Re: Первый с подвижным столом для дерева и цветмета 450*450
ерунда, у меня при 32 В нормально работают 2 года ужеwoodcraft писал(а):а больше 24 В на них подавать не рекомендуют..ибо сгорят..
не верьте никому, уж мне то вы можете поверить...
- slavyan75
- Мастер
- Сообщения: 307
- Зарегистрирован: 16 авг 2016, 17:51
- Репутация: 31
- Настоящее имя: Вячеслав
- Откуда: Tilsit
- Контактная информация:
Re: Первый с подвижным столом для дерева и цветмета 450*450
мощности то хватит, но с такой напругой скоростя будут совсем печальные...woodcraft писал(а):хватит ли этого блока 24V 350Вт?
не верьте никому, уж мне то вы можете поверить...
-
nevkon
- Почётный участник

- Сообщения: 2477
- Зарегистрирован: 17 июл 2015, 10:25
- Репутация: 310
- Настоящее имя: Константин
- Откуда: Балаково (Саратовская обл.)
- Контактная информация:
Re: Первый с подвижным столом для дерева и цветмета 450*450
Для запуска пойдет. Даже пойдет немного поработать, а там если не будет хватать можно будет поставить нормальные драйвера с БП.
- woodcraft
- Новичок
- Сообщения: 24
- Зарегистрирован: 17 янв 2018, 23:21
- Репутация: 11
- Настоящее имя: Андрей
- Контактная информация:
Re: Первый с подвижным столом для дерева и цветмета 450*450
а насколько печальные? 700- 1000 мм в минуту будет?slavyan75 писал(а):мощности то хватит, но с такой напругой скоростя будут совсем печальные...
вот потому и спрашиваю про нормальные драйвера..т.к. по TB6600 информация разная в сети.. кто-то говорит нармальные.. кто-то плохие..nevkon писал(а):а там если не будет хватать можно будет поставить нормальные драйвера с БП.