Страница 1 из 5
MESA 5i25+7i77+SGDA04AS+SGMP-04A3A4
Добавлено: 07 мар 2015, 16:24
DArk
есть набор MESA 5i25+7i77 к ним Yaskawa SGDA04AS+SGMP-04A3A4 (таких парочка)
на самом деле 1,5 года назад было всё куплено и собирался Я из всего этого сделать токарный станочек, но процесс шёл медленно, дружба с линуксом Мне никак не давалась, а нужно было ещё и всё железо подружить между собой. в итоге ждать не было возможности и был куплен промышленный станок.
но запчасти остались. один из сервоприводов был торжественно прикручен на фрезер где успешно выполняет поставленные задачи. (
http://www.cnc-club.ru/forum/viewtopic.php?f=40&t=4799)
и Вот теперь Я хочу всё таки подружиться сам с линуксом и подружить линукс с Месой и приводом для того что бы всё запилить на фрезер и сделать его ЧПУ.
если честно то Я уже не помню с чего начинал и на чём остановился.
на данный момент
линукс стоит
платы подключены
7и77 имеет внешний источник питания 5В
от сервопривода к 7и77 идёт 6 проводов к 0 инкодеру (полтора года назад помню крутил вал двигателя и на экране менялись показания... сейчас не меняются)
Я помню были какие то сложности с конфигурациями и ипконфиг не видел 7и77 и не имел под него конфигураций. изменилось ли что то за это время?
помню остановился тогда из за того что сигнал +-10В который должен являться источником сигнала для сервопривода при припаивании проводов начинал работать как антенна и привод бесился...
с чего опять начинать?

----------------------------------------
схема подключения сервопака к месе в итоге такая

Re: MESA 5i25+7i77+SGDA04AS+SGMP-04A3A4
Добавлено: 07 мар 2015, 17:47
DArk
пока разобрался с сервой
так как ни серва ни входы/выходы без доп питания не работают подключил ещё 1 внешний источник питания 24В
на 7и77 горят 4 жёлтых и 1 красный диоды
по идее серва требует сразу 2 концевика вынь и полож
как стоит их подключать через месу или на прямую?
Re: MESA 5i25+7i77+SGDA04AS+SGMP-04A3A4
Добавлено: 07 мар 2015, 17:49
DArk
перезапустил линуксЦНЦ светодиод горевший красным начал мигать зелёным
Re: MESA 5i25+7i77+SGDA04AS+SGMP-04A3A4
Добавлено: 07 мар 2015, 17:55
DArk
с питанием 24В теперь началась запускаться конфигурация 5и25+7и77 которая до этого выдавала ошибки
теперь когда кручу вал двигателя меняются показания на экране
эх... теперь нужно управление опять соединять =) то на чём Я в прошлый раз завис =)
Re: MESA 5i25+7i77+SGDA04AS+SGMP-04A3A4
Добавлено: 07 мар 2015, 18:37
DArk
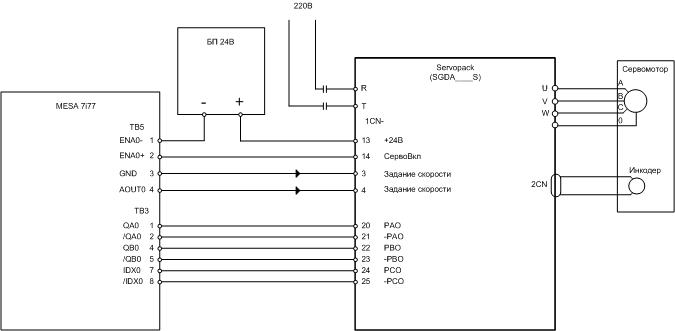
у месы подключать нужно на ТВ5
1 ENA0+
2 ENA0-
3 GND
4 AOUT0
на серве соответственно есть
VREF
SG
TREF
SG
Я так понимаю что
ENA0+ - VREF
ENA0- - TREF
GND - экран
AOUT0 - SG
Re: MESA 5i25+7i77+SGDA04AS+SGMP-04A3A4
Добавлено: 07 мар 2015, 19:33
DArk
теперь Мне нужно на
13 подать +24В
14 sv-on через выключатель или 7и77 -0В
16 n-ot должен быть концевик или 7и77 -0В
17 p-ot должен быть концевик или 7и77 -0В
как это правильно организовать через 7и77?

Re: MESA 5i25+7i77+SGDA04AS+SGMP-04A3A4
Добавлено: 09 мар 2015, 10:02
DArk
подключил пока концевики и сервовкл через переключатели
и собственно опять двадцать пять как в прошлый раз
по управлению идут помехи.
помню в прошлый раз предлагали повесить резистор но какой номинал и мощность? и между чем и чем припаивать?

в этом Я чё то не силён
Re: MESA 5i25+7i77+SGDA04AS+SGMP-04A3A4
Добавлено: 09 мар 2015, 14:26
Serg
DArk писал(а):Я так понимаю что
ENA0+ - VREF
ENA0- - TREF
GND - экран
AOUT0 - SG
а как вы пришли к этому пониманию? Описание соединяемых сигналов пробовали читать?..
Re: MESA 5i25+7i77+SGDA04AS+SGMP-04A3A4
Добавлено: 09 мар 2015, 15:54
DArk
UAVpilot писал(а):а как вы пришли к этому пониманию? Описание соединяемых сигналов пробовали читать?..
не знаю, пробовал, не очень Я шпрехаю по инглишу
Re: MESA 5i25+7i77+SGDA04AS+SGMP-04A3A4
Добавлено: 09 мар 2015, 16:59
mhael
DArk писал(а):не знаю, пробовал
а не пробовали переводчиком пользоваться?

Re: MESA 5i25+7i77+SGDA04AS+SGMP-04A3A4
Добавлено: 10 мар 2015, 09:27
DArk
mhael писал(а):а не пробовали переводчиком пользоваться?

"TB5 7I77s является разъем аналогового интерфейса привода. Это имеет как + -10 аналоговые выходы и включения привода соединение. Каждый драйвер интерфейса использует 4-контактный. TB5 3,5 2000 24-контактный съемный клеммный блок поставляется с шестью четыре контактный зажим вилки съемный винт.
TB5 PIN SIGNAL DIRECTION
1 ENA0- FROM 7I77
2 ENA0+ FROM 7I77
3 GND FROM 7I77
4 AOUT0 FROM 7I77"
и чем Мне это помогает?
Re: MESA 5i25+7i77+SGDA04AS+SGMP-04A3A4
Добавлено: 10 мар 2015, 09:57
dinkata
DArk писал(а):есть набор MESA 5i25+7i77 к ним Yaskawa SGDA04AS+SGMP-04A3A4
С Yaskawa SGDA04AS+SGMP-04A3A4 я не работал ,но с MESA 5i25+7i77 сейчас работаю проект.
По моему должно вьйглядит так
Конечно параметрьй SGDA04AS должни настроеньй для управление по аналоговом входе.
Re: MESA 5i25+7i77+SGDA04AS+SGMP-04A3A4
Добавлено: 10 мар 2015, 10:01
Nick
Ну и что вы так на человека набросились, он сам смог 7i77 настроить
DArk писал(а):ENA0+ - VREF
ENA0- - TREF
GND - экран
AOUT0 - SG
VREF - AOUT0 - задание по скорости
SG - GND - это я так понимаю сигнальная земля?
TREF - вообще не трогай, - это управленеи моментом. Или Vref или Tref.
ENA0+ -
ENA0- - А вот эти на SEN (5-6)
потом надо будет параметры ПИД подобрать, чтобы серва не дергалась.
Re: MESA 5i25+7i77+SGDA04AS+SGMP-04A3A4
Добавлено: 10 мар 2015, 10:19
DArk
спасибо, вечерком попробую
Re: MESA 5i25+7i77+SGDA04AS+SGMP-04A3A4
Добавлено: 10 мар 2015, 12:37
Serg
DArk писал(а):и чем Мне это помогает?
Именно это мало чем поможет. А вот если почитать дальше...
Nick писал(а):Ну и что вы так на человека набросились, он сам смог 7i77 настроить

Ну можно-же осилить 60 страничек документации по 7i77, из которых 2/3 - картинки и таблички?..
Потом, когда спалил-бы аналоговые выходы, читать было-бы уже поздно.
Nick писал(а):ENA0+ -
ENA0- - А вот эти на SEN (5-6)
Так не будет работать. Надо на 13 и 14 соотв.
Re: MESA 5i25+7i77+SGDA04AS+SGMP-04A3A4
Добавлено: 10 мар 2015, 16:24
DArk
в общем Я переключил
ENA0+ - +24(13)
ENA0- - SV-ON (14)
GND - SG(4)
AOUT0 - VREF (3)
в какой момент на выходе месы должны появляться сигналы?
когда Я включаю в проге кнопку вкл ничего не происходит на выходах ничего нет...
Я по любому что то делаю не так

Re: MESA 5i25+7i77+SGDA04AS+SGMP-04A3A4
Добавлено: 10 мар 2015, 16:28
SVP
Рекомендую сразу спаять провод для сигмавина.
После этого на время отладки можно будет отключить все алармы связанные с движением, т.е. не подавать на кучу пинов 24в.
И подвигать всё это в ручном режиме.
А главное - увидеть крайне полезные алармы.
Энкодеры с сервы насколько я помню заводятся в сервопак, а из него сигналы энкодеров заводятся в месу, т.е. они транзитом идут.
Но тут могу ошибаться, давно это было.
Re: MESA 5i25+7i77+SGDA04AS+SGMP-04A3A4
Добавлено: 10 мар 2015, 16:31
DArk
по поводу SEN +5В ... у Меня на разъёме месы где инкодер подключён как раз два разъёма не задействованы, там как раз про какие то 5В написано это не про них?
Re: MESA 5i25+7i77+SGDA04AS+SGMP-04A3A4
Добавлено: 10 мар 2015, 16:34
DArk
SVP писал(а):Рекомендую сразу спаять провод для сигмавина.
ну у Меня есть переходник и конвертер ком-усб и Я на соседнем компе смотрю что там с сервой происходит
с сервы обратная связь мимоходом идёт в месу ... собственно только она у Меня сейчас и работает =)))
Re: MESA 5i25+7i77+SGDA04AS+SGMP-04A3A4
Добавлено: 10 мар 2015, 18:35
DArk
а сколько и каких файлов конфигурации должно быть?
у Меня сейчас их 3 + 1 бэкап
5i25-7i77.ini
hm2-servo7i77.hal
hm2-servo.var
hm2-servo.var.bak
без любого не запускается
хотел их содержимое приложить но виндовский блокнот их очень некрасиво открывает
